LOCKEY 2835 Keyless Lock Adapter Instruction Manual
NOTE: READ INSTRUCTIONS COMPLETELY AND CHECK ALL APPLICABLE CODES BEFORE INSTALLING. REFER TO THE 2835 INSTRUCTIONS INCLUDED WITH THE 2835 LOCK FOR INFORMATION ON USING THE 2835 LOCK AND CHANGING THE CODE.
PART 1: INSTALLING THE ADAPTER HOUSING

Figure 1
- Determine whether the gate is set up in Configuration A or Configuration B (Figure 1). Hold the Adapter Housing to the outside surface of the gate frame at the desired height, and mark the centerline of the Adapter Housing (Figure 2). Mark the top and bottom holes for the hex standoffs, as well as the spindle hole near the lower hex standoff hole (Figure 3).

Figure 2
Figure 3 - Hold the Adapter Housing to the inside surface of the gate frame to use it as a template for marking the holes, and align with the centerline marked in Step 1 (Figure 4). Mark the top and bottom holes for the hex standoffs, as well as the spindle hole near the lower hex standoff hole. The holes marked in this step should be aligned with the holes marked in Step 1.

- From the outside surface of the gate, drill the (2) hex standoff holes (5/16″ diameter min.) and the (1) spindle hole (1/2″ diameter min.) marked in Step 1. From the inside surface of the gate, drill the (2) hex standoff holes and the (1) spindle hole marked in Step 2. At this point, there should be (3) holes that pass all the way through the gate, allowing the 2835 Outside Body and Inside Body to be connected in later steps.

Figure 5 - Hold the Adapter Housing to the outside surface of the gate and aligned with the clearance holes. Using (3) #8 x 1″ flat head phillips screws, attach the Adapter Housing to the gate using the front countersunk hole and the side-mounting countersunk holes.
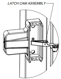
PART 2: INSTALLING THE LATCH CAM ASSEMBLY

Figure 6
- Make sure the Latch Cam Assembly is in the correct orientation (Figure 6). The Latch Cam Assembly configuration should match the gate configuration shown in Figure 1. To change the configuration of the Latch Cam Assembly, remove the pan head screw, properly reposition the lever, and secure with the pan head screw (Figure 7).

Figure 7 - Insert the Latch Cam Assembly into the Adapter Housing. With the Latch Cam Assembly turned on it’s side, with the bottom towards you, insert the lever portion into the Adapter Housing at the centerline (Figure 8). Once the Latch Cam Assembly has been properly inserted, turn the bottom side down, and place it so that the rim of the Latch Cam Assembly spindle hole properly fits into the spindle hole of the Adapter Housing (Figure 9). You should be able to rotate the Latch Cam Assembly up and down using your fingers.

Figure 8
Figure 9
PART 3: INSTALLING THE SPINDLE
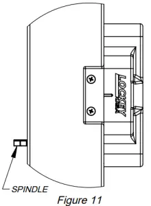
- Fully insert the spindle into the spindle holes in the Latch Cam Assembly, Adapter Housing, and gate (Figure 10). The spindle should protrude from the inside surface of the gate by about 3/4″ for the 2835 Single-Sided Combination, or 1/2″ for the 2835 Double-Sided Combination (Figure 11). See Figure 12 and Table 1 to determine the correct cut mark on the spindle based on your gate frame size and 2835 type being used. If the spindle sticks out too far, the latch will bind or seize. If the spindle does not protrude far enough, it will fail to engage with the inside handle. Remove the spindle, cut it to the appropriate length, and reinsert it in the proper orientation.

Figure 10
Figure 11
PART 4: INSTALLING THE 2835 OUTSIDE AND INSIDE BODIES

Figure 12
- Install the handles included with the 2835 lock on the outside body and inside body. Place the first handle on the outside body in the correct orientation, with the end of the handle pointing toward the gate hinges. Use the hex key included with the 2835 lock to secure the handle in place by adjusting the set screw in the handle (Figure 13). Repeat this process for the inside body.
- Attach the hex standoffs included with the 2835 lock to the top and bottom holes on the back side of the outside body (Figure 13).

Figure 13 - The 2835-ADAPTER comes with additional hex standoffs to use to reach as close as possible to the holes in the inside face of the gate. Included are (2) 45 mm (1.77″) long and (6) 25 mm (0.98″) long hex standoffs, as well as (2) M4 x 40 mm (1.57″), (1) M4 x 30 mm (1.18″), and (1) M4 x 20 mm (0.79″) flat head phillips screws. Included with the 2835 Double-Sided Combination are (2) M4 x 35 mm (1.38″) flat head phillips screws, and with the Single-Sided Combination are (1) M4 x 45 mm (1.77″) screw and (1) M4 x 35 mm screw. Select the appropriate hex standoffs and screws as shown in Table 1.
- Attach hex standoffs selected in Step 3 to the hex standoffs attached to the 2835 in Step 2. An example of a case using a 2835 Double-Sided Combination for a 3″ gate frame is shown in Figure 14. Do not attach the screws until Step 6.

Figure 142835 SINGLE-SIDED COMBINATION 2835 DOUBLE-SIDED COMBINATION Gate Frame Depth Spindle Cut Mark Hex Standoffs Per Hole Screw Length Spindle Cut Mark Hex Standoffs Per Hole Screw Length 1.75″ 13 (1) 25 mm 30 and 40 mm 14 (1) 25 mm 45mm 2″ 12 (1) 45 mm 20 and 30 mm 13 (1) 45 mm 35mm 2.5″ 10 (1) 45 mm 30 and 40 mm 11 (1) 45 mm 35mm 3″ 8 (1) 45 mm, (1) 25 mm 20 and 30 mm 9 (1)45 mm, (1) 25 mm 35mm 3.5″ 6 (1) 45 mm, (1) 25 mm 30 and 40 mm 7 (1) 45 mm, (1) 25 mm 45mm 4″ 4 (1) 45 mm, (2) 25 mm 20 and 30 mm 5 (1) 45 mm, (2) 25 mm 35 mm 5″ Do Not Cut (1) 45 mm, (3) 25 mm 20 and 30 mm 1 (1) 45 mm, (3) 25 mm 35 mm - Place the rubber gasket included with the 2835-ADAPTER onto the back side of the 2835 inside body. This rubber gasket is less wide than the rubber gaskets included with the 2835 locks.
- Insert the 2835 outside body into the Adapter Housing, with the hex standoffs passing through the hex standoff holes, and with the spindle properly oriented in the spindle hole (Figure 15). Hold the 2835 inside body up to the inside surface of the gate at the proper location, with the spindle inserted properly into the spindle hole of the inside body. Use the screws selected in Step 3 to attach the inside body to the outside body.

Figure 15 - Test the 2835 and Adapter Housing for proper function. Enter the code for the 2835 outside body and rotate the handle down. Turning the handle should rotate the Latch Cam Assembly, which can be seen through the rectangular hole in the inside face of the Adapter Housing. Releasing the handle should lower the Latch Cam Assembly back into the neutral position. Repeat this test for the 2835 inside body (Figure 16).

Figure 16
PART 5: INSTALLING THE KEEPER
- Make sure the Keeper is in the correct orientation (Figure 17). The Keeper configuration should match the gate configuration shown in Figure 1. To change the configuration of the Keeper, use a screwdriver to turn the adjustment screw (Figure 18) counterclockwise until the Keeper pin housing can be removed from the Keeper mounting plate (Figure 19). Turn the mounting plate 180 degrees, slide the pin housing back onto the dovetail of the mounting plate, and turn the screw clockwise until the pin housing is centered on the mounting plate (Figure 20).

Figure 17


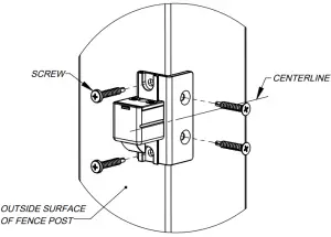
Figure 20 - Hold the Keeper onto the fence post at the proper height, with the centerline of the Keeper in line with the centerline of the Adapter Housing. Attach the Keeper to the post using the (2) #8 x 1″ pan head screws and the (2) #8 x 1″ flat head screws (Figure 21).

Figure 21 - The height of the Keeper pin housing may be adjusted up or down on the mounting plate by turning the adjustment screw used in Step 1. Rotating counterclockwise will raise the pin housing, and rotating clockwise will lower the housing. The guide mark on the side of the pin housing must be somewhere between the two guide marks on the side of the mounting plate. Adjust the height of the pin housing so that it may easily pass into the rectangular hole in the inside face of the Adapter Housing.
- Test the 2835 by closing the gate until the Keeper locks into the Adapter Housing. The handle must be in the neutral position when closing the gate. Enter the code for the 2835 outside body, rotate the handle down, and while holding the handle in that position, pull the gate open. Close the gate and repeat this test for the 2835 inside body.





































