
Door Knob
Welcome Guide
Contents:
Before getting started, ensure the package contains the following components:
Entry

- One (1) Lock Body
- One (1) Latch
- One (1) Strike Plate
- Two (2) Keys
- Two (2) Phillips head wood screws for the latch plate
- Two (2) Phillips head wood screws for the strike plate
- Two (2) Phillips head machine screws for attaching lock body
Recommended Tools:
| • 1″ (25 mm) Wood Drill Bit • 2-1/18″ (54 mm) Hole Saw • Level • Phillips Screwdriver • Hammer | • Pencil • Tape Measure • Safety Glasses • Tape • Wood Chisel |
IMPORTANT SAFEGUARDS
Read these instructions carefully and retain them for future use. If this product is passed to a third party, then these instructions must be included.
Before First Use
- Check for transport damage.
DANGER
Risk of suffocation! Keep any packaging materials away from children – these materials are a potential source of danger, e.g. suffocation.
Step 1:
MARK DOOR

- Fold the template at the dotted line and tape the template onto the interior side of the door.
- Mark hole for the location for the deadbolt and latch.
NOTICE It is recommended that you be at least 38″ from the floor.
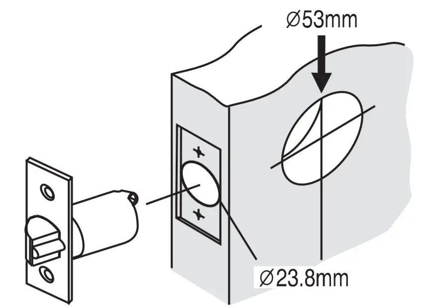
Step 2:
DRILL HOLES

- Drill a 2-1/18″ (54 mm) hole through the door face as marked for the deadbolt.
- Drill a 1″ (25 mm) hole as marked for the latch.
NOTICE DRILL THE 2-1/8” (54mm) HOLE FROM BOTH SIDES TO AVOID SPLITTING WOOD.
Step 3:
INSTALL LATCH

- Insert latch in hole keeping it parallel to face of the door.
- Outline faceplate with pencil and remove latch.
- Chisel 1/8″ (3 mm) deep or until latch face is flush with the door edge.
- Insert latch and tighten screws.
NOTICE Make sure the latch is inserted with the word “TOP” facing upward.
NOTICE NOTICE LATCH BOLT BEVEL MUST BE FACING THE SAME WAY THE DOOR CLOSES.
Step 4:
INSTALL STRIKER PLATE

- A. Close door to mark the horizontal centerline of the strike.
- B. Measure one-half of door thickness from doorstop to mark the vertical centerline of the strike. Drill 1”(25.4mm) hole, 1/2″ (12.7mm) deep at the intersection of horizontal and vertical center lines.
- C. Chisel out door jamb 3/32″ (2.4mm) deep or until strike plate sits flush with the door jamb.
- Tighten screws securely.
Step 5:
REMOVING INSIDE TRIM

- Insert the tip of the knob removing the tool into the hole on the bottom of the knob.
- Pushing down on the locking pin, pull back on the knob, remove the tool from the hole, and finish removing the knob.

- Adjust the lock assembly so the latch hole is in the center of the hole at the edge of the door by turning the faceplate clockwise or counterclockwise.
- Remove the lock assembly from the door.
Step 7:
INSTALLING DOOR KNOB ASSEMBLY AND LATCH

- Insert latch into hole on edge of the door.
- Push on the latch bolt so the bar prongs extend.
- Slide the lock assembly into the door hole and slide the latch prongs into the lock body assembly.
NOTICE Latch prongs must be installed correctly for the latch to work correctly.
Step 8:
INSTALLING INSIDE FACEPLATE

- Lift up on the spring clip and remove the inner plate from the inside faceplate.
- Slide the inner plate back onto the knob assembly.
- Screw the inner plate to the knob assembly using the two machine screws supplied.
- Replace the round faceplate.
Step 9:
REPLACING KNOB

- Align lug on the knob with narrow slot spindle and push knob until retainer “clicks” into a slot in the knob.
Step 10:
CHANGING LOCK HAND

- The lock is set for right-handed doors. To change to lock to left-handed doors.
(a) Turn outside knob approximately 60 degrees counterclockwise. To locate the spring piece, insert the spring tool in the hole and depress the spring piece, and slide the knob off.
(b) Turn knob 180 degrees and replace.
Cleaning and Maintenance
Cleaning
- To clean, wipe with a soft, slightly moist cloth.
- Never use corrosive detergents, wire brushes, abrasive scourers, metal, or sharp utensils to clean the product. Maintenance
- Check the components regularly to make sure all screws and bolts are tightened.
- Store in a cool and dry place away from children and pets, ideally in original packaging.
- Avoid any vibrations and shocks.
The Knob Removing Tool / Privacy Knob Safety Key

- The knob removing tool is used when removing the knob(s) from the knob assembly.
- Included in this kit is an emergency safety key that can be used to unlock the doorknob in the event it becomes locked from the inside.
- Insert the safety key into the slot and turn the key counterclockwise to unlock the doorknob.
Warranty Information
To obtain a copy of the warranty for this product:
US: Visit amazon.com/AmazonCommercial/Warranty
US: +1-866-216-1072
Feedback and Help
Love it? Hate it? Let us know with a customer review.
AmazonBasics is committed to delivering customer-driven products that live up to your high standards. We encourage you to write a review sharing your experiences with the product.
US: amazon.com/review/review-your-purchases#
US: amazon.com/gp/help/customer/contact-us
TEMPLATE
Suitable for door thickness:
1.3/8%35mm) to 1-3/4145mrn)

amazon.com/AmazonCommercial
MADE IN CHINA














