Recessed Canopy Fixture
Installation Guide
AC0003 Recessed Canopy Fixture
Dimensions shown in inches
WARNING: Before proceeding, read all instructions carefully to ensure proper and safe installation.
WARNING: Risk of fire or electrical shock.
WARNING: Disconnect power before installing or servicing.
WARNING: Ceiling – Mounted Recessed – Covered Ceiling Only
WARNING: Not intended for Petroleum Canopy Installation.
WARNING: All wiring is to be performed per National Electrical Code and local code by a qualified electrician.
Check to make sure the fixture consists of a recessed unit with power supply(s) mounted in the back housing.
Prepare fixture for hands-free wiring:
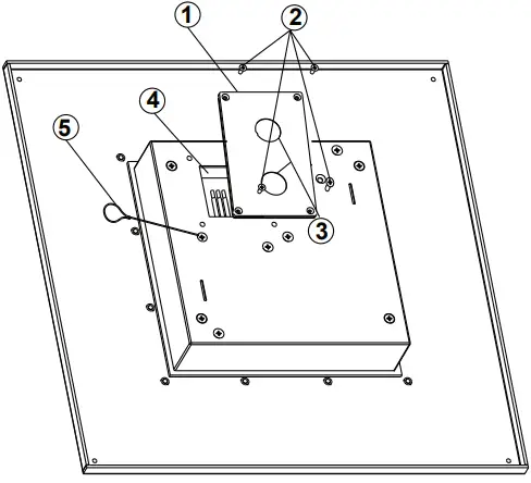
- Remove the cover shown in Figure 1 to gain access to the electrical box with the line, neutral and ground wires.
- Use the knockout shown in Figure 3 to fit conduit connector piping that supplies external AC power to the fixture.
- Locate a secure hanging point in the ceiling opening for the steel cable tether to hang the fixture from for hands-free wiring.

- Make wiring connections between supply wiring and conduit connector piping that supplies external AC power. Wire per National Electric Code and local code. Refer to the electrical diagram for further information.
- Connect the incoming electrical wires to the set of power wires on the LED power supply(s).
The surge suppressor is already included in the fixture.
Recessed Mount Installation: - Prepare covered ceiling openings. Locate the position of the ceiling opening where the enclosure will accommodate a 16-inch x 16-inch retrofit fixture. Position the fixture flush with the ceiling and secure using appropriate fasteners (not supplied). Four (4) drill points are provided on the face of the fixture.
dimensions shown in inches
http://www.venturelighting.com/
(800) 451-2606
7905 Cochran Road, Suite 300
Glenwillow, Ohio 44139 USA
E-mail: [email protected]
VentureLighting.com
© 2020 Venture Lighting International
Venture Lighting is a registered trademark
of Venture Lighting International.

Recessed Mount Installation:















