VENTURE LIGHTING ak0048 Select-Pro LED Canopy

Product Information
Venture Lighting’s LED Canopy Fixtures are designed for use in commercial, industrial, or business environments, providing reasonable protection against harmful interference. The equipment complies with the limits for a Class A digital device, pursuant to Part 15 Subpart B of the FCC Rules and a Class A lighting equipment, pursuant to Innovation, Science and Economic Development Canada’s CAN ICES-005 (A) / NMB-005 (A).
The package includes an LED fixture, mounting hardware, and installation instructions. The equipment must be installed and serviced per applicable codes and ordinances by qualified personnel, such as licensed electricians, familiar with the operation of the product and any hazards involved.The product has dip switches that are used to change wattage, color temperature, and enable/disable photocell. The wattage can be adjusted by changing the dip switch position. There are clear knockouts on both sides of the fixture to gain access to dip switches.
Before installation, it is essential to disconnect power from the luminaire and follow proper lockout/tagout procedures. If there is an existing luminaire, remove it and dispose of it per local requirements. Venture Lighting assumes no liability for injury, damages or losses of any kind that may arise from the improper, careless, or negligent installation, handling or use of this product.
For warranty information, refer to www.venturelighting.com/resources/warranties.
Before You Begin
Read These Instructions Completely and Carefully
UNPACKING
- Unpack and carefully examine the product.
- Report any damage and save all packing materials if any part(s) were damaged during shipping.
- Do not attempt to install or use this equipment if it is damaged.
INCLUDED IN THIS BOX
- LED fixture
- Mounting hardware
- Installation instructions
WARNING: RISK OF FIRE, ELECTRIC SHOCK, INJURY, OR PROPERTY DAMAGE
- Failure to follow these instructions or altering equipment could result in injury or damage and void warranty. Venture assumes no liability for injury, damages or losses of any kind that may arise from the improper, careless, or negligent installation, handling or use of this product.
- This equipment must be installed and serviced per applicable codes and ordinances by qualified personnel (ex. licensed electrician) familiar with the operation of the product and any hazards involved.
- Disconnect power to the equipment and allow to cool before installing or servicing.
- Handle sharp edges with care. To prevent wiring damage, do not expose wiring to sharp edges.
- Verify that all electrical connections have been properly made and the fixture is grounded to avoid potential electrical shocks.
- It is the installers responsibility to confirm the proper input voltage is used with the equipment.
- Do not handle energized equipment when hands are wet, when standing on wet surfaces, or in water.
- This fixture must be mounted securely to a structure to support the weight.
SUPPLIER’S DECLARATION OF CONFORMITY (SDoC)
- This equipment complies with the limits for a Class A digital device, pursuant to Part 15 Subpart B of the FCC Rules. These limits are designed to
provide reasonable protection against harmful interference when the equipment is operated in a commercial, industrial or business environment. - This equipment complies with the limits for a Class A lighting equipment, pursuant to Innovation, Science and Economic Development Canada’s CAN ICES-005 (A) / NMB-005 (A).
For warranty information refer to www.venturelighting.com/resources/warranties.
IMPORTANT SAFETY INFORMATION
- Operating temperature: -40°C to +40°C (-40°F to 104°F).
- Suitable for use in wet locations.
- All wiring and connectors used with this equipment shall be rated a minimum of 90°C (194°F)
Installation Instructions
Installation Instructions – Surface Mounting
- Disconnect power from the luminaire and follow proper lockout/tagout procedures before beginning installation or maintenance.
- Remove the existing luminaire (if present) and dispose of per local requirements.
- Remove both (2) clear knockouts from sides of fixture to gain access to dip switches. Dip switches are used to change wattage, color temperature and enable/disable photocell.
- Adjust dip switches position for desired settings. (Figure 1)

- Reinstall clear knockouts from Step 3.
- Remove quick mounting plate from back of fixture. (Figure 2)

- 6a. Remove single screw on the side.
- 6b. Pull plate and lift.
- 6c. Remove plate from fixture hanging ring.
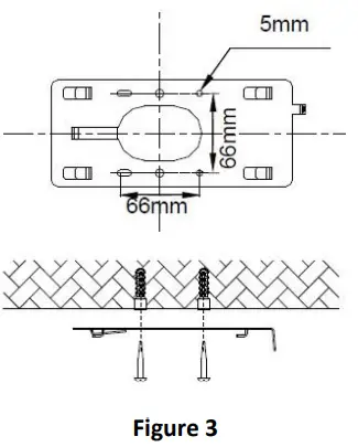
- Mount quick mount plate to junction box or desired surface. Use plate as a template. (Figure 3)

- Hang fixture on quick mounting plate by utilizing the hanging ring. (Figure 4)

- Connect the supply wires to junction box, or similar, as shown in wiring diagram below.
NOTE: The correct polarity of the dimming connections is essential to proper operation. If not using the dimming functionality, insulate the Dim(+) (purple) and Dim(-) (pink) wires separately (bare wires should not be left exposed). DO NOT connect the Driver Dim(+) (purple) to the Driver Dim(-) (pink) wire as the fixture will not operate correctly. - Swing fixture up flush with quick mounting plate. (Figure 5)

- Reinstall screw that was removed in Step 6.
- Power can now be restored to the system.
Installation Instructions – Pendant Mounting
- Disconnect power from the luminaire and follow proper lockout/tagout procedures before beginning installation or maintenance.
- Remove the existing luminaire (if present) and dispose of per local requirements.
- Remove both (2) clear knockouts from sides of fixture to gain access to dip switches. Dip switches are used to change wattage, color temperature and enable/disable photocell.
- Adjust dip switches position for desired settings. (Figure 1)
- Reinstall clear knockout from Step 3.
- Run wires through ¾” conduit to fixture. (Figure 6)

- Connect the supply wires as shown in the wiring diagram below.
NOTE: The correct polarity of the dimming connections is essential to proper operation.If not using the dimming functionality, insulate the Dim(+) (purple) and Dim(-) (pink) wires separately (bare wires should not be left exposed). DO NOT connect the Driver Dim(+) (purple) to the Driver Dim(-) (pink) wire as the fixture will not operate correctly - Screw fixture onto ¾” conduit. (Fixture 6)
- Power can now be restored to the system.
INPUT

QR SCAN

CONTACT
- Tell: (800) 451-2606
- Address: 6675 Parkland Blvd., Suite 100 Solon, Ohio 44139 USA
- E-mail: [email protected]
- VentureLighting.com



















