
LED Ceiling Canopy
CNP05AC
INSTALLATION SHEET
START FROM HERE
- Make sure POWER is COMPLETELY OFF at the fuse box
- Have your fixture installed by a qualified licensed electrician
- Prepare everything in a clear area
- Wear gloves at all time during this installation
- Read instructions carefully before you start assembly
- Keep this installation sheet for future reference
Technical Support: 1-855-855-8926

- Remove the canopy from it’s original packaging
- Remove the mounting plate (1c) from within the canopy (2a) by removing the decorative nuts (2c)
- Attach the mounting plate (1c) to the electrical junction box (1a) using the junction box screws (1e) provided in the hardware package
- Make sure to reinforce the wood behind the drywall and secure mounting plate (1c) to mounting surface with wooden screws (1g) and plastic anchors (1f) for extra support.
- To change fixture height, push and hold wire gripper (2g), slide wire to desired length and then release wire gripper (2g) to secure
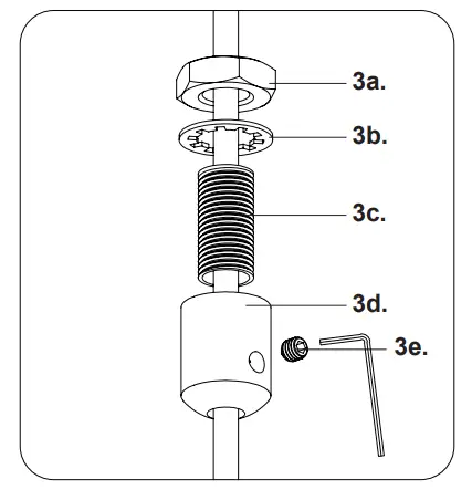
(Remove excess wire if necessary) - Wire strain relief (for thicker wire) (see illustration 1): Remove wire grippers (2g). Pull wire through nut (3a), washer (3b), threaded cylinder (3c) and wire strain relief (3d). Secure threaded cylinder (3c) to canopy (2a) with nut (3a) and washer (3b). Thread wire strain relief (3d) to threaded cylinder (3c). Slide wire to desired length by pushing and pulling and secure with set screw (3e) and allen key
- Make proper electrical connections (black to hot “L”, white to neutral “N”, ground to “GND”) with wire nuts (1b) provided in hardware package
- Align and insert mounting plate screws (1d) through holes on canopy (2a), secure with decorative nuts (2c)
Illustration 1 (Wire strain relief for thicker wires)

19054 28th Avenue Surrey, BC Canada V3Z 6M3
T: 604 538 7162 TF: 1-855 85 KUZCO F: 604 538 7196
W: kuzcolighting.com
20210429


















