VENTURE LIGHTING AM0005 LED Area Light Fixture

Before You Begin
Read These Instructions Completely and Carefully
Installation Using Square Pole of Round Pole Straight Arm

- STEP 1: Disconnect power from the luminaire and follow proper lockout/tagout procedures before beginning installation or maintenance.
- STEP 2: Remove the existing luminaire. Dispose of the lamp(s) and ballast(s) per local requirements.
- STEP 3: Use supply wire (min. 90°C) when connecting wire leads inside the junction box.
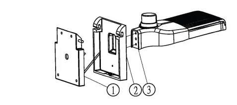
- STEP 4: Attach the mounting arm to the pole using the bolts and fasteners provided securing straight arm (2) to the outside of the pole and back plate (3) to the inside of the pole.
- STEP 5: Attach the fixture (1) to the mounting arm using the bolts and fasteners provided.
- STEP 6: Connect the fixture input leads to the supply lead wires.
- STEP 7: Install the shorting cap (or photocell) into the twist-lock receptacle on top of the fixture.
- STEP 8: Power can now be restored to the fixture.
Installation Using Adjustable Slipfitter

- STEP 1: Disconnect power from the luminaire and follow proper lockout/tagout procedures before beginning installation or maintenance.
- STEP 2: Remove the existing luminaire. Dispose of the lamp(s) and ballast(s) per local requirements.
- STEP 3: Use supply wire (min. 90°C) when connecting wire leads inside the junction box.
- STEP 4: Route the wiring through the slipfitter (1) and then into the fixture (4).
- STEP 5: Attach the slipfitter accessory onto the back of the fixture using the bolts and fasteners provided.
- STEP 6: Slide the slipfitter onto the pole/arm/tenon and tighten the set screws to secure the fixture in place.
- STEP 7: Install the shorting cap (or photocell) into the twist-lock receptacle on top of the fixture.
- STEP 8: Connect the fixture input leads to the supply lead wires.
- STEP 9: To aim the fixture as desired, remove the 2 screws from the angle gauge plate on the side of the slipfitter. Loosen the bolt inside the slipfitter, adjust the fixture as desired, then tighten the bolt to ensure the fixture stays in the desired position. Reinstall the 2 screws and angle gauge plate.
- STEP 10: Power can now be restored to the fixture.
Installation Using Mast Arm

- STEP 1: Disconnect power from the luminaire and follow proper lockout/tagout procedures before beginning installation or maintenance.
- STEP 2: Remove the existing luminaire. Dispose of the lamp(s) and ballast(s) per local requirements.
- STEP 3: Use supply wire (min. 90°C) when connecting wire leads inside the junction box.
- STEP 4: Route the wiring through the mast arm (1) and then into the fixture (2).
- STEP 5: Attach the mast arm onto the back of the fixture using the bolts and fasteners (3) provided.
- STEP 6: Slide the slipfitter onto the pole/arm/tenon and tighten the set screws (4) to secure the fixture in place.
- STEP 7: Install the shorting cap (or photocell) into the twist-lock receptacle on top of the fixture.
- STEP 8: Connect the fixture input lead wires to the supply lead wires.
- STEP 9: Restore power to the fixture.
Installation Using Wall Mount Plate

- STEP 1: Disconnect power from the luminaire and follow proper lockout/tagout procedures before beginning installation or maintenance.
- STEP 2: Remove the existing luminaire. Dispose of the lamp(s) and ballast(s) per local requirements.
- STEP 3: Use supply wire (min. 90°C) when connecting wire leads inside the junction box.
- STEP 4: Route the wiring through the mounting plate back (1) and secure the plate to the wall.
- STEP 5: Attach the front of the wall mount plate (2) to the fixture (3) using the bolts and fasteners provided.
- STEP 6: Route the wiring through the mounting plate into the fixture.
- STEP 7: Install the shorting cap (or photocell) into the twist-lock receptacle on top of the fixture.
- STEP 8: Connect the fixture input lead wires to the supply lead wires.
- STEP 9: Restore power to the fixture
WARNING
Risk of fire and electric shock
- Disconnect power from the luminaire and follow proper lockout/tagout procedures before beginning installation or maintenance. Contact a qualified electrician for installation.
- Venture Lighting’s Environ LED Area Lighting fixture installation requires knowledge of luminaire electrical systems. If not qualified, do not attempt installation. Contact a qualified electrician.
- To prevent wiring damage or abrasion, do not expose wiring to edges of sheet metal or other sharp objects.
CAUTION
- Fixture is for outdoor use and should not be used in areas of limited ventiliation or high-ambient temperature.
- Suitable of use in wet locations.
(877) 281-1233 6675 Parkland Blvd., Suite 100 Solon, Ohio 44139 USA
E-mail: [email protected] VentureLighting.com

© 2022 Venture Lighting International Venture Lighting is a registered trademarks of Venture Lighting International.



















