PROGRESS LIGHTING P550139 Series 3 Inch Directional LED Cylinder

PACKAGE CONTENTS


HARDWARE CONTENTS
not actual size
Safety Information
Please read and understand this entire manual before attempting to assemble, operate or install the product.
- CAUTION: Read instructions carefully and turn the electricity off at the main circuit breaker panel before beginning installation.
- CAUTION: Risk of fire. Min. 90°C supply conductors. Consult a qualified electrician to ensure the correct branch circuit conductor.
- WARNING: If any Special Control Devices are used with this fixture, follow instructions carefully to assure full compliance with N.E.C. requirements. If there are any questions, contact a qualified electrical contractor.
- CAUTION: All glass is fragile. Use care when handling glass shades and bulbs.
- WARNING – To comply with the National Electrical Code and Underwriters Laboratories requirements, when installed outdoors, or in wet locations, the edge of the wall plate coming in contact with the mounting surface must be sealed with a latex waterproof caulking to prevent water from entering the outlet box.
Preparation
- Before beginning installation, make sure all parts are included using the contents diagrams from page 1. If any part is missing or damaged, do not attempt to assemble, install or operate the product.
- Estimated assembly time: 30 minutes.
- Tools required for assembly (not included): Phillips screwdriver, pliers, wire stripper, safety glasses, electrical tape, ladder.
Care and Maintenance
Shut off the main power supply before cleaning the product or changing light bulbs. To clean, wipe with a damp cloth. Do not use abrasive cleaners or cleaners that contain alcohol.
Assembly Instructions
- Attach the mounting plate (BB) to the outlet box using the mounting screws supplied with the outlet box (not included). Route the screws through the mounting holes in the shorter bracket arm.

Hardware Used
- Strip 3/8″ of insulation from the electrical wire ends. Using wire nuts (AA), connect the white fixture wire to the white supply wire from the outlet box; connect the black fixture wire to the black supply wire.

Connect the fixture ground wire and supply ground wire using a wire nut or by fastening it to the ground screw on the mounting plate.
- Push all wire connections into the outlet box.

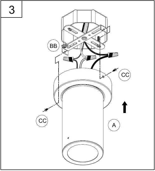
Attach fixture (A) to mounting plate (BB). Use a screw (CC) to secure it tightly.

FCC STATEMENT
This equipment has been tested and found to comply with the limits for a Class B digital device, pursuant to part 15 of the FCC Rules. These limits are designed to provide reasonable protection against harmful interference in a residential installation. This equipment generates, uses, and can radiate radio frequency energy and, if not installed and used in accordance with the instructions, may cause harmful interference to radio communications. However, there is no guarantee that interference will not occur in a particular installation. If this equipment does cause harmful interference to radio or television reception, which can be determined by turning the equipment off and on, the user is encouraged to try to correct the interference by one or more of the following measures:
- Reorient or relocate the receiving antenna.
- Increase the separation between the equipment and the receiver.
- Connect the equipment to an outlet on a circuit different from that to which the receiver is connected
- Consult the dealer or an experienced radio/lV technician for help.
Missing parts?
Please contact Customer Service at 1-800-447-1723 or [email protected], 8 am-8 pm (Eastern), Monday – Friday 93161849.

























