PROGRESS LIGHTING P710110-009/-31M 16 Inch LED Linear Vanity Light

PACKAGE CONTENTS
PART DESCRIPTION QUANTITY
A Fixture 1

HARDWARE CONTENTS (not actual size)

Safety Information
Please read and understand this entire manual before attempting to assemble, operate or install the product.
CAUTION: Read instructions carefully and turn electricity off at main circuit breaker panel before beginning installation. CAUTION: Risk of fire. Min. 90°C supply conductors. Consult a qualified electrician to ensure correct branch circuit conductor.
WARNING: If any Special Control Devices are used with this fixture, follow instructions carefully to assure full compliance with N.E.C. requirements. If there are any questions, contact a qualified electrical contractor.
CAUTION: All glass is fragile. Use care when handling glass shades and bulbs.
THIS PRODUCT MUST BE INSTALLED BY A PERSON FAMILIAR WITH THE CONSTRUCTION AND OPERATION OF THE PRODUCT AND THE HAZARDS INVOLVED, IN ACCORDANCE WITH THE APPLICABLE INSTALLATION CODE.
KEEP THESE INSTALLATION INSTRUCTIONS
Preparation
- Before beginning installation, make sure all parts are included using the contents diagrams from page 1. If any part is missing or damaged, do not attempt to assemble, install or operate the product.
- Estimated assembly time: 30 minutes.
- Tools required for assembly (not included): Phillips screwdriver, pliers, wire stripper, safety glasses, electrical tape, ladder.
Care and Maintenance
Shut off main power supply before cleaning product or changing light bulbs. To clean, wipe with damp cloth. Do not use abrasive cleaners or cleaners that contain alcohol.
Assembly Instructions
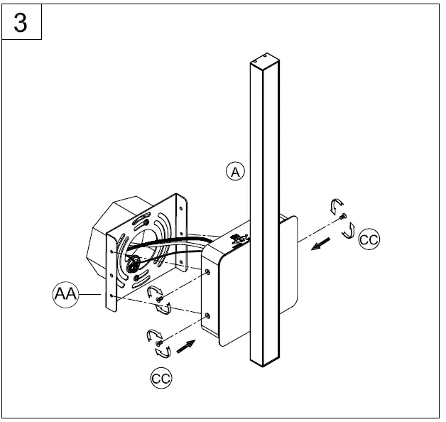
- The back plate {AA) comes assembled inside the canopy. First, detach the back plate from the canopy by removing the screws {CC). Make sure to save the screws for step 3.
Then attach the backplate onto the outlet box using the mounting screws supplied with the outlet box {not included).
- Strip 3/8″ of insulation from the electrical wire ends. Using wire nuts {BB), connect white fixture wire to the white supply wire from the outlet box; connect the fixture black wire to the black supply wire.
Connect the fixture ground wire and supply ground wire using a wire nut or by fastening to the ground screw on the back plate. Push all wire connections into the outlet box. - Attach fixture (A) to back plate (AA) using flat head screw (CC) to secure tightly.

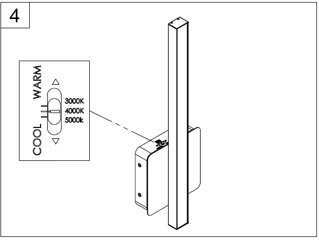
- Use CCT switch to select either 3000K, 4000K or S000K setting.

This equipment has been tested and found to comply with the limits for a Class B digital device, pursuant to part 15 of the FCC Rules. These limits are designed to provide reasonable protection against harmful interference in a residential installation. This equipment generates, uses and can radiate radio frequency energy and, if not installed and used in accordance with the instructions, may cause harmful interference to radio communications. However, there is no guarantee that interference will not occur in a particular installation. If this equipment does cause harmful interference to radio or television reception, which can be determined by turning the equipment off and on, the user is encouraged to try to correct the interference by one or more of the following measures:
- Reorient or relocate the receiving antenna.
- Increase the separation between the equipment and receiver.
- Connect the equipment into an outlet on a circuit different from that to which the receiver is connected
- Consult the dealer or an experienced radio/TV technician for help.
Any changes or modifications to this unit not expressly approved by the party responsible for compliance could void the user’s authority to operate the equipment.
THANK YOU for selecting Progress Lighting
We can assist you with questions regarding product information, assembly or missing parts
For warrant information, please refer to https://www.hubbell.com/proresslihtin/en/warranty


Connect the fixture ground wire and supply ground wire using a wire nut or by fastening to the ground screw on the back plate. Push all wire connections into the outlet box.


















