PROGRESS LIGHTING P550140 Directional Incandescent Cylinder

PACKAGE CONTENTS
- PART/DESCRIPTION/QUANTITY
- A/Fixture/1

- A/Fixture/1
ATTACH YOUR RECEIPT HERE
Purchase Date————–
HARDWARE CONTENTS (not actual size)

Safety Information
- Please read and understand this entire manual before attempting to assemble, operate or install the product.
- CAUTION: Read instructions carefully and turn electricity off at main circuit breaker panel before beginning installation.
- CAUTION: Risk of fire. Min. 90°C supply conductors. Consult a qualified electrician to ensure correct branch circuit conductor.
- WARNING: If any Special Control Devices are used with this fixture, follow instructions carefully to assure full compliance with
- N.E.C. requirements. If there are any questions, contact a qualified electrical contractor.
- CAUTION: All glass is fragile. Use care when handling glass shades and bulbs.
- WARNING To comply with the National Electrical Code and Underwriters Laboratories requirements, when installed outdoors, or in wet locations, the edge of the wall plate coming in contact with the mounting surface, must be sealed with a latex waterproof caulking to prevent water from entering the outlet box.
Preparation
- Before beginning installation, make sure all parts are included using the contents diagrams from page 1. If any part is missing or damaged, do not attempt to assemble, install or operate the product.
- Estimated assembly time: 30 minutes.
- Tools required for assembly (not included): Phillips screwdriver, pliers, wire stripper, safety glasses, electrical tape, ladder.
Care and Maintenance
Shut off main power supply before cleaning product or changing light bulbs. To clean, wipe with damp cloth. Do not use abrasive cleaners or cleaners that contain alcohol.
Assembly Instructions
- Attach mounting plate (BB) to outlet box using the mounting screws supplied with the outlet box (not incduded). Route the screws through the mounting holes in the shorter bracket arm.
Hardware Used

- Strip 3/8″ of insulation from the electrical wire ends. Using wire nuts (AA), connect white fixture wire to the white supply wire from the outlet box; connect the black fixture wire to the black supply wire.
Connect the fixture ground wire and supply ground wire using a wire nut or by fastening to the ground screw on the mounting plate.

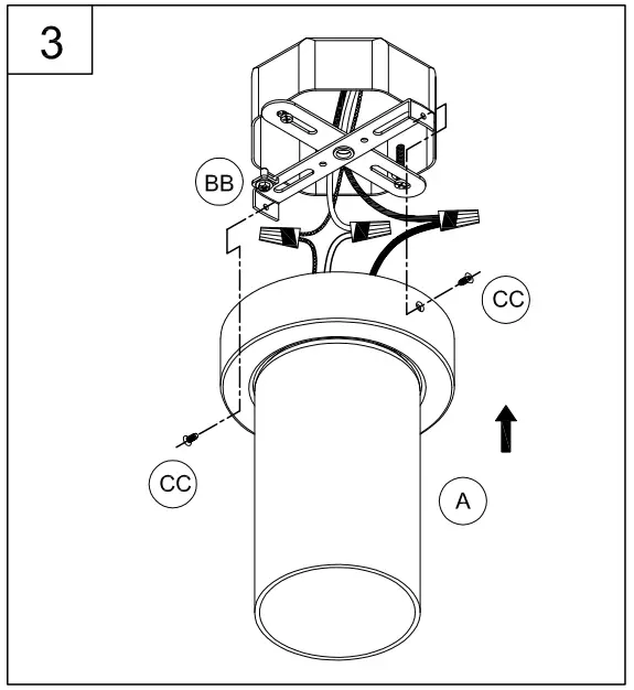
- Push all wire connections into the outlet box. Attach fixture (A) to mounting plate (BB). Use screw (CC) to secure tightly.


- Install one lamp (not included) to the fixture socket (A). Use MAX 60 WATTS, TYPE A19 LAMP

NOTE: This equipment has been tested and complies with the limits for a Class B digital device, according to Part 15 of the Regulations of
FCC
These limits are designed to offer reasonable protection against harmful interference in a residential installation. This equipment generates, uses and can radiate radio frequency energy, If it is not installed and used according to the instructions, it can cause harmful interference to radial communications. However, there is no guarantee that interference will not occur in a particular installation. If this equipment causes harmful interference to radio and television reception, what can determine whether to turn on and off the equipment, the user is urged to try to correct the interference by taking one or more and following measurements:
- Reorient or relocate the receiving antenna
- Increase the distance between the equipment and the receiver
- Connect the equipment to a power outlet on a different circuit to the one connected to the receiver
- Consult the distributor or a technician with experience in radio/TV installations
- Missing parts? Please contact Customer Service at 1-800-447-1723or
- [email protected], 8 am-8 pm (Eastern), Monday Friday




























