PROGRESS LIGHTING P560294 Series 6In Incandescent Square Cylinder Wall Mount

PACKAGE CONTENTS
| PART | DESCRIPTION | QUANTITY |
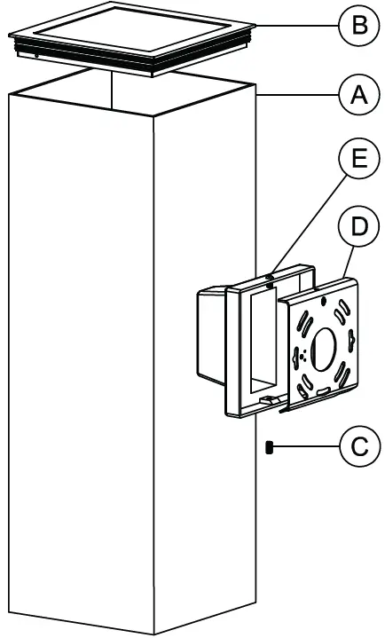
| A | Fixture | 1 |
| B | Top cover | 1 |
| C | Set screw | 1 |
| D | Mounting plate | 1 |
| E | Screw | 1 |
ATTACH YOUR RECEIPT HERE
Purchase Date ——
HARDWARE CONTENTS (not actual size)

Safety Information
Please read and understand this entire manual before attempting to assemble, operate or install the product.
CAUTION: Read instructions carefully and turn electricity off at main circuit breaker panel before beginning installation.
- Risk of fire. Min. 90°C supply conductors. Consult a qualified electrician to ensure correct branch circuit conductor. WARNING: If any Special Control Devices are used with this fixture, follow instructions carefully to assure full compliance with N.E.C. requirements. If there are any questions, contact a qualified electrical contractor.
- All glass is fragile. Use care when handling glass shades and bulbs.
WARNING:
To comply with the National Electrical Code and Underwriters Laboratories requirements, when installed outdoors, or in wet locations, the edge of the wall plate coming in contact with the mounting surface, must be sealed with a latex waterproof caulking to prevent water from entering the outlet box.
Preparation
- Before beginning installation, make sure all parts are included using the contents diagrams from page 1. If any part is missing or damaged, do not attempt to assemble, install or operate the product.
- Estimated assembly time: 30 minutes.
- Tools required for assembly (not included): Phillips screwdriver, pliers, wire stripper, safety glasses, electrical tape, ladder.
Care and Maintenance
Shut off main power supply before cleaning product or changing light bulbs. To clean, wipe with damp cloth. Do not use abrasive cleaners or cleaners that contain alcohol.
Assembly Instructions
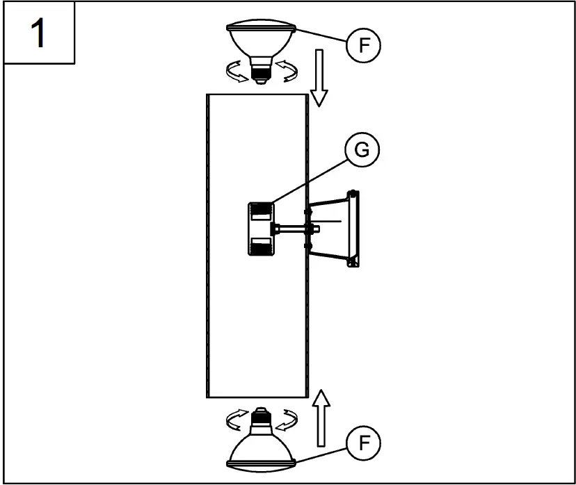
- lnstall two incandescent lamps (F) (not included) to the up and down socket (G). Use MAX 250 WATTS, TYPE Q PAR38 Halogen or MAX 150 WATTS, TYPE PAR38/R40 Incandescent or MAX 120 WATTS, TYPE BR40 Incandescent or equivalent SBCFL or SBLED.

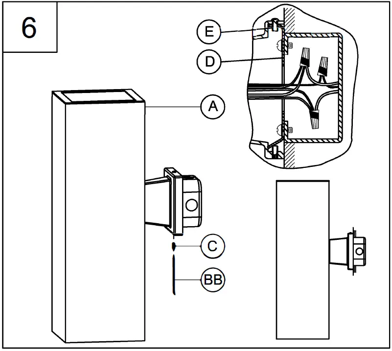
- Attach top cover (B) to fixture (A).

- Use alien wrench (BB) to unscrew set screw (C). Remove the mounting plate (D) from the base.


- Attach mounting plate (D) to outlet box using the mounting screws supplied with the outlet box (not included).


- Strip 3/8″ of insulation from the electrical wire ends. Using wire nuts (AA), connect WHITE fixture wire to the WHITE supply wire from the outlet box. Connect the BLACK fixture wire to the BLACK supply wire. Connect the fixture GROUND wire and supply GROUND wire using a wire nut or by fastening to the ground screw on the mounting plate.


- Push all wire connections into the outlet box. Align screw (E) with hole in mounting plate (D). Use alien wrench (BB) to secure fixture (A) tightly to the mounting plate (D) using set screw (C).






























