PROGRESS LIGHTING P400328 4 Light Island Rexington

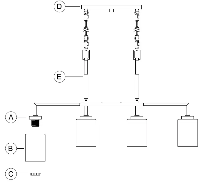
PACKAGE CONTENTS

| PART | DESCRIPTION | QUANTITY |
| A Fixture 1 B Glass shade 4 C Socket ring 4 D Canopy 1 E Stem 2 | ||
HARDWARE CONTENTS (not actual size)

SAFETY INFORMATION
Please read and understand this entire manual before attempting to assemble,operate or install the product.
CAUTION
- Read the instructions carefully and turn the electricity off at main circuit breaker panel before beginning installation.
- Risk of fire. Min. 90°C supply conductors. Consult a qualified electrician to ensure the correct branch circuit conductor.
WARNING: If any Special Control Devices are used with this Fixture, follow instructions carefully to assure full compliance with N.E.C. requirements. If there are any questions, contact a qualified electrical contractor
CAUTION: All glass is fragile, use care when handling glass shades and bulbs.
PREPARATION
- Before beginning installation, make sure all parts are included using the contents diagrams from page 1. If any part is missing or damage, do not attempt to assemble, install or operate the product.
- Estimated assembly time: 30 minutes.
- Tools required for assembly (not included): Phillips screwdriver, pliers, wire stripper, safety glasses, electrical tape, ladder, and drill.
CARE AND MAINTENANCE
- Shut off main power supply before cleaning product or changing light bulbs. To clean, wipe with damp cloth.
- Do not use abrasive cleaners or cleaners that contain alcohol.
ASSEMBLY INSTRUCTIONS

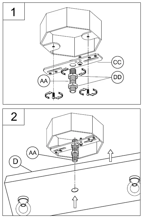
- Loosely thread the hex nut (DD) onto the nipple (AA) and then install this assembly onto the mounting strap (CC). Next, install this assembly to the outlet box using the mounting screws supplied with the outlet box (not included).
- In this step, you will adjust the depth of the nipple in relation to the canopy depth.

- Take the canopy (D) and slip it over the nipple (AA). You will need to adjust the nipple so at least 1/4″ of the threaded portion is exposed through the canopy hole. This is done by adjusting the depth of the nipple (AA) on the mounting strap (CC). When the nipple depth is correctly adjusted, remove the canopy (D) and tighten the hex nut (DD) against the mounting strap (CC).

- Take the canopy (D) and slip it over the nipple (AA). You will need to adjust the nipple so at least 1/4″ of the threaded portion is exposed through the canopy hole. This is done by adjusting the depth of the nipple (AA) on the mounting strap (CC). When the nipple depth is correctly adjusted, remove the canopy (D) and tighten the hex nut (DD) against the mounting strap (CC).
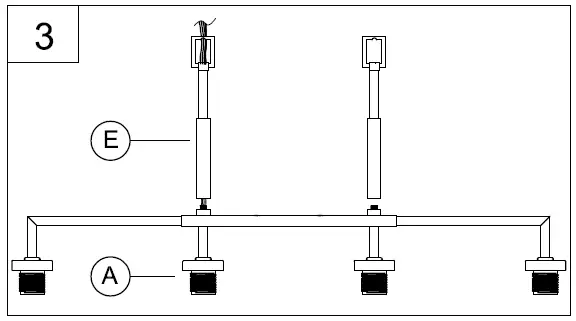
- Pass the wires through the stem (E). Attach the stem (E) onto the fixture (A), secure it tightly.
- NOTE: During this step, determine the hanging length of your fixture by removing chain links (HH) and optionally cutting the electrical and ground wire to length. Do NOT cut electrical or ground wires until this overall length is determined. Leave AT LEAST 6 inches MINIMUM of wire past the canopy loop (D) to allow for easy connections in step 6. (Chain links can be spread open with 2 pairs of pliers. Twist the split link ends in opposite directions and close by squeezing them back together.)

- NOTE: During this step, determine the hanging length of your fixture by removing chain links (HH) and optionally cutting the electrical and ground wire to length. Do NOT cut electrical or ground wires until this overall length is determined. Leave AT LEAST 6 inches MINIMUM of wire past the canopy loop (D) to allow for easy connections in step 6. (Chain links can be spread open with 2 pairs of pliers. Twist the split link ends in opposite directions and close by squeezing them back together.)
- Once hanging length is determined, use the quick link (KK) to lock both ends of the chain (HH) to the canopy loop (D) and stem loop (E). You can now weave the wires through every third chain link (HH), having them exit up through the canopy loop (D) and out the back of the canopy. With the chain links (HH) closed and all the loops fastened securely, have someone help you hold up the fixture by the canopy (D) and visually inspect the chain lengths, making sure fixture hangs evenly.

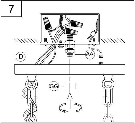
- You now need to attach the fixture support cable. This cable will aid you in supporting the fixture during the wiring connection in step 6. You will need a helper to help hold up the fixture during this step. Make sure the supply wire is out of the way from the drill for this step. Use a #29 drill ((2).136) or (3.5mm) bit to create a mounting hole in the side of the junction box. Next, using the self-threaded screw (EE) and flat washer (FF) provided, secure the support cable into the hole you just drilled in the junction box. Tighten securely.

- Strip 3/8″ of insulation from the electrical wire ends. Using the wire nuts (BB), connect the RIBBED fixture wire to the WHITE supply wire from the junction box; connect the SMOOTH fixture wire to the BLACK supply wire from the junction box. Connect the fixture ground wire and supply ground wire together using a wire nut, or fasten both to the ground screw on the mounting strap. Push all the wire connections carefully into the outlet box.

- Position and attach the canopy (D) onto the nipple (AA) and use finial (GG) to secure the canopy (D) to the nipple (AA)

- Attach the glass shade (B) to the fixture (A) using the socket ring (C) to secure it tightly. Thread the lamp (not included) into the fixture socket. Use a 60-Watt MAX incandescent medium base lamp, SBCFL or SBLED.
WARRANTY AND EXCLUSIVE REMEDY
Progress products, when properly installed and under normal conditions of use, are warranted to our customers only to be free from defects in material and workmanship at the time of shipment. All warranty claims must be asserted within one year from date of purchase of the subject items; thereafter, warranty claims will not be honored. Customers. sole remedy for a warranty claim or otherwise shall be limited to repair or replacement of the subject product if it is shown to have been defective in material or workmanship at time of shipment. Progress’s sole and maximum liability for a defective product shall never exceed the cost of the subject product. EXCEPT FOR SUCH A WARRANTY AND EXCLUSIVE REMEDY AS STATED (AND THE EXPRESS WARRANTY OF TITLE), WE DISCLAIM ALL OTHER WARRANTIES, WHETHER EXPRESS OR IMPLIED, AND SPECIFICALLY DISCLAIM THE IMPLIED WARRANTIES OF MERCHANTABILITY AND FITNESS FOR A PARTICULAR PURPOSE. IN NO EVENT SHALL WE BE LIABLE TO CUSTOMER IN WARRANTY, CONTRACT, NEGLIGENCE, STRICT LIABILITY OR OTHERWISE, FOR ANY DAMAGES, WHETHER INCIDENTAL OR CONSEQUENTIAL, WHICH ARE ALLEGED TO BE CAUSED BY ONE OR MORE OF OUR PRODUCTS, BEYOND THE COST TO THE CUSTOMER OF THE SUBJECT PRODUCT OR PRODUCTS.
Therefore, the customer’s sole and exclusive remedy against us for breach of the warranty, breach of contract or negligence or strict liability or otherwise shall be limited to repair or replacement of the subject product at our option (excluding installation and removal charges which shall not be our liability) or, ifwe choose, refund of the purchase price. In no case does our warranty and exclusive remedy extend to anybody other than our customers. Our customers are not authorized to extend warranties or remedies on our behalf to anyone. Such unauthorized extensions of warranties or remedies by the customer shall remain customer’s responsibility. Customer is responsible for determining the suitability of our products for the customer’s use or resale, or for incorporating them into objects or for applications which customer designs, assembles, constructs or manufactures.
THANK YOU for selecting Progress Lighting
- 800-447-0573
- 8am-8pm (Eastern), Monday-Friday
- [email protected]






















