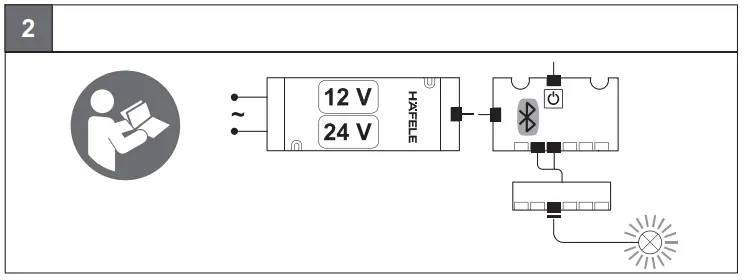
Home » Blog » Hafele Led 2091, Led 3091 Instruction Manual Hafele Led 2091, Led 3091 Instruction Manual Contents hide1 HAFELE LED 2091, LED 30912 WHAT’S IN THE BOX3 INSTALLATION INSTURCTION4 SPECIFICATION5 Documents / Resources5.1 References6 Related PostsHAFELE LED 2091, LED 3091WHAT’S IN THE BOXINSTALLATION INSTURCTIONSPECIFICATIONReferences Furniture fittings, architectural hardware, electronic locking systems - Häfele Documents / Resouces Download manual Here you can download full pdf version of manual, it may contain additional safety instructions, warranty information, FCC rules, etc. To access the pdf donwload links, solve the captcha. Related Manuals Hafele 833.74.960 Led Driver Instruction Manual Hafele 833.74.960 Loox 20w 12v Led Driver Instruction Manual Havit Hv3206-ss316 Mini Reces 316 Stainless Steel Round Recessed Led Step Instruction Manual Hinkley 1536ll Led Spot Light Instruction Manual Fagerhult Se-566 80 Habo Dti Type 2 Led Instruction Manual Hafele 12v,24v Loox Led Driver Instruction Manual Leuchtendirekt 997425 Holly Led Board Instruction Manual Metalux Ib51931422 Uhbs Round Led High Bay Instruction Manual Havit Hv1832w-12v Klip Stainless Steel Led Inground Light Instruction Manual Philips By021p G2 Ledinaire High Bay Instruction Manual Hinkley 1536lma Led Spot Light Instruction Manual Ledone Led Loc-gdhb-mw High Bay Light Series Instruction Manual Havit Hv1428w Spitze Black 3w Led Garden Spike Light Instruction Manual Hinkley 3260 Led Wall Sconce Instruction Manual Havit Hv1827 Luta Inground Light Instruction Manual Puig 20818n Led Light Instruction Manual Havit Hv3223t-wht Seefore Polycarb White Led Step Light Instruction Manual Nordlux Ykt5bf1-l90-2700k Renton 90 White Plastic Batten Integrated Led Instruction Manual Havit Hv3277t-blk Virsma Black Round Led Step Lights Instruction Manual Hinkley 23010bk Catalina Led 16 Inch Black Instruction Manual