PROGRESS LIGHTING 400165 Gresham 9 Light Instruction Manual
CAUTION: Read instructions carefully and turn electricity off at main circuit breaker panel before beginning installation.
WARNING: If any Special Control Devices are used with this Fixture, Follow the Instructions Carefully to assure full compliance with N.E.C. requirements. If there are any questions, contact a Qualified Electrical Contractor.
CAUTION: All glass is fragile, use care when handling Glass component(s) and or Lamp(s).
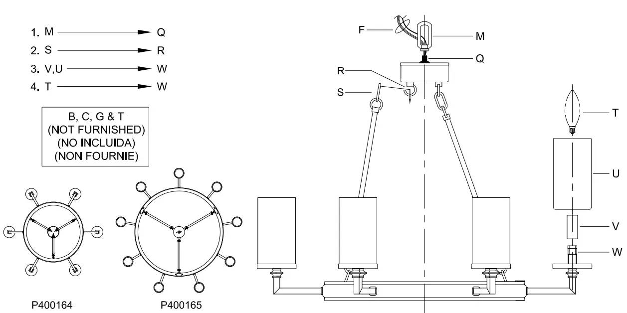
CANOPY MOUNTING & WIRE CONNECTION ASSEMBLY STEPS:

FIXTURE ASSEMBLY STEPS:

NOTE:
The glass shades on this fixture have naturally varying thickness from the R hand-made molding process. If the fixture is not level after installation, reposition glass shades so that thicker ones are on opposing sides to balance the weight
Customer Service:
Phone: 1-800-447-1723
















