VENTURE LIGHTING AK0007 LED Wall Pack Fixture User Manual
Installation Using Mounting Brackets
- Disconnect power from the luminaire and follow proper lockout/tagout procedures before beginning installation or maintenance.
- Remove the existing luminaire. Dispose of the existing lamp(s) and ballast(s) per local requirements.
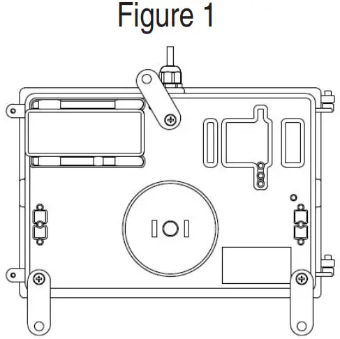
- Rotate the 3 mounting brackets on the back of the fixture as desired (Figure 1).

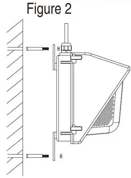
- Secure the fixture to the wall fix (Figure 2 & 3).


- Make the appropriate wiring connections.
- Close the fixture and restore power to the fixture
Installation Using Internal Mounting Fasteners
- Disconnect power from the luminaire and follow proper lockout/tagout procedures before beginning installation or maintenance.
- Remove the existing luminaire. Dispose of the existing lamp(s) and ballast(s) per local requirements.
- Remove the back cover from the fixture (Figure 4).

- Secure the back cover to the wall fix (Figure 5).

- Place the front of the fixture onto the back cover and make the appropriate wiring connections.
- Close the fixture and restore power to the fixture.
WARNING
Risk of fire and electric shock
- Disconnect power from the luminaire and follow proper lockout/tagout procedures before beginning installation or maintenance. Contact a qualified electrician for installation.
- Venture Lighting’s LED wallpack fixture installation requires knowledge of luminaire electrical systems. If not qualified, do not attempt installation. Contact a qualified electrician.
- To prevent wiring damage or abrasion, do not expose wiring to edges of sheet metal or other sharp objects.
- Suitable for use in wet location.
- MIN. 75°C supply conductor should be used.
(800) 451-2606
6675 Parkland Blvd., Suite 100
Solon, Ohio 44139 USA
E-mail: [email protected]
VentureLighting.com

© 2022 Venture Lighting International
Venture Lighting is a registered trademarks of Venture Lighting International.
























