Roll Hill SHAPC3 3-Piece Chandelier Installation Guide
CONTENTS
- Shape Up 3-Piece Chandelier Cone + Cylinder + Globe

- Canopy Assembly

- Ceiling Hubs (2)

- 8-32 Crossbar Screws (2)

- Strain Relief (6)

- 1/4-20 Anchor Screw (2)

- 1/4-20 Ceiling Toggle Anchor (2)

- Crossbar

- Wago Connector (5)

- Driver

SAFETY INFORMATION
Only one light bulb per socket.
Only suitable for direct mounting on non-combustible surfaces.
Under no circumstances can Shape Up fixtures be mounted on normally flammable surfaces. Suitable for dry, indoor use only.
Maximum ambient temperatures: 25˚ C
CEILING INSTALLATION
Note: Please contact a licensed electrician.
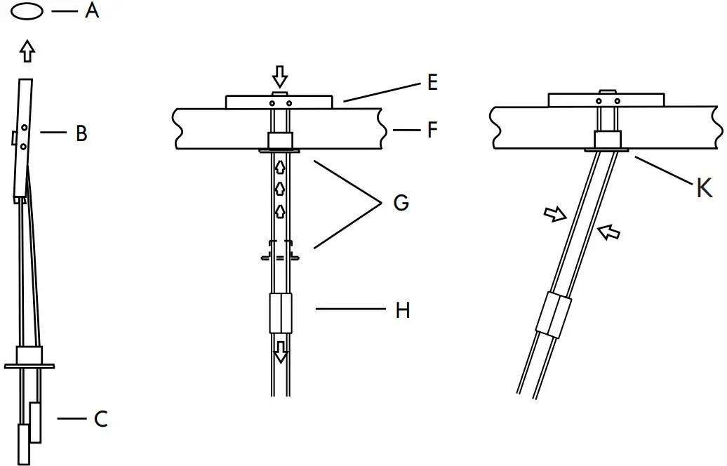
- Connect wires from the provided driver (B) to the lead wires (C) in the ceiling. Connect ground wire to crossbar (D).
- Pass output wires from driver through threaded nipple (F) in canopy assembly (G) Secure cross bar (D) to junction box (A) using provided 8-32 screws (E).
- Spin canopy assembly (G) into place clockwise into junction box (A) until flush with ceiling.
- After wiring fixture replace hub cover (H) by screwing into canopy assembly (G)

- Mark two points on ceiling where two connection hubs (I) will be placed. The two hubs and junction box should form an equilateral triangle, each hub approximately 35 inches apart.
- Mount hubs (I) to ceiling using provided anchors

TOGGLE ANCHOR INSTALLATION
- To install the toggle anchor, first drill a 1/2” hole to pass the metal part of the anchor (B) up into the ceiling (A)
- Pass metal anchor (B) through hole (A) and slide the ends of the zip ties (C) until the metal anchor pivots horizontally (E) seating itself onto the ceiling (F)
- Push up on the anchor lock (G) while applying downward pressure to the zip ties at point (H) be careful not to break off the zip ties while pushing the anchor lock upward toward the ceiling
- Once the anchor lock (K) is tightly seated into the ceiling, move the plastic zip ties back and forth until they snap off at the level of the ceiling

- Secure Ceiling hubs (L) to anchors using 1/4 20 screw (M) and supplied washer (N). Thread cosmetic cap (O) into hub until flush (will be removed again when wiring)

- Measure the desired drop length of your fixture from the ceiling. Use the chart below to determine the length of fabric cord necessary for each piece. Confirm your cord length by holding fixture in its hanging position before cutting cord. Add approximately 3-4 inches of extra cord for wiring.
EXAMPLES
| OVERALL DROP LENGTH | CORD LENGTH: CONE | GLOBE | CYLINDER |
| 8’ | 5’6” (x2) | 7’3” (x2) | 6’3” (x2) |
| 7’ | 4’6” (x2) | 6’3” (x2) | 5’3” (x2) |
| 6’ | 3’6” (x2) | 5’3” (x2) | 4’3” (x2) |
| 5’ | 2’6” (x2) | 4’3” (x2) | 3’3” (x2) |
| 4’ | 1’6” (x2) | 3’3” (x2) | 2’3” (x2) |
EXAMPLE | OVERALL DROP LENGTH OF 6’

Hang each fixture one at a time. Unscrew caps from ceiling hubs and feed cords into appropriate side holes. Once cord is through hole, secure strain relief tightly around cord, leaving an extra 2-3 inches to make wire connections. This will secure the weight of each fixture before making wire connections.
Strip ends of wires, pulling cloth sheath over the front of stripped wires as shown in (Fig.1) before inserting into ceiling hub (Fig. 2) and place strain reliefs on the outside of the cloth outer covering on the wires. Then proceed to make electrical connections in each hub. For the main electrical connection to the junction box, first pull lead wires through hole in canopy assembly and tighten flush to ceiling. Connect positive and negative leads together using a Wago connectors.
CHANGING THE BULBS
Note: Make sure to power off fixture and allow bulbs and lamp to cool.
CONE AND HEMISPHERE:
Carefully unscrew white bulb in counterclockwise direction and remove from fixture. Pull out existing LED and replace with a new one by pushing two pins into socket. Screw white bulb back onto socket.
CYLINDER:
While holding the glass cylinder shade, carefully unscrew white bulb in counterclockwise direction. This will remove both shade and white bulb. Pull out existing LED and replace with a new one by pushing two pins into socket. Hold shade in position and screw white bulb back onto socket.
ARC:
Support weight of glass arc shade and unscrew the small black cap from each end in counterclockwise direction. This will remove the glass shade from the assembly. Pull out existing LED and replace with a new one by pushing two pins into socket. Put glass arc shade back into place by screwing caps back onto end caps.
GLOBE:
Support weight of glass globe while unscrewing black cap from top of assembly. Slide black cap and brass tube up the cord and loosen the nut holding the globe cap to globe. Once loose, slide globe off of internal fitter and cap and set aside. unscrew white bulb in counterclockwise direction and remove from fixture. Pull out existing LED and replace with a new one by pushing two pins into socket. Screw white bulb back onto socket and re-fit the assembly
Updated 04FEB2022 6
T +1 718 387 6132
www.rollandhill.com
![]()






























