MOD LIGHTING Bailey Nordic Chandelier

Tools You Will Need: Tools You May Need
Before the Installation
- Do not throw away packing materials until assembly is complete for small parts may come loose inside the carton during shipment. If parts are missing, please contact us.
- Assemble this item on a soft surface, such as carpet to protect the finish.
- Proper assembly of this item requires 2 people.
- Periodically check to ensure that all connections are tight.
- It is recommended that installation of the product be done by a qualified licensed electrician.
Care and Cleaning
- To protect the finish, avoid use chemicals and household cleaners.
- All hot serving dishes should be placed on a pad.
- Any liquid spilled onto the top should be cleaned up immediately with a damp cloth.
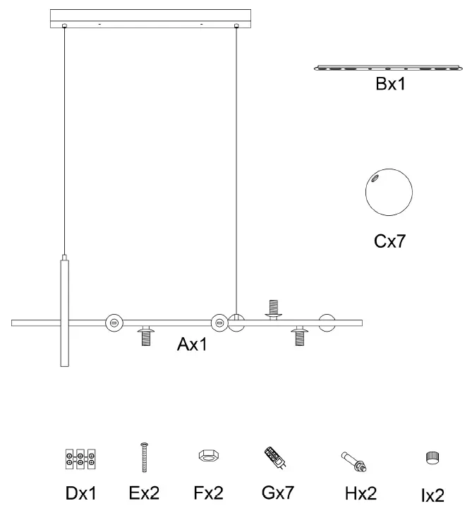
Parts List

Step1: 
Step2:
Step3:
Step4:



















