P400316 5-Light Brushed Nickel Farmhouse Chandelier
Installation Guide
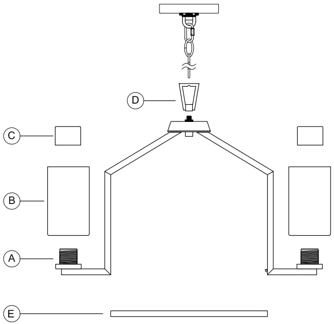
PACKAGE CONTENTS

| PART | DESCRIPTION | QUANTITY |
| A | Fixture | 1 |
| B | Glass Shade | 5 |
| C | Socket Ring | 5 |
| D | Chain Loop | 1 |
| E | Tubing Ring | 1 |
HARDWARE CONTENTS (not actual size)
THANK YOU for selecting Progress Lighting
Safety Information
Please read and understand this entire manual before attempting to assemble, operate or install the product.
CAUTION: Read instructions carefully and turn electricity off at main circuit breaker panel before beginning installation.
CAUTION: Risk of fire. Min. 90°C supply conductors. Consult a qualified electrician to ensure correct branch circuit conductor.
WARNING: If any Special Control Devices are used with this fixture, follow instructions carefully to assure full compliance with N.E.C. requirements. If there are any questions, contact a qualified electrical contractor.
CAUTION: All glass is fragile. Use care when handling glass shades and bulbs.
Preparation
- Before beginning installation, make sure all parts are included using the contents diagrams from page 1. If any part is missing or damaged, do not attempt to assemble, install or operate the product.
- Estimated assembly time: 30 minutes.
- Tools required for assembly (not included): Phillips screwdriver, pliers, wire stripper, safety glasses, electrical tape, ladder.
Care and Maintenance
Shut off main power supply before cleaning product or changing light bulbs. To clean, wipe with damp cloth. Do not use abrasive
cleaners or cleaners that contain alcohol.
Assembly Instructions
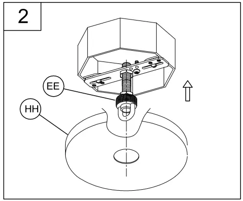
- Install the chain holder (EE) onto the nipple (FF). Next, loosely thread the hex nuts (AA) onto the nipple (FF) and then thread this assembly onto the mounting strap (CC). Install this assembly to the outlet box using the mounting screws supplied with the outlet box (not included).

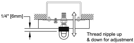
- In this step, you will adjust the depth of the chain holder in relation to the canopy depth.
Take the canopy (NH) and slip it over the chain holder (EE). You will need to adjust the chain holder so at least 1/4″ of the threaded portion is exposed through the canopy hole. This is done by adjusting the depth of the nipple (FF) on the mounting strap (CC). When the chain holder (EE) is correctly adjusted, remove the canopy (NH) and tighten the top hex nut (AA) against the mounting strap (CC) and the bottom hex nut (AA) against the chain holder (EE).
- Equally adjust the arms by carefully turning them out from the center. Hook the tubing ring (E) to the fixture hooks (A).
Pass the wires through the chain loop (D). Attach the chain loop (D) onto the fixture (A) , secure it tightly.
NOTE: During this step, determine the hanging length of your fixture by removing chain links (GG) and optionally cutting the electrical and ground wire to length.
Do NOT cut electrical or ground wires until this overall length is determined. Leave AT LEAST 6 inches MINIMUM of wire past the chain holder (EE) to allow for easy connections in step 5.
(Chain links can be spread open with 2 pairs of pliers. Twist the split link ends in opposite directions and close by squeezing them back together.) - Once hanging length is determined, open chain link at one end of chain (GG). Hook the open chain link (GG) onto the chain loop (D). Close the chain links back together with the pliers. open the quick link (J1), attach chain link the other end of chain (GG) and chain holder (EE) onto the quick link (JJ). Close the quick link.
You can now weave the wires through every third chain link (GG). Continue to pass the wires AND chain through the screw collar (DD) and canopy (HH).
- Strip 3/8″ of insulation from the electrical wire ends. Using wire nuts (BB), connect the RIBBED fixture wire to the WHITE supply wire from the outlet box; connect the SMOOTH fixture wire to the BLACK supply wire. Connect the fixture ground wire and supply ground wire using a wire nut or by fastening to the ground screw on the mounting strap. Push all wire connections into the outlet box.

- Tuck the wires into the junction box and slip the canopy (HH) over the chain holder. Thread the screw collar (DD) onto the chain holder to secure the canopy tightly to the ceiling.

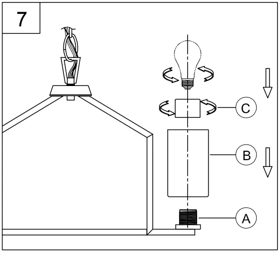
- Attach the glass shade (B) to the fixture (A) using the socket ring (C) to secure it tightly.
Thread lamps (not included) into the fixture sockets. Use 60-watt MAX incandescent medium base lamps, SBCFL or SBLED.
WARRANTY AND EXCLUSIVE REMEDY: Progress products, when properly Installed and under normal conditions of use, are warranted to our customers only to be free from defects m material and workmanship at time of shipment. All warranty claims must be asserted within one year from date of purchase of the subject items; thereafter, warranty claims will not be honored. Customers’ sole remedy for a warranty claim or otherwise shall be limited to repair or replacement of the subject product if it is shown to have been defective in material or workmanship at time of shipment. Progress’s sole and maximum liability for a defective product shall never exceed the cost of the subject product. EXCEPT FOR SUCH A WARRANTY AND EXCLUSIVE REMEDY AS STATED (AND THE EXPRESS WARRANTY OF TITLE), WE DISCLAIM ALL OTHER WARRANTIES, WHETHER EXPRESS OR IMPLIED, AND SPECIFICALLY DISCLAIM THE IMPLIED WARRANTIES OF MERCHANTABILITY AND FITNESS FORA PARTICULAR PURPOSE. IN NO EVENT SHALL WE BE LIABLE TO CUSTOMER IN WARRANTY, CONTRACT, NEGLIGENCE, STRICT LIABILITY OR OTHERWISE, FOR ANY DAMAGES, WHETHER INCIDENTAL OR CONSEQUENTIAL, WHICH ARE ALLEGED TO BE CAUSED BY ONE OR MORE OF OUR PRODUCTS, BEYOND THE COST TO THE CUSTOMER OF ME SUBJECT PRODUCT OR PRODUCTS. Therefore. the customer’s sole and exclusive remedy against us for breach of the warranty, breach of contract or negligence or strict liability or otherwise shall be limited to repair or replacement of the subject product at our option (excluding installation and removal charges which shall not be our liability) or, if we choose, refund of the purchase price. In no case does our warranty and exclusive remedy extend to anybody other than our customers. Our customers are not authorized to extend warranties or remedies on our behalf to anyone. Such unauthorized extensions of warranties or remedies by the customer shall remain customer’s responsibility. Customer is responsible for determining the suitability Of our products for customer’s use or resale, or for Incorporating them Into objects or for applications which customer designs, assembles, constructs or manufactures. 93164378
We can assist you with questions regarding product information, assembly or missing parts
800-447-0573
8am-8pm (Eastern), Monday-Friday
[email protected]

Take the canopy (NH) and slip it over the chain holder (EE). You will need to adjust the chain holder so at least 1/4″ of the threaded portion is exposed through the canopy hole. This is done by adjusting the depth of the nipple (FF) on the mounting strap (CC). When the chain holder (EE) is correctly adjusted, remove the canopy (NH) and tighten the top hex nut (AA) against the mounting strap (CC) and the bottom hex nut (AA) against the chain holder (EE).
NOTE: During this step, determine the hanging length of your fixture by removing chain links (GG) and optionally cutting the electrical and ground wire to length.





















