ELEGANT V8003D25 25 Inch Wide Crystal Chandelier

- Dimensions: D25″ H31″ L15
- Collection: Toureg
- Bulb Type: E12 bulb not included Lamp Frame
- Weight(lbs):13.2
- Total Weight(lbs):53
Thank you for choosing our product(s). Our Company is actively involved in every step of the production. Our product(s) are designed to be utilized for every application that graces your home or business. We pride ourselves on providing the most prompt and courteous service to all of our valued customers. Please find the enclosed detailed instruction and read them carefully for proper installation. If you have any questions, please contact the retailer where the purchased was made.
SAFETY
Warning: MAKE SURE THE ELECTRICITY TO THE WIRES YOU ARE WORKING ON IS SHUT OFF.BY EITHER REMOVING THE FUSE OR TURNING OFF THE CIRCUIT BREAKER.
CAUTION
- Before assembling the lighting fixture, please read all instructions carefully.
- All frame & crystal components are fragile, please handle them with care.
- Required supply circuit: 110 – 130V/60Hz
- Labeled wires are “L” for live wire, “N” for neutral wire, and “E” for the ground wire.
- Never install fixtures on the damp ceiling, the room should be dry and well ventilated
- All electrical components must be installed by a licensed electrician and in accordance with the National Electrical Code and the appropriate local electrical codes.
Unpack the Package
Please open the box carefully and check all the items are inside the box. If you have any installation, assembling, and missing parts questions, where you purchase from, and any other relevant information ready, our customer service team will provide comprehensive and worry-free service to our valued customers.
Frame Parts List 
Step 1
Please use the parts list to ensure you are not missing any parts
V8003D25 PARTS LIST 

V8003D25 D25″ H31″ L15
V8003D25 D25″ H31″ L15
Step 2
Canopy Installation Instruction
- “L” = Hotwire
- “N” = Neutral wire
- “E” = Ground wire
IMPORTANT
Test sockets with a bulb before dressing the fixture.
- Attach the crossbar to the electrical box.
- Pass the lamp wire and ground wire through the loop, canopy ring, and center hole of the canopy cover.
- Screw2.5″ threaded pipe into the crossbar and fasten with hex-nut.
- Pull wires up through the nipple.
- SCrew the loop only onto the threaded pipe.
- Hang the fixture on the chain.
- Make the electrical connections as detailed 1n the drawing above.
- Secure the canopy cover with a threaded canopy ring
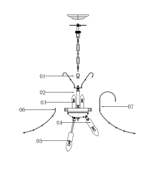
Frame Assembly Diagram
Step 3
Frame Assembly Instructions
Installation
Please read all instructions carefully. Before you proceed to install, make sure. that the power supply is turned off and remains off until installation is complete. Please note that each part has been assigned a number. Please proceed in numerical order.
- Hang the chain (01) on the ceiling.
- Screw the short iron branch (03) and long iron branch (04) into the lamp body (02) pressing holes with M3*8mm screws.
- Screw the lamp body (02) on the chain (01) bottom ring.
- Connect the lamp main wire with the positive and negative of the 4n junction box are correct.
- As per the crystal dressing instructions, hang the crystal parts.
Step 4 Crystal Dressing Instructions
- Hang crystal “A”… “B”… “C”… “D”… “E”… “F” “G” … “H” … “I” … “J” … “K”.
Crystal Dressing Diagram
When dressing the chandelier with crystals please remember. < wear either rubber or cotton ) gloves. So as to prevent any damage or smudging on the crystals.
Congratulations
You are now done installing your Elegant Lighting fixture. Sit back and admire each crystal as it will become the statement piece for your room/house.
Thank you.
Cleaning and Maintenance of the Chandelier Frame
The finish on our chandelier frames and fixture frames is protected by a durable coating of lacquer. To clean, use a clean soft, dry cloth. Do not use any metal polishes, cleaners, abrasives, or any substance which could remove the protective finish. Failure to follow these instructions automatically voids the guarantee.
Cleaning and Maintenance of Crystals
Wet a soft cotton fabric in clean warm water and wipe gently, then polish with a dry soft cotton fabric.
To Order Crystal Replacement Parts
Should you require replacement crystals or pins (the metal connectors attaching the crystals), contact the store where the product was purchased. For ease of ordering, you may use the original crystal trimming instructions provided with this product and circle the items you wish to order, indicating the quantity by writing the number needed adjacent to the circle. You will be contacted with prices prior to shipment. All orders must be pre-paid.
Elegant Lighting Warranty
The finish and frame of your new chandelier or fixture are warranted for a period of one (1) year from the date of purchase. Our company will, at its option, repair or replace any frame that has a defect in the materials or workmanship during the warranty period. All crystals are guaranteed for their original quality during the life of the chandelier. Breakage is not covered by this warranty. To make a claim under this warranty, contact our customer service department. A written return authorization form will be sent to you with specific instructions.
Returns and Conditions of Warranty
Returns must be pre-authorized by contacting the retailer where you made your purchase .. Returns will only be accepted with a written return merchandise authorization and return shipping charges pre-paid. We reserve the right to inspect all returned merchandise to fully determine the nature of any defect. This guarantee shall not apply to any product that has been changed, altered, or otherwise modified, nor shall it apply to any product that has been repaired or altered by anyone other than a pre-authorized facility. We will not be responsible for any breakage or damages incurred during transit, nor for crystal parts or metal frame parts that have been subject to misuse, negligence, accident, or inappropriate handling. Also, we will not be held responsible for damage incurred during improper installation or wiring by others, nor for damages resulting from a failure to follow the recommended maintenance or installation procedures. This guarantee is issued in lieu of any and all other guarantees or warranties, whether written or implied, and any and all other obligations or liabilities. Further, we neither authorize nor permit any other person or firm to assume for us, any liability in connection with the sale of our products.






















