FREDRICK RAMOND FR30204, FR30205 Chandeliers

Assembly Instructions
Item No: FR30204-FR30205
start here
- Find a clear area in which you can work.
- Unpack fixture and glass from carton.
- Carefully review instructions prior to assembly.

- To begin, it will be necessary to finish assembling the main body (1). This is accomplished by attaching the bottom ring (2) to the main body.
- Take the bottom ring (2) and slip the end of threaded tube (3) through the center hole in the bottom ring center hub. Hold in position and thread on bottom knob (4) and tighten to secure ring.
- Fixture can now be installed. This is accomplished by following instruction sheet (IS-19) provided. Please read all the instruction before starting installation.
GLASS INSTALLATION
- To begin glass strand installation, first unwrap the strands from their packing. Next arrange them according to size. There are 4 sizes of glass strands. Extra long (EX), long (L), medium (M) and short (S) – see Drawing 2.
- The extra long glass strands, have a hook on both ends. They are used for the top half of the fixture. The end of the strand with the large glass rock is the top. Take the hook on this end and hook it through one of the holes on the top ring (TR). Now take the bottom hook of the strand and hook it through one of the holes in the top of bottom ring (BR). Make sure when attaching the extra long strands that you accidentally do not skip any holes.
- Now the remaining long (L), medium (M) and short (S) have one hook at one end. These can be hung off the bottom holes (BH) in the bottom half of the bottom ring
(BR).

Mounting Instructions
SAFETY WARNING: READ WIRING AND GROUNDING INSTRUCTIONS (I.S. 18) AND ANY ADDITIONAL DIRECTIONS. TURN POWER SUPPLY OFF DURING INSTALLATION. IF NEW WIRING IS REQUIRED, CONSULT A QUALIFIED ELECTRICIAN OR LOCAL AUTHORITIES FOR CODE REQUIREMENTS.
- Shut off electrical current before starting. If the fixture you are replacing is turned on and off by a wall switch, simply turn the switch off. If not, remove the appropriate fuse (or open the circuit breakers) until the fixture is dead.
- DO NOT restore current – either by fuse, breaker or switch – until the new fixture is completely wired and in place.
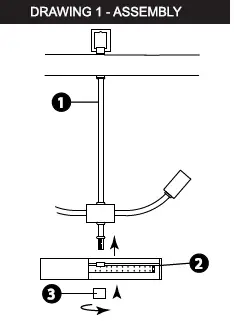
- Fasten mounting strap (1) to outlet box ( (A) with the two 8-32 screws ((2) not provided- see Drawing 1.
- Thread 2- hex nuts ( (3a) and ((3b) onto threaded tubing ((4).
- Thread one end of threaded tubing((4) into loop ((5) a minimum of 1/2″ to 3/4″. Tighten hex nut ( (3a) against loop ( (5) to lock loop in position.
- Thread other end of threaded tube
- Slip canopy ( (B) over loop ( (5) and adjust height of loop so half of the threaded area on the loop is exposed -see Drawing 2 below. After loop height is adjusted, tighten hex nut (3b) up against mounting strap, tighten against mounting strap to lock loop and threaded tube in position. 4) into mounting strap approximately 1/2″.
- Remove mounting strap( (1) from junction box ((A), and thread third hex nut ((3c) onto end of threaded tube ( (4) above the mounting strap, tighten against mounting strap to lock assembly in position.
- Remount mounting strap to junction box.

- Taking the chain, determine the length you require to hang the fixture.
- Attach one end of the chain to the top loop of the fixture.
- Now slip loop collar (6) and canopy (B) onto chain. – – see Drawing 2 4. Attach other end of chain to loop may be heavy and difficult to hold while attaching the chain. (5). Get assistance for this step since fixture

- Unwrap fixture lead wire and ground wire and weave them up through the chain.
- Slip fixture lead wire and ground wire through center of loop (5).
- Connect ground wire to mounting strap ( 1) using green ground screw ( GS).
- Make electrical connections from supply wire to fixture lead wires. Refer to instruction sheet ( I.S. 1 8) and follow all instructions to make all necessary wiring connections.
- Slip canopy up firmly against the ceiling and secure by turning the threaded collar ( 6) on loop ( 5) until tight.
I.S. 18 wiring grounding instructions
SAFETY WARNI NG: READ WIRIN G AND GROUNDING INSTRUCTIO NS (IS 18) AND ANY ADDITIONAL DIRECTIONS. TURN POWER SUPPLY OFF DURING INSTALLATION. IF NEW WIRING IS REQUIRED, CONSU LT A QUALIFIED ELECTRICIAN OR LOCAL AUTHORITIES FOR CODE REQUIREMENTS
wiring instructions
Indoor Fixtures
- Connect positive supply wire (A ) (typically black or the smooth, unmarked side of the two-conduc tor cord) to positive fi xture lead (B ) with appropriately sized t wist on connec tor – see Dra w ings 1 o r 2.
- Connect negative supply wire (C) (typically white or the ribbed , marked side of the two conductor cord) to negative fixture lead (D).
- Please refer to the grounding instructions below to complete all electrical connections
Outdoor Fixtures
- Connect positive supply wire (A ) (typically black or the smooth
unmarked side of the two-conductor cord) to positive fixture lead (B) with appropriately sized twist on connect tor — see Drawings 2 or 3. - Connect negative supply wire (C) (typically white or the ribbed , marked side of the two-conductor cord) to negative fixture lead (D).
- Cove r open end of connector s with silicone sealant to form a watertight seal.
If installing a wall mount fixture, use caulk to seal gaps between the fixture mounting p late (backplate) and the wall. This will help prevent water from entering the out let box . If the wall sur face is lap siding, use caulk and a fixture mounting plat form specially. - Please refer to the grounding instructions below to complete all electrical connections.
grounding instructions
Flush Mount Fixtures
For positive grounding in a 3-wire electrical system, fasten the fixture ground wire (E) (typically copper or green plastic coated) to the fixturemoun ting strap (M ) with the ground screw (S) – see Draw in g 1.
Note: On straps for screw supported fixtures, first install the two mounting screws in strap. Any remaining tapped hole may be used for the ground screw.

Chain Hung Fixtures
Loop fixture ground wire (E) (typically copper or green plastic coated) under the head of the ground screw (S ) on fixture mounting strap (M ) and connect to the loo se end of the fixture ground wire directly to the ground wire of the building system with appropriately sized twist-on connectors – see Dawing 2.

Post-Mount Fixtures
Connect fixture ground wire (E ) (typically copper or green plastic coated) to power supply ground with appropriately sized twist-on connector inside post. Cover opened of connector with silicone sealant to form a watertight seal – see Drawing 3.



















