CRYSTORAMA BRY-8006-BF Bryant 6-Light Black Forged Chandelier

WARNING:
- Electrical Danger
- Turn Power off
- All electrical components must be Installed by a licensed electrician In accordance with the National Electric Code and the appropriate
Dimension
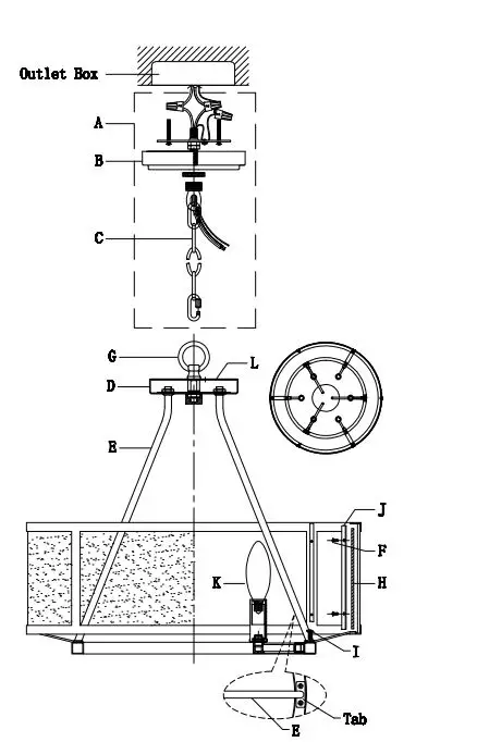
How to install
- Place the frame on a soft cloth covered platform and lay two places of glass on the two adjacent cut outs of the frame. Hold the glass while allgning the holes on the metal strap with the holes on the frame.
Two persons handling is recommended for this step. - Install the and of the rod(without the tab) onto the Lower canopy and secure with a nut. Repeat for all rods. Do not tighten the nut until the end of step #3.
- Spread the rods out equally and align the holes at the tab of rod with holes in the banding ring. Secure the rods with flat head screws. Now the nuts inside the canopy can be tightened to secure the roads in place.
- Place the plate over the top of the canopy and secure with the loop.
- Install the mounting bar to the outlet box using two outlet box screws.
- Decide the desired hanging height and cut the chain to the proper length.
- Install the canopy onto the mounting bar and secure with the screw collar loop ring.
Part Number
- A. (1)-Mounting Hardware For Hanging
- B. (1)-Canopy For Hanging; W5-1/2″XH1″(XSU8004BFCAN5.5IN)
- C. (1)-Chain; 3.8MM(XSU8004BFCHA3.8MM)
- D. (1)-Lower Canopy; W5-7/8°XH3/4″ (XSU8006BFCAN5.9INC)
- E. (3)-Rods (XSU8006BFSIDEROD)
- F. (6)-Machine Screw
- H. (1)-Loop(XSU8004BFLOOP)
- H. (6)-Glass;W11-1/2″XH6-1/2″ (XSU8006GLA11.5IN)
- I. (12)-Flathead Screws
- J. (6) – Metal strap
- K. (6)- Bulb(Not Included)
- L. (1)- Plate
WARNING: This product can expose you to Lead which la known to the state of California to cause cancer and/or birth defects or reproductive harm. For more information go to www.P85Wamings.ca.gov


















