LIGHTING THE WAY FOR SIXTY YEARS
ASSEMBLY INSTRUCTION MODEL #BRI-3006-SA
BRI-3006-SA Brielle Six Light Chandelier

![]()
All electrical components must be installed by a licensed electrician in accordance with the National Electric Code and the appropriate local electrical codes.
![]()
You will need 6 -Candelabra Base Bulb 40 Watts Recommended 60 Watts Max.
USE LED BULBS FOR EXTENDED USE
How to Install
- Do a complete inventory of all parts and components before you start installation.
- Thread the center stem onto the coupler on the top of the light cluster.
- Screw the top band ring onto the top of the center stem.
- Connect the bottom band ring onto the middle band ring by small hanging chains.
- Insert recommended bulb (not included).
- Dress the fixture with capes shells “”A” and “B” as illustrated.
Capes Shell Sets
A. 40 Sets.
(6)15mm+(6)20mm+(3)25mm+
(2)30mm+(2)35mm
B. 40 Sets.
(1)45mm+(1)40mm+(1)35mm+
(1)30mm+(2)25mm+(3)20mm+
(4)15mm
WARNING: This product can expose you to Lead, which is known to the State of California to cause cancer and/or birth defects or reproductive harm. For more. information go to www.P85Warnings.ca.gov.

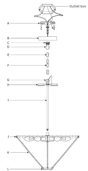
Part Number
A. (1) – Mounting Hardware
B. (1) – Canopy(W4.5″, H1″) #XRE3000SACAN4.5IN
C. (1) – Collar Ring
D. (1) – Collar Loop
E. (2) – Quick Link
F. (1) – Hanging Chain(72″,4.0mm) #XRE3006SACHA4MM
G. (1) – Fixture Loop
H. (1) – Top Band Ring
I. (1) – Center Stem(13.39″,9.7mm)
3. (1) – Middle Band Ring
K. (4) – Small Chain(9.65″,1.0mm) #XRE3006SADECHA9.65IN
L. (1) – Bottom Band Ring


















