ASSEMBLY INSTRUCTION MODEL
#ELL-B3006-PN
Instruction Manual
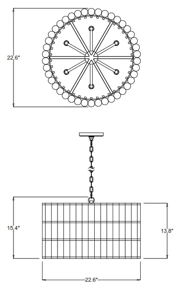
ELL-B3006-PN Six Light Chandelier

![]()
All electrical components must be installed by a licensed electrician in accordance with the National Electric Code and the appropriate local electrical codes.
![]()
You will need 6-Candelabra Bulb 60 watts Max Bulb not included
USE LED BULBS FOR EXTENDED USE This fixture is DRY rated
How to Install
- Decide the preferred hanging height and choose the chain needed.
- Fix the mounting plate to the ceiling and connect the canopy to the mounting plate.
Installation of safety cable
- Pass the long threaded pipe on the hickey through the center of outlet box. Attach it to the ceiling joist and secure it with nuts.
- Feed wires and safety cable up through chain and the hole of screw collar loop. Have the wires and safety cable exit through the side of hickey.
- Feed safety cable through the cable lock and coil it around the hickey twice. Then feed the cable through the lock again and tighten it with lock screw.
- Continue to run safety cable through the top of outlet box and secure it to the ceiling joist.
WARNING: This product can expose you to Lead, which is known to the State of California to cause cancer and/or birth defects or reproductive harm. For more information go to www.P65Warnings.ca.gov

Part Number
Part Numbers
A. Mounting Hardware
(3)Wire Nut
(1)Hickey
(2)1/4″ IP NIPPLE
(4)Nut
(4)Flat Washer
(4)Spring Washer
B.(1)Screw Collar Loop
C.(1)Canopy;Ø6″x0.9″h;XMO3004PNCAN6IN
D.(1)Collar Ring
E.(2)Quick Link
F.(1)Chain;72″Lx Ø5.0mmT;XMO3004PNCHA5MM
G.(1)Loop
H.(1)Metal frame
I.(84)Nuts;XMO3002PNBANUT
J.(84)Metal cap
K.(42)Lucite rod;Ø1.5″x13.8″h;XMO3006LUCROD13.8IN
L.(6)Candle Sleeve;Ø1″x2.5″h;XMO3002PNCDL2.5IN


















