CRYSTORAMA BRY8008BF Bryant Eight Light Chandelier in Black Forged

DIMENSIONS
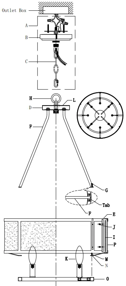
For Hanging

WARNING
- Electrical Danger

- Turn Power off

All electrical components must be installed by a licensed electrician in accordance with the National Electric Code and the appropriate local electrical codes.
You will need 8- Cand. Bulb 40 Watts Recommended 60 Watts Max.
Frosted bulb is recommended!!
USE LED BULBS FOR EXTENDED USE THE FIXTURE IS DAMP RATED
HOW TO INSTALL
- Place the frame over the top of the banding ring by aligning the hole on the bracket with the hole on the banding. Secure it with machine screws
- Place the frame on a soft cloth covered platform and lay two pieces
of glass on the two adjacent cut outs of the frame. Hold the glass while aligning the holes on the metal strap with the holes on the frame.
Two persons handling is recommended for this step. - Install the end of the rod(without the tab) onto the Lower canopy and secure with a nut. Repeat for all rods. Do not tighten the nut until the end of step #3.
- Spread the rods out equally and align the holes at the tab of rod with holes in the banding ring. Secure the rods with flat head screws.
Now the nuts inside the canopy can be tightened to secure the roads in place. - Place the plate over the top of canopy and secure with the loop.
- Install the mounting bar to the outlet box using two outlet box screws.
- Decide the desired hanging height and cut the chain to the proper length.
- Install the canopy onto the mounting bar and secure with the screw collar loop ring.
WARNING: This product can expose you to Lead which is known to the state of California to cause cancer and/or birth defects or reproductive harm. For more information go to www.P65Warnings.ca.gov
PART NUMBER
For Hanging
A. (!)-Mounting Hardware For Hanging
B. ( 1 )-Canopy For Hanging; W5-1/2″XH 1″ (XSU8004BFCANS. SIN)
C. (1)-Chain;3.8MM(XSU8004BFCHA3.8MM)
D. (1)-Lower Canopy;W7-1/8″XH3/4″(XSU8008BFCAN7.1INC)
E. (6)-Metal strap
F. (4)-Rods (XSU8008BFSIDEROD)
G. (8)-Flat head Screw
H. (1) -Loop(XSU8004BFLOOP)
I. (6)-Glass;W15-5/8″XH7- 1/4″ (XSU8008GLA15.6IN)
J. (12)-Machine Screws
K. (8)- Bulb(Not Included)
L. ( 1 )- Plate
M. ( 4 )-Machine Screw
N. (4)-Bracket
0. (!)-Banding ring
P. (1)-Frame
















