PNi 9001 Pro CB Radio 
WARNINGS
- Please read the following precautions to prevent fire, personal injury, or radio destruction. Do not attempt to adjust the radio while driving; is dangerous.
- This radio is designed for a power supply at 12V/24V.
- Do not place the station on an excessively dusty, damp, or unstable surface.
- Do not connect the antenna during transmission, risk of burning or electric shock.
- Please keep your distance from devices that cause interference (such as TV, generator, etc.)
- People who use pacemakers are advised to keep a distance from the antenna during transmission and especially not to touch it.
- Do not connect metal objects to the internal electrical side; the danger of electric shock.
- Avoid exposing the radio to temperatures below -26°C and above + 60°C, the temperature on a vehicle may sometimes exceed 80°C, which can cause irreparable damage to electric devices. Do not expose the radio to sunlight.
- Do not place anything on the radio, it will prevent it from cooling down.
- Check to see if you have enough charged battery to avoid rapid discharge.
- It is important to stop the radio before starting the engine, to avoid damage caused by high starting voltage. You must use a 2A 250V fuse type F. Under no circumstances use a higher value.
- If an abnormal odor or smoke is detected as coming from the radio, switch off the appliance immediately. Do not transmit for a long time, the radio may warm up.
- Keep the station away from children.
OTHER WARNING:
- Before connecting or using this product, please read these operating instructions carefully. Keep this manual for future reference.
- Before using the radio, please connect the antenna, then check the SWR before transmitting. A too high SWR can cause damage to the CB final output transistors, which is not covered by the warranty.
- The radio does not include components that can be repaired by the user. Please contact an authorized service center.
- To prevent the risk of fire, use only a suitable power supply.
FRONT PANEL DESCRIPTION
- LED display
- ASQ activation button
- AM/FM band selection button
- Auto channel scan button
- Keypad lock button – hold this button for 2 seconds to lock/unlock the keypad
- Selection button for 2 channel operation
- Change the screen color button
- Emergency channel selection button 9/19
- Channel storage button
- Volume on/off/volume adjustment button
- Background noise-canceling button (ANL)
- Channel change button
- Squelch button/adjust ASQ level: turn the knob outward to adjust the squelch; rotate the knob inwards to adjust the squelch automatically
- LED reception/emission indicator (TX/RX)
- Microphone jack
DESCRIPTION OF INDICATORS ON THE SCREEN
- Information about working mode
- Frequency +5KHz
- ANL = Automatic Noise Limiter
- Current operating frequency indicator
- Signal strength indicator
- AM band operation indicator
- Scan status Indicator
- Power operation indicator at full power
- FM band operation indicator
- 2-channel operation indicator
- Low power operating indicator
- Unit of measure of the operating frequency
- ASQ function indicator (automatic squelch)
- Channel number
- Keypad locked indicator
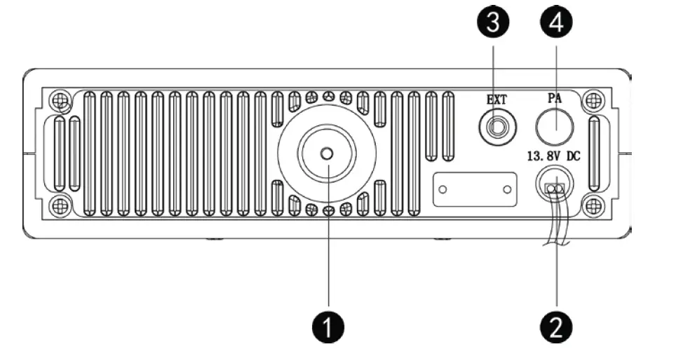
REAR PANEL DESCRIPTION
- Antenna connection jack
- Output power cable
- The external speaker connection jack
- Plug-in connector for computer programming cable (service purpose only)
MICROPHONE DESCRIPTION:
- PTT button
- Channel change button
- ASQ activation button
- Channel change button
- Microphone jack
- Microphone

The plug at the end of the microphone wire must be connected to the radio.
INSTRUCTIONS FOR USE
- Connect the antenna to the plug placed on the rear panel
- Power supply the radio paying great attention to polarity
- Turn on the radio by turning the volume knob clockwise
- Adjust the noise level using the squelch knob or press the automatic adjustment knob ASQ
- Press the channel selection button until you reach the desired channel
NOTE: If the channel switch does not work, press the key lock button and try again. To emit, press and hold the PTT button and then speak in the microphone. To receive, release the PTT button.
CHANGING THE STANDARD
To change the frequency band, do the following:
- Turn off the radio
- Press the F/lock and MEM buttons simultaneously while turning on the station
- Release the buttons pressed and then rotate the channel change button by observing the character on the screen in the top left corner.
- Select FM or AM by pressing the MODE key.
| Standard | Frequency (MHZ) | Channels | Country | EMG (9/19) |
|
EU |
26.965-27.405 |
40CH (4W) AM/FM | AT, BE, BG, CH, CY, DK, EE, ES, FI, FR, GR, HR, HU, IE, IS, IT, LT, LU, LV, NL, NO, PT, RO, SE, SI |
CH09: 27.065MHz AM/FM CH19: 27.185 AM/FM |
| EC | 26.965-27.405 | 40CH (4W) FM only | RO, MT | CH09: 27.065MHz FM CH19: 27.185MHz FM |
| EI | 26.965-27.405 | 40CH (4W) AM/FM | IT, DE, FR, ES | CH09: 27.065MHz AM/FM CH19: 27.185 AM/FM |
| PL | 26.960-27.400 | -5KHZ 40CH (4W) AM/FM | PL | CH09: 27.060MHz AM/FM CH19: 27.180MHz AM/FM |
| UK | 27.60125- 27.99125 | 40CH (4W) FM only | UK | CH09: 27.68125MHz FM CH19: 27.78125MHz FM |
|
dE | 26.965-27.405 | 01CH-40CH (4W) AM/FM |
DE | CH09: 27.065MHz AM/FM CH19: 27.185 FM |
| 26.565-26.955 | 41CH-80CH (4W) FM only |






















