HEATSTRIP TGH34PL-2 Outdoor Radiant Gas Heater

DANGER
If you smell gas Shut off gas to the appliance. Extinguish any open flame.
If the odor continues, keep away from the appliance and immediately call your gas supplier or your fire department.
WARNING
Improper installation, adjustment, alteration, service, or maintenance can cause property damage, injury or death. Read this operating and assembly instruction thoroughly before installing or serving this heater. FOR OUTDOOR USE ONLY. THIS APPLIANCE MUST NOT BE INSTALLED OR USED INDOORS. The appliance is to be protected from rain.
- This appliance must be used only for outdoor area and shall not be used in a building, garage or any other enclosed area. This appliance must not be installed or used indoors. This appliance must be placed on level firm ground.
- This appliance shall only be used in an above-ground open-air situation with natural ventilation, without stagnant areas, where gas leakage and products of combustion are rapidly dispersed by wind and natural convection.
- Any guard or other protective device removed for servicing (conducted by an authorized person) must be replaced before operating the heater.
- Do not install in very windy locations. Do not transport or move the heater while it is operating.
- Children and adults should be alerted to the hazards of high surface temperatures and should stay away to avoid burns or clothing ignition.
- Children should be carefully supervised when they are in the area of the heater.
- Clothing or other flammable materials should not be hung from the heater or placed on or near the heater.
- Do not perform maintenance until heater has been turned off, and heater has cooled to room temperature.
- Do not expose the burner to water or moisture. The appliance must be protected from rain.
- Do not use the heater if any parts are damaged by exposure to water until the appliance is inspected or repaired by an authorized service person.The installer is to ensure that the requirements of the local authority, local gas fitting regulations, municipal building codes, and any other relevant statutory regulations are carried out.
- Certain materials or items, when stored under or near the appliance, will be subjected to radiant heat and could be seriously damaged.
- All leak tests should be done with a soap solution. Never use an open flame to check for leaks.
- Do not use the heater until all visible gas connections have been leak tested. Never test for leaks with an open flame. Prior to first use, at the beginning of each season, or every time your LP Gas Cylinder is changed, you must check for gas leaks.
- The radiant heater is NOT intended to be installed on recreational vehicles or boats.
- Do not attempt to alter the unit in any manner.
- Do not paint any surface of the heater or reflector.
- Burner and circulation air passageways of the heater must be kept clean. Frequent cleaning may be required as necessary.
- Check the heater immediately if any of the following occurs:
- The heater does not reach temperature.
- The burner makes a popping noise during use (a slight noise is normal when the burner is ignited or extinguished). This appliance is not intended for use by a young or infirm people unless they have been adequately supervised by a responsible person to ensure that they can use the appliance safely.
- Check for damage to the appliance regularly. If damage to the appliance is suspected, discontinue use immediately and contact the supplier or qualified person for repair.
- Avoid inhaling fumes emitted from the heater’s first use. Smoke and odor from the burning of oils used in manufacturing will appear. Both the smoke and odor will dissipate after approximately 30 minutes.
- Storage of an appliance indoors is permissible only if the cylinder is disconnected and removed from the appliance.
- Do not store a spare LP gas cylinder under or near this appliance.
- The heater head angle retaining pin must be inserted if transporting the heater to ensure no damage occurs during transit.
IMPORTANT
READ THIS MANUAL CAREFULLY before installing or operating this product. Failure to comply with these instructions could result in a fire or explosion that could cause serious bodily injury, death or property damage.
DANGER
- Do not store or use flammable liquids or vapors in the vicinity of this appliance.
- An LPG cylinder not connected for use shall not be stored in the vicinity of this appliance.
- DO NOT PLACE ARTICLES ON OR AGAINST THIS APPLIANCE.
- DO NOT USE OR STORE FLAMMABLE MATERIALS NEAR THIS APPLIANCE.
- DO NOT SPRAY AEROSOLS OR FLAMMABLE MATERIALS IN THE VICINITY OF THIS APPLIANCE WHILE IS IN OPERATION.
Thermofilm Australia Pty Ltd is the expert on this product and trained to help you with:
Assembly QuestionsHeater Operation Replacement of Damaged or Missing parts 17 Johnston Court, Dandenong South, Victoria 3175, Australia Telephone: (03) 9562 3455 8:30am-5:00pm Mon-Fri EST Email: [email protected]
OUTDOOR AREAS SAFETY APPLIANCE LOCATIONS
- This appliance is for outdoor use only.
- This appliance must be placed on level firm ground.
- This appliance shall only be used in an above ground open-air situation with natural ventilation, without stagnant areas, where gas leakage and products of combustion are rapidly dispersed by wind and natural convection.
Any enclosure in which the appliance is used shall comply with one of the following:
- An enclosure with walls on all sides, but at least one permanent opening at ground level.
- Within a partial enclosure that includes an overhead cover and no more than two walls.
- Within a partial enclosure that includes an overhead cover and more that two walls, the following shall apply:
- At least 25% of the total wall area is completely open.
- At least 30% of the remaining wall area is open and unrestricted.
- In the case of balconies, at least 20% of the total wall area shall be and remain open and unrestricted.
The following diagrams are examples of outdoor areas. These same principles apply to any other shaped area.
FOR YOUR SAFETY
LPG CYLINDER USE AND SAFETY
- Close the LPG cylinder valve whenever the heater is not in use.
- This heater is for outdoor use only. The LPG gas cylinder must be disconnected when the heater is not in use for prolonged periods. If the heater is to be stored indoors, you must remove and store the LPG gas cylinder outdoors. Store in a well-ventilated area and out of reach of children,
- The heater is designed for use with a 9KG LPG cylinder. Do not connect the heater to the LPG cylinder exceeding this capacity.
- The gas cylinder should be filled by a reputable gas dealer or exchanged at a reputable cylinder exchange outlet.
- Always keep the cylinder in an upright position. Always close the cylinder valve when the heater is not in use.
- Do not subject the gas cylinder to excessive heat.
DANGER
- NEVER OPERATE THIS HEATER WITHOUT A REGULATOR.
- DO NOT BYPASS THE SAFETY DEVICES.
- DO NOT ATTEMPT TO CONVERT THE HEATER FOR NATURAL GAS USE.
- FAILURE TO COMPLY WITH THESE INSTRUCTIONS COULD RESULT IN A FIRE OR EXPLOSION WHICH COULD CAUSE SERIOUS BODILY INJURY, DEATH,OR PROPERTY DAMAGE.
HOSE AND REGULATOR SAFETY
- The regulator and hose assembly supplied with the heater are suitable for liquefied petroleum gas.
- A gas regulator adjusted to have and outlet pressure of 2.75 kpa is supplied for LCC27 connection to the LPG cylinder. The regulator and hose assembly supplied with the heater must be used. Replacement regulators and hose assemblies must be those specified by the appliance manufacturer.
- When connecting the hose and regulator assembly to the gas cylinder, take care to avoid unnecessary twisting of the flexible hose. After the assembly has been secured, turn on the gas and check for leaks by brushing a soap and water solution over all connections. The presence of bubbles will indicate a gas escape. DO NO TEST FOR GAS ESCAPES WITH AN OPEN FLAME.
- If you are unable to correct the leak by tightening the connections, turn off the gas and contact your place of purchase immediately.
- Always ensure the patio heater is kept away from flammable materials and the gas cylinder clear of any heat source.
- When changing over from an empty gas cylinder to a full one, make sure this proce-dure is carried out in a flame-free atmosphere.
- Inspect the gas hose before each use and when replacing the gas cylinder. If the hose is cracked, cut, abraded or damaged in any way, the heater must not be operated. The hose must be replaced if damaged or when statutory conditions require it. Contact your place of purchase if uncertain.
- The hose and regulator should be disconnected from the cylinder when the heater is not in use. DO NOT DISCONNECT THE GAS HOSE FROM THE APPLIANCE.
- The hose assembly must be replaced prior to the appliance being put into operation if there is evidence of excessive abrasion or wear, or if the hose is damaged. The replacement hose must be purchased from Thermofilm Australia Pty Ltd.
PRODUCT OVERVIEW
Specification
- Outdoor Gas Radiant Heater
- Model Type
- Post
- Model No
- TGH34PL-2
- Gas Type
- Propane
- Universal LPG
- Test Point Pressure
- 2.75 KPA
- Nominal Gas Consumption
- 34 Mi/h
- Injector Size
- 0.84mm4
- Gas Cylinder Connection
- LCC27 Connection
- Hose Connection
- 5/8″-18UNF(3/8″SAE)
- Net Weight
- 31.5 kg
- AGA Approval No.
- 8442 G
Dimension and Clearance Detail
IMPORTANT 1 : MINIMUM CLEARANCES TO COMBUSTIBLE MATERIAL, FROM TOP 500mm, SIDE 1000mm, FRONT 1000mm, REAR 300mm.
IMPORTANT 2 : ALWAYS LOCATE AND OPERATE HEATER ON A FLAT-LEVEL SURFACE.
Hardware Pack For TGH34PL-2
- PART:
- PART DESCRIPTION
- QTY
- PURPOSEOF PART
- PO6033002A Hardware Pack
- 1 For use in assembly of TGH34PL-2
- $112MO6102 Pan Head Screw M6 x 10mm
- nstall Lower Post to Base
- $112M06102 Pan Head Screw M6 x 10mm
- Install Side Panels to Lower Post & Base
- $112MO6102 Pan Head Screw M6 x10mm
- $112M05102 Pan Head Screw M5 x 10mm
- Install Head Deflactor to Head
- S112MO6102 |Pan Head Screw M6 x 10mm
- 14 Install Back Panel to Upper Post
- PO5501166D Pin d6 x 150mm
- PO5501164B R Cotter Pin
- Install Heater to Upper Post
- S020100223 Bolt M6 x 150mm
- S411MO606A |Wing Nut M6
- $112MO6102 Pan Head Screw M6 x 10mm
- Install Upper Post to Lower Post
- $112MO6102 Pan Head Screw M6 x10mm
- Install Real panel to Side Panel & Lower Post
- $112M05102 Pan Head Screw M5 x10mm
- Screwdriver
Hardware Diagram for TGH34PL-2
Parts Diagram
For the repair or replacement parts contact Thermofilm Australia Pty Ltd
17 Johnston Court, Dandenong South, Victoria 3175, Australia Telephone: (03) 9562 3455 8:30 am-5:00 pm Mon-Fri (EST) Email: [email protected] obtain the correct replacement parts for your gas radiant heater, please refer to the part numbers in this parts list. The following information is required to ensure you receive the correct parts:
- Model and Serial Number (see label on the heater)
- Part Number
- Part Description
- Quantity of parts needed
Important: Use only genuine Heatstrip replacement parts. The use of any part that is not a genuine Heatstrip replacement part can be dangerous and will also void your product warranty.
Parts List
Parts Diagram
Parts List
Assembly Instructions
CAUTION: To assemble this heater, you should obtain assistance from another person when handling the larger, heavier pieces.
Install the Lower Post
Attach 2 Pan Head Screw on Base halfway.
attach Lower Post to Base using 3 Pan Head Screws M6x10mm, then tighten all the screws securely.
- Pan Head Screw M6x10mm Qty. 5
- Part # S112M06102

Install Side Panels
- Place two Side Panels onto the Base.
- Install the Left Side Panel to the Lower Post using 2 Pan Head Screws M6x10mm. Install the Left Side Panel to the Base using 3 Pan Head Screws M6x10mm. Repeat the same procedure for the
- Right Side Panel, then tighten all the screws securely.

- Pan Head Screw M6x10mm Qty. 10
- Part # S112M06102

Install Head Deflector and Battery
Install Head Deflector to the Head Assembly using 3 Pan Head Screws M5x10mm, then tighten all the screws securely.
Attach AA Battery
- Pan Head Screw M5x10mm Qty. 3
- Part # S112M05102

- AA Battery

Assembly Instructions
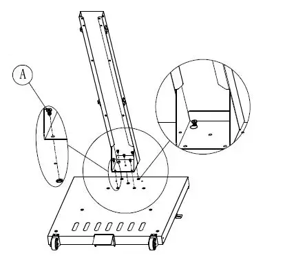
Install Heater Head
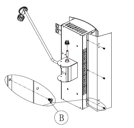
- Lay Heater Upper Assembly on a non-abrasive surface (carton or table). Remove pre-assembly screw from back panel of post upper.
- Insert the Regulator with Hose to the Upper Post and attach Back Panel using 14 Pan Head Screws M6x10mm, then tighten all the screws securely.

Install Post Connector
- Insert the Upper Post with heater head and attach 6 Pan Head Screws M6x10mm, then tighten all the screws securely.
- Pan Head Screw M6x10mm Qty. 6
- Part # S112M06102


Install Rear Panels
- Install the Upper Rear Panel to the Lower Post using 2 Pan Head Screws M6x10mm.
- Install the Upper Rear Panel to the Side Panels using 4 Pan Head Screws M5x10mm, then tighten all the screws securely.
- Place the Lower Real Panel in position over the gas bottle enclosure area.



USE AND CARE INSTRUCTIONS
Check for Gas Leaks
Never test for leaks with an open flame. Prior to first use, at the beginning of each season, or every time your LP Gas Cylinder is changed, you must check for gas leaks. Follow these three steps:
- Make a soap solution by mixing one part liquid detergent and four parts water.

- Pull “off” down, then turn on gas at source.
- Apply the soap solution to all visible gas connections. If bubbles appear in the soap solution the connections are not properly sealed. Check each fitting and tighten or repair as necessary.

WARNING
Failure to read and follow the Use and Care Instructions could result in a fire or explosion that could cause serious bodily injury, death or property damage.If you have a gas leak that cannot be repaired by tightening, turn off the gas at the source, disconnect fuel line from your heater and call (03) 9562 3455 or your gas supplier for repair assistance.
LIGHTING INSTRUCTION
Heater Lighting Instructions
Before each use, check all hoses for cracks, nicks, cuts, burns or abrasions. If a hose is damaged in any way, do not use your heater before replacing the hose with an authorized part from the Parts List. Also make sure all gas supply connections are securely tightened.Familiarize yourself with the safety and Use and Care Instructions in this Manual. Do not smoke while lighting heater or checking gas supply connections.Always light the heater standing to the side of the heater, never light the heater standing in front.
WARNING
Failure to replace a faulty hose, secure gas supply connections before proceeding to the Lighting Procedures could result in a fire or explosion that could cause serious bodily injury, death, or property damage.
- Set Control Knob to OFF and open the LP Gas Cylinder valve.Open LP Gas Cylinder
- Pull the trigger “ON” down, “click” will be heard.
- Once the pilot flame is established, keep pulling the trigger down for 10 seconds to ensure that the burner remains lit.
- If the burner does not ignite, turn gas off at source and Pull the trigger “OFF” down.
- Wait at least 5 minutes for gas to clear, then retry. If your heater still fails to light, turn the Control Knob and gas source OFF. Wait 5 min-utes for gas to clear and then conduct a gas leak test. If no
- leaks are detected, repeat the lighting procedure.

5. When the heater is not in use, Pull the trigger “OFF” down and turn off the gas source.
WARNING
If the appliance still cannot be lit, contact (03) 9562 3455 for assistance.
CLEANING AND MAINTENANCE
Proper care and maintenance will keep your heater in top operating condition and prolong its life. Follow these cleaning procedures on a timely basis and your heater will stay clean and operate with minimum effort.
CAUTION
Be sure your heater is OFF and cool before cleaning. CLEANING EXTERIOR PAINTED SURFACESBefore initial use, and periodically thereafter, we suggest you wash your heater using a mild soap and warm water solution. You can use a wash cloth or sponge for this process.Never use abrasive cleaners, scrubbers or stiff wire brushes of any type on your heater. These will scratch painted surfaces during the cleaning process. Ensure the appliance is dried after cleaning to prevent rusting. It is recommended the heater be operated on high heat after cleaning to ensure the appliance is dry.Failure to comply with these instructions could result in a fire or explosion that could cause serious bodily injury, death or property damage.Keep heater area clear and free from combustible materials, gasoline and other flammable vapors and liquids.Keep the ventilation openings of the cylinder enclosure cabinet free and clear of debris.
WARRANTY TERMS
Thermofilm warrants to the original owner that HEAT STRIP products will be free from defects in materials and workmanship for a period of 24 months from the date of purchase in accordance with the following warranty terms and conditions.
Provision of this warranty is subject to
The HEAT STRIP products must be installed in accordance with the Installation Instructions and relevant gas and electrical standards and codes.The HEAT STRIP products must be maintained and cleaned according to instructions detailed in the Installation Manual.There is no warranty expressed or implied with regard to capacity requirements. The selection of the unit or units depends entirely upon the system design and capacities as determined by the purchaser.The customer has not repaired, opened or altered the product in any unauthorized manner.This warranty excludes damage to the product or components arising from circumstances outside the control of the Thermofilm, including, but not limited to, where the product is not used for its intended purpose; where the product has been rectified in any way; incorrect installation; incorrect power supply; damage caused during delivery; misapplication, misuse, abuse, vandalism, lack of maintenance or accident.The original invoice, including serial number are required for any claim made pursuant to the terms of the warranty. Thermofilm is not liable for, and will not authorize repairs resulting from product not performing correctly as a result of being used in an environment where the ambient temperature and humidity are outside the operating conditions specified for these items. Transportation charges involved in return of the product to the Thermofilm factory (or any other location authorized in writing by Thermofilm) is the sole responsibility of the customer.
The following are not covered under this warranty
- Breakage of the burner tiles .
- Rust and or discoloration due to heat or corrosive environments
- Damage or failure due to incorrect installation of gas supply.
- Any damage or loss attributable to failure to provide adequate ventilation for the product as specified by the manufacturer.
- Thermofilm does not participate in any site related costs or labour expenses incidental to replacement of parts, repairing, removing, installing, servicing, transportation or handling of parts to complete products, and assumes no liability on parts repaired or replaced without written authorization.
- Thermofilm shall not be liable for any default or delay in performance of its warranty obligations caused by any circumstances beyond its control, including, but not limited to, judicial or government restrictions, strikes, fires, floods, abnormal weather conditions, delayed supply of components.
Should products be determined as damaged on arrival, immediately notify the transport company of the condition and have them noted on the freight documents? If damage is discovered after unpacking, demand immediate inspection by the transportation company and insist that a record of the damage is made on the freight documentation.
The customer warrants using the product in accordance with
- Any instructions provided to it by Thermofilm from time to time.
- All government and local regulations, including but not limited to all relevant gas electrical, environmental laws and regulations governing the installation, storage, use, handling and maintenance of the goods.
- All necessary and appropriate precautions and safety measures relating to the installation, storage, use, handling and maintenance of goods.
Our goods come with guarantees that cannot be excluded under the Australian Consumer Law. You are entitled to a replacement or refund for a major failure and for compensation for any other reasonably foreseeable loss or damage. You are also entitled to have the goods repaired or replaced if the goods fail to be of acceptable quality and the failure does not amount to a major failure.
All warranty requests for repairs or replacements must be accompanied by a complete “Warranty Claim Form” available from Thermofilm, together with proof of purchase (and where possible, photos of the installation) and the heater returned to the place of purchase.In the event of a warranty claim, the goods need to be returned to the distributor/retailer for repair replacement.
Contact Thermofilm Australia Pty Ltd17 Johnston Court, Dandenong South, Victoria 3175, Australia Telephone: (03) 9562 3455, Email: [email protected]
Parts Diagram

Parts List
Assembly Instructions





























