Heatstrip TF2200RW Off White Electric Radiant Heater With Remote 
Installation Manual
- Electric heater for protected undercover outdoor and indoor areas such as alfresco areas, verandas, patios, garages, bathrooms etc.
Features & Benefits
- 2200 Watts
- Gentle heat output, slimline design.
- LED control panel with easy On/Off functionality, 3 heat levels and adjustable 0-24 hour timer.
- Suitable to heat a 3-4m2 area, when ceiling mounted.
- Anodised alloy construction. Profiled off-white heater. No glow.
- Supplied with 1.5m lead and plug and mounting brackets for DIY installation.
- Direct overhead ceiling mounting is the preferred mounting method.
Specifications
| Model | TF2200RW |
| Heater Type | Electric radiant overhead heater |
| Power | 230-240 Volts Nominal at 50-60Hertz, Single Phase, 2200Watts, 9.2 Amps |
| Connection | 1.5M long 3 Core Cable 2.5mm2 with Plug |
| Approvals | Australia/NZ |
| Heating Area (m2) | 3-4 |
| Mounting Height | MINIMUM 2.1m RECOMMENDED 2.3m-2.4m MAXIMUM 2.5m |
| Mounting Options | Suitable for ceiling and angled wall mounted using the provided brackets |
| Protection Rating | IPX4 |
| Dimensions & Weight | 1144mm X 162mm X 50mm 4.7Kgs |
HEATSTRIP® TF2200RW
- The TF2200RWis a custom-designed and manufactured heater. It has been designed for ease of use and to provide low running cost. It provides 3 levels of temperature control, an Adjustable set timer option from 0-24 hours with the touch of a button.
- When the heater is plugged in or hardwired, press “power” on the remote, the power indicator light on the unit will light up and indicate the L1, L2, L3 using the + or – to change the heat settings, To set the timer click through the 0-24 hour timer.
TF2200RW Functions
- L1 is the lowest heat setting and L3 is the highest heat setting.
- The timer function has 0-24 hour timer. This feature is ideal for applications such as alfresco areas, restaurant dining, assembly line production etc. when continuous heat is not required.
- The timer also reduces the likelihood of heaters being inadvertently left turned on.
Remote pairing
- All units operate using the same remote control frequency, therefore multiple heaters can be operated using a single remote control. The remote will function at a distance of over 2m when used in a straight line.
- This distance reduces when used at an angle.

| Remote battery | 1 x CR2025 (Lithium Battery) Battery Supplied |
| Remote range | 2m |
| Wall socket supply | 220V — 240V, 50Hz |
| Max load | 10A (2400W) |
| Standby consumption | <1W |
| Remote frequency | 38kHz IR |
Remote Control Operation
Installation Requirements
- The ideal mounting position for the heater is on the ceiling directly above the area to be heated. If this is not possible, the heater can be mounted on a wall and angled downwards. In this situation, ensure the mounting height is in the range of 2.1m to 2.4m and the table is within 1.0m of the wall. Mounting heights above 2.5m are not recommended. Mounting heights between 2.3m – 2.4m is optimal.
- Electrical connections/GPOs should not be located at the back of the heater. They should be located outside the physical footprint of the units to minimize heat build-up behind the units.
- If the heater is to be mounted on an incline (e.g. vaulted ceiling), ensure the electrical connection is located at the lowest point of the heater.
- The heater can be plugged directly into a standard 10Amp GPO.
- The heater can also be hardwired by a licensed electrician.


- The heating surface must never be directed toward the ceiling
Installation location
- the diagrams below provide the minimum recommended clearances in (mm).
WARNING: This heater is not equipped with a device to control the room temperature. Do not use this heater in small rooms when they are occupied by persons not capable of leaving the room on their own, unless constant supervision is provided.
Angled Wall Installation
Ceiling Installation
Angled Ceiling Installation
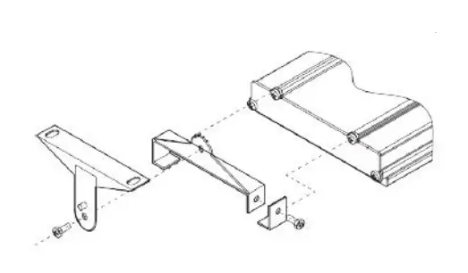
Standard Mounting Brackets
- The HEATSTRIP® TF2200RB comes with a pair of standard mounting brackets. These adjustable brackets allow direct ceiling or wall mount and come with preset angle options of parallel, 22.5˚, and 45˚.

| MODEL | “X” MINIMUM DISTANCE (mm) |
| TF2200RW | 1000 |
- Putting the Standard Mounting Bracket together.

- Adding chains to Standard Mounting Bracket.


| Part No | PACKAGED DIMENSIONS | WEIGHT (kg) | MATERIAL |
| ZBRAK-155 | 125 x 150 x 40 | 0.2 | ALLOY |
Table Layout
- The approximate number of heaters required to heat a common residential table setting is given below.
1x TF2200RW
2x TF2200RW
Safety
- The TF2200RW has an IP rating of X4. This means it is protected against water splashed from all directions but limited water ingress is permitted.
- The TF2200RW has undergone extensive testing both in laboratory conditions, in Thermofilm’s manufacturing facility and field trials in Australia and overseas. It is this testing that gives the purchaser the confidence of a high quality product.
- Independent laboratory testing has confirmed Thermofilm’s full compliance with Australian and New Zealandstandards.
- TF2200RW is Class 1 equipment and must be earthed.
- In operation, this heater is VERY HOT— do not touch any part of the heater while it is turned on. Do not touch anypart until 30 minutes after it is turned off.
- This appliance is not intended for use by persons (including children) with reduced physical, sensory or intellectual capabilities, or lack of experience and knowledge, unless they have been given supervision or instruction concerning
- use of the appliance by a person responsible for their safety. Children should be supervised to ensure they do not play with the appliance.
- Do not allow any cables, furnishings, flammable materials or other items come in contact with any surface of the heater.
- If installed in wet areas, the heater switches or controls must be located so that they cannot be touched by persons in the bath or shower.
- The heater needs to be installed as per the installation instructions paying special attention to the minimum clearances.
- The heater needs to be mounted on a rigid bracket or fixing.
- The heater must not be mounted immediately below or in front of a socket outlet.
Warranty Terms & Conditions
The below Warranty Terms and Conditions apply for New Zealand and Australia only. For international warranty please refer to international warranty terms and conditions. Thermofilm warrants to the original owner that HEAT STRIP Elegance products will be free from defects in materials and workmanship for a period of 12 months from the date of purchase for residential applications and 12 months for commercial applications in accordance with the following warranty terms and conditions.
Provision of this warranty is subject to:
- The HEATSTRIP® products must be installed in accordance with the Installation Instructions and relevant electrical standards and codes.
- The HEATSTRIP® products must be maintained and cleaned according to instructions detailed in the Installation Manual.
- There is no warranty expressed or implied with regard to capacity requirements. The selection of the unit or units depends entirely upon the system design and capacities as determined by the purchaser.
- The customer has not repaired, opened or altered the product in any unauthorized manner.
- This warranty excludes damage to the product or components arising from circumstances outside the control of the Thermofilm, including, but not limited to, where the product is not used for its intended purpose; where the product has been rectified in any way; incorrect installation; incorrect power supply; damage caused during delivery; misapplication, misuse, abuse, vandalism, lack of maintenance or accident.
- Thermofilm’s obligations under this warranty are limited to repair or replacement at Thermofilm’s factory of any components of the product which Thermofilm identifies to its satisfaction to be defective.
- Transportation charges involved in the return of the product to the Thermofilm factory (or any other location authorized in writing by Thermofilm) is the sole responsibility of the customer.
- All products are inspected and tested before despatch and are at the risk of the purchaser after the shipment from the Thermofilm factory, if not delivered by Thermofilm to the destination.
- No products or components will be supplied in advance of an examination of the faulty product or components by Thermofilm or an authorized representative of Thermofilm.
- Thermofilm does not participate in any site-related costs or labor expenses incidental to replacement of parts, repairing, removing, installing, servicing, transportation or handling of parts to complete products, and assumes no liability on parts repaired or replaced without written authorization.
- Thermofilm shall not be liable for any default or delay in performance of its warranty obligations caused by any circumstances beyond its control, including, but not limited to, judicial or government restrictions, strikes, fires, floods, abnormal weather conditions, delayed supply of components.
- Should products be determined as damaged on arrival, immediately notify the transport company of the condition and have them noted on the freight documents. If damage is discovered after unpacking, demand immediate inspection by the transportation company and insist that a record of the damage is made on the freight documentation.
The customer warrants using the product in accordance with:
- Any instructions provided to it by Thermofilm from time to time.
- All government and local regulations, including but not limited to all relevant electrical, environmental laws and regulations governing the installation, storage, use, handling and maintenance of the goods.
- All necessary and appropriate precautions and safety measures relating to the installation, storage, use, handling and maintenance of goods.
Our goods come with guarantees that cannot be excluded under the Australian Consumer Law. You are entitled to a replacement or refund for a major failure and for compensation for any other reasonably foreseeable loss or damage. You are also entitled to have the goods repaired or replaced if the goods fail to be of acceptable quality and the failure does not amount to a major failure. All warranty requests for repairs or replacements must be accompanied by a complete “Warranty Claim Form” available from Thermofilm, together with proof of purchase (and where possible, photos of the installation) and the heater returned to the place of purchase. In the event of a warranty claim, the goods need to be returned to the distributor/retailer for repair/replacement.
- Thermofilm Australia PTY LTD 17 Johnston Court Dandenong South 3175 Vic
- Ph: 03 9562 3455
- E: [email protected]


























