ARISTA 7000 Series 2 RU Data Center Switches User Guide

Cabling the Switch
4.1 Grounding the Switch
After mounting the switch into the rack, connect the switch to the data center ground.
Important! Grounding wires and grounding lugs (M4 x 0.7) are not supplied. Wire size should meet local and
national installation requirements. Commercially available 6 AWG wire is recommended for
installations in the U.S
4.1.1 Models with Grounding Pads
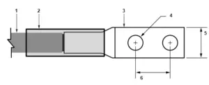
Use the grounding pads (Figure 4-1) to attach the grounding lug before connecting to the data centern ground.
Figure 4-1: Earth Grounding for models with ground attach point

- Fan Module 1 4 Fan Module 4 7 Grounding
- Fan Module 2 5 Power Supply Module 1
- Fan Module 3 6 Power Supply Module 2
4.1.2 Models without Grounding Pads
For models that do not have grounding pads, use an adapter as shown for the DCS-7050SX3-96YC8 (Figure 4-2). Assemble an adapter to attach to the chassis (Grounding Adapter Assembly). Attach the
grounding lug to the adapter, once it is attached to the chassis.
Note A representative 1 RU chassis is used for the illustrations to highlight the grounding adapter assembly and attachment.
Figure 4-2: Earth Grounding Adapter for models such as DCS-7050SX3-96YC8
4.1.3 Grounding Adapter Assembly
Use the following steps to assemble and attach a grounding assembly to the chassis before mounting it into the rack for models that require the grounding adapter. Figure 4-3 shows the exploded and assembled views. Figure 4-3: Earth Grounding Adapter Assembly for models such as DCS-7050SX3-96YC8
Note The chassis is shown upside down in the following figure. Step 1 Identify all the components to be assembled.
Chapter 4: Cabling the Switch
- 1x Grounding adapter
- 1x Grounding bracket
- 2x Flat-head screws (Phillips,M4 x 5.00 long, stainless steel)
- 2x Hex nuts (#10-32, Serrated Flange, stainless steel)
- 1x Grounding lug (Copper, 2-hole, 6 AWG, straight barrel)
Step 2 Insert the grounding adapter through the holes in the grounding bracket.
Step 3 Insert the ground lug on to the grounding adapter studs and fasten using the hex nuts to form the grounding assembly.
Step 4 With the chassis on its top on a flat surface, attach the grounding assembly to the chassis using the flat head screws.
Step 5 Turn the chassis over before mounting it into a rack and connecting cables.
4.2 Connecting Power Cables
Important! Installation of this equipment must comply with local and national electrical codes. If necessary, consult with the appropriate regulatory agencies and inspection authorities to ensure compliance.
The switch operates with two installed power supplies. At least one power supply must connect to a power source. Two circuits provide redundancy protection. Appendix D displays the location of the power supplies on the rear panel of the switch. Important! Read all installation instructions before connecting the system to the power source.
- Non-Redundant Configuration: Connect power to either of the two power supplies.
- Redundant Power Supply Configuration: Connect power to both power supplies.
- Power down the Switch: Remove all power cords and wires from the power supplies.
Important! This equipment must be grounded. Never defeat the ground conductor.
Important! This unit requires overcurrent protection.
4.2.1 AC Power Supplies
(Figure 4-4) shows a supported AC power supply. The following AC power supplies are supported.
Note Several PSUs support both forward and reverse airflow directions.
Connecting Power Cables
- PWR-500AC • PWR-1900AC • PWR-2411-AC
- PWR-1100AC • PWR-745AC • PWR-1011-AC
Power requirements vary by switch. Refer to Table 1-1 for information regarding your system as devices are supported only by the specified power supplies. The AC power supply connects to a circuit that
provides the required power. Figure 4-4 displays an AC power supply, including the power socket on the left side of the module. Figure 4-4: AC Power Supply
The accessory kit provides two IEC-320 power cables for the supported power supply for the device.
4.2.2 DC Power Supplies
The following power supplies are supported
- PWR-500DC • PWR-2411-DC
- PWR-1900DC • PWR-1011-DC
Figure 4-5 displays two supported DC power supplies
Figure 4-5: Supported DC power supplies
Important! A disconnect device must be provided as part of the installation .
Chapter 4: Cabling the Switch
Important! Ensure power is removed from DC circuits before performing any installation actions. Locate the disconnect device, circuit breakers or fuses on DC power lines servicing the circuits.
Turn off the power line circuits or remove the fuses.
Important! Wire size must comply with local and national requirements and electrical codes. Use only copper wire.
Important! Apply ground connection to the switch first during installation and remove last when removing power.
4.2.2.1 Wire and Lug Preparation
Before performing any installation actions, ensure power is removed from DC circuits by turning off the power line servicing the circuits. Prepare the stranded wiring before you begin a DC power installation.
Note Stranded copper wiring is required and should meet local and national installation requirements. Wires and grounding lugs are not supplied
Step 1 Attach an ESD grounding strap.
Step 2 Prepare the stranded copper wiring for the power supply to be used. Table 4-1 provides wiring, lug, and tightening torque information for the power supplies covered in this guide.
Table 4-1 Wiring, Lug, and Tightening Torques for DC PSUs
| PSU | Wire Size(1) (AWG) (mm2) | Lug Type(2) | Tightening Torque N•m in.•lbs. | ||
| PWR-500-DC | 14 or larger | 2.0 or larger | ring or spade/fork | 1.0 | 9 |
| PWR-1900-DC | 4 – 6 | 21.2 – 13.3 | 2.7 | 24 | |
| PWR-1011-DC | 6 – 8 | 16.0 – 10.0 | 2.7 | 24 | |
| PWR-2411-DC | 2 – 4 | 35.0 – 25.0 | 2.7 | 24 | |
- Unless otherwise noted, wire size applies to -48V, Battery return, and Protective earth wires.
- Unless otherwise noted, twin #10 studs spaced for dual-hole lug with 5/8″ hole spacing.
Step 3 Strip the wires to the appropriate length for the lugs to be used.
Step 4 Use agency-approved compression (pressure) lugs for wiring terminations.
Step 5 Slip on heat-shrink tubing on the wire ends before assembling the lugs on to the wire.
Connecting Power Cables Chapter 4: Cabling the Switch
Step 6 Crimp the lugs with the proper tool, and ensure that the tubing extends over the barrel of the lugs and the insulation on the wires (Figure 4-6). Figure 4-6: Lug preparation

- Insulated wire 3 Lug 5 1/2”
- Heat-shrink tubing 4 1/4” 6 5/8”
Step 7 Shrink the tubing with a heat gun.
4.2.2.2 Connecting a DC Power Supply to Power Source
Figure 4-7 displays an example of connecting a PSU. To connect a DC power supply to a power source, perform the following:
Step 1 Prepare the stranded wiring (Wire and Lug Preparation).
Step 2 Attach the appropriate lugs to the source DC wires.
Step 3 Connect the DC-input wires to the appropriate terminals using the specified torque (Table 4-1) in the following order.
Note Remove terminal covers as needed.
a. Ground wire to the Protective Earth (PE ) terminal.
b. Negative source DC cable to the negative (- / -48V) terminal.
c. Positive (+) source DC cable to the positive (+ / Rtn) terminal.
Step 4 Replace the terminal covers as required
Figure 4-7: DC PSU connection example

4.3 Connecting Serial and Management Cables
The accessory kit includes the following cables:
- RJ-45 to DB-9 serial adapter cable.
- RJ-45 Ethernet cable.
Table 4-2 lists the pin connections of the RJ-45 to DB-9 adapter cable.
Table 4-2 RJ-45 to DB-9 Connections
| RJ-45 | DB-9 | RJ-45 | DB-9 | |||||
| RTS | 1 | 8 | CTS | GND | 5 | 5 | GND | |
| DTR | 2 | 6 | DSR | RXD | 6 | 3 | TXD | |
| TXD | 3 | 2 | RXD | DSR | 7 | 4 | DTR | |
| GND | 4 | 5 | GND | CTS | 8 | 7 | RTS | |
The front panel contains the console, management, and USB ports. Figure 4-8 displays the ports on the DCS-7050SX-128 switch. Appendix C displays the front panel of all switches covered by this guide.
Figure 4-8: Front Panel Ports

- Console serial port
- Ethernet management ports
- USB port
Connecting Serial and Management Cables
Connect the front panel ports as follows:
- Console (Serial) Port: Connect to a PC with the RJ-45 to DB-9 serial adapter cable. The switch uses the following default settings:
- 9600 baud
- No flow control
- 1 stop bit
- No parity bits
- 8 data bits
- Ethernet Management Port: Connect to 10/100/1000 management network with RJ-45 Ethernet cable.
- USB Port: The USB port may be used for software or configuration updates.
Caution Excessive bending can damage interface cables, especially optical cables. Flexion excessive

















