Schneider Electric HMIDT643 Panel PC

This product is an operator terminal used for machines or system automation. For product usage, you must have detailed information from the Harmony GTU User Manual. You can see the manual by scanning the QR code attached to the product, or from our support site (see below).
NOTE:
Electrical equipment should be installed, operated, serviced, and maintained only by qualified personnel. No responsibility is assumed by Schneider Electric nor any of its affiliates or subsidiaries (hereinafter, referred to as Schneider Electric) for any consequences arising out of the use of this material. If the equipment is used in a manner not specified by the manufacturer, the protection provided by the equipment may be impaired.
DANGER
HAZARD OF ELECTRIC SHOCK, EXPLOSION OR ARC FLASH
- Remove all power from the device before removing any covers or elements of the system, and prior to installing or removing any accessories, hardware, or cables.
- Unplug the power cable from both this product and the power supply prior to installing or removing the product.
- Always use a properly rated voltage sensing device to confirm power is off where and when indicated.
- Replace and secure all covers or elements of the system before applying power to this product.
- Use only the specified voltage when operating this product.
- Since this product is not equipped with a power switch, be sure to connect a power switch to the power supply.
- Be sure to ground this product’s FG terminal.
Failure to follow these instructions will result in death or serious injury.
POTENTIAL FOR EXPLOSION
- Do not use this product in hazardous environments or locations other than Class I,
Division 2, Groups A, B, C, and D. - Substitution of any component may impair suitability for Class I, Division 2.
- Do not connect or disconnect this product unless power has been switched off or the area is known to be non-hazardous.
- Do not attempt to install, operate, modify, maintain, service, or otherwise alter this product except as permitted in this manual. Unpermitted actions may impair the suitability of this product for Class I, Division 2 operation.
- Use only non-incendive USB devices.
- Use the USB (mini-B) interface for temporary connection only during maintenance and setup of the device.
- Do not use the USB (mini-B) interface in hazardous locations.
ELECTRIC SHOCK AND FIRE
When using the SG terminal to connect an external device to this product:
- Verify that a ground loop is not created when you set up the system.
- Connect the SG terminal to remote equipment when the external device is not isolated.
- Connect the SG terminal to a known reliable ground connection to reduce the risk of damaging the circuit.
RISK OF BURNING INJURY
- Do not touch the bezel or rear chassis during operation.
Package Contents

Please confirm that the following items listed are present. If you find anything damaged or missing, please contact customer support.
- Harmony GTU Display Module x 1
- Installation gasket (attached to this product) x 1
- DC power supply connector (right-angle type*1) x 1
- Quick Reference Guide (this guide) x 1 *1 Straight type for HMIDT351
Verificare che l’elenco dei seguenti articoli sia presente. In caso di danni o di mancanza contattare il supporto clienti
| Harmony GTU | Smart Display | HMIDT542 |
| HMIDT642 | ||
| HMIDT643 | ||
| HMIDT732 | ||
| Advanced Display | HMIDT351 | |
| HMIDT551 | ||
| HMIDT651 |
NOTE: You can connect this product with all models of Harmony GTU Box Module, except the HMIDT643. For Box Module models you can connect, refer to the Harmony GTU User Manual.
Parts Identification

- A: Wireless LAN antenna (only for HMIDT643)
- B: Brightness sensor
- C: Front USB cove
- D: USB (Type A) interface
- E: USB (mini-B) interface
- F: Status LED
- G: Power plug connector
Status LED
- After power is turned on, normal status indication by the LED is: red light > flashing orange > green light.
- For other LED indications, refer to the Harmony GTU User Manual.
General Specifications
Rated input voltage
| Rated input voltage | 12…24 Vdc |
| Input voltage limits | 10.8. 28.8 Vdc |
| Power consumption | HMIDT542: 50 W, HMIDT642: 56 W, HMIDT643: 58 W, HMIDT732: 57 W, HMIDT351: 41 W, HMIDT551: 43 W, HMIDT651: 45 W |
| Ambient air temperature | 0…60 °C (32…140 °F) |
| Ambient air and storage humidity (non condensing, wet bulb temperature 39 °C [102.2 °F] or less)/
| 10%…90% RH |
| Pollution degree | 2 |
| Atmospheric pressure
| 800…1,114 hPa (2,000 m [6,561 ft] or lower |
Panel Cut Dimensions

| A | B | C | |
| HMIDT542 | 259 mm (+1/0 mm) (10.2 in [+0.04/0 in]) | 201 mm (+1/0 mm) (7.91 in [+0.04/0 in]) | 1.6… 5 mm (0.06.. 0.2 in) |
| HMIDT642/643 | 301.5 mm (+1/0 mm) (11.87 in [+0.04/0 in]) | 227.5 mm (+1/0 mm) (8.96 in [+0.04/0 in]) | |
| HMIDT732 | 383.5 mm (+1/0 mm) (15.1 in [+0.04/0 in]) | 282.5 mm (+1/0 mm) (11.12 in [+0.04/0 in]) | |
| HMIDT351 | 190 mm (+1/0 mm) (7.48 in [+0.04/0 in]) | 135 mm (+1/0 mm) (5.31 in [+0.04/0 in]) | |
| HMIDT551 | 255 mm (+1/0 mm) (10.04 in [+0.04/0 in]) | 185 mm (+1/0 mm) (7.28 in [+0.04/0 in]) | |
| HMIDT651 | 295 mm (+1/0 mm) (11.61 in [+0.04/0 in]) | 217 mm (+1/0 mm) (8.54 in [+0.04/0 in]) |
Installation
- Display front surface
- Smart Display
- 1 Indoor use only
Installation Requirement
This product is designed for use on flat surfaces of Type 1, Type 4X (Indoor Use Only) or Type 13 Enclosure. Mount this product in an enclosure that provides a clean, dry, robust and controlled environment (IP66F, IP67F, Type 1, Type 4X [Indoor Use Only], or Type 13 Enclosure). For Advanced Display, the front surface is IP66F, IP67F, Type 1, Type 4X (Indoor Use Only) or Type 13 Enclosure. For Smart Display, the front surface is IP66F, IP67F, Type 1, Type 4X (Indoor Use Only) or Type 13 Enclosure. When the front USB cover is open, the front surface is Type 1 Enclosure
Be aware of the following when building this product into an end-use product
- The rear face of this product is not approved as an enclosure. When building this product into an end-use product, be sure to use an enclosure that satisfies standards as the end-use product’s overall enclosure.
- Install this product in an enclosure with mechanical rigidity.
- This product is not designed for outdoor use. UL certification obtained is for indoor use only.
- Install and operate this product with its front panel facing outward.
NOTE: IP66F and IP67F are not part of the UL certification.

Internal temperature
NOTE
- Metal reinforcing strips may be attached to the inside of the wall, near the panel-cut, to increase its rigidity.
- Even if the installation wall thickness is within the specified range, depending on wall’s material, size, and installation location of this product and other devices, the installation wall could warp. To prevent warping, the installation surface may need to be strengthened.
- Check that the ambient air temperature and the ambient humidity are within their specified ranges. When installing this product in a cabinet or enclosure, the ambient air temperature is the internal and external temperature.
- Be sure that heat from surrounding equipment does not cause this product to exceed its standard operating temperature.
- When mounting this product vertically, ensure that the right side of this product faces up. In other words, the DC power connector should be at the top.
- For vertical mounting, make sure your screen editing software supports vertical installation.
- When installing this product in a slanted position, the product face should not incline more than 30°.
- Ensure you have enough space to insert and remove the storage card.
- For Wireless LAN models, do not block the wireless LAN antenna area with your hand, body or other objects. It may cause interference in wireless LAN communications.
Install to the Panel

- Anti-drop lock
- Panel
- Installation fastener
- L-shaped part of the Installation fastener
Number of Installation Fasteners
- 15-inch model: Top – 2, Bottom – 2, Right – 2,
- Left – 2
- 12-inch model or smaller: Top – 2, Bottom – 2,
- Right / Left- None
Using a Phillips screwdriver, gradually tighten (turn clockwise) the screws for the fasteners (top, bottom, left, and right), alternating diagonally between screws until all are secure. Be sure that the L-shaped part of the installation fastener is completely vertical
NOTE
- The necessary torque is 0.5 N•m (4.4 lb-in).
- If the panel is thick (approximately 5 mm [0.2 in]), you may have trouble straightening the L-shaped part of the installation fastener. If this happens, push the display module from the front as you tighten the screws.
Removing from the Panel

- Rear side
- Anti-drop lock
- Panel
- Front side
NOTE: If the panel is thick (approximately 5 mm [0.2 in], you may have trouble straightening the L-shaped part of the installation fastener. If this happens, push the display module from the front as you loosen the screws.
Wiring
- Make sure the ground wire is either the same or heavier gauge than the power wires.
- Do not use aluminum wires in the power supply power cord.
- To prevent the possibility of a terminal short, use a pin terminal that has an insulating sleeve.
- If the ends of the individual wires are not twisted correctly, the wires may create a short circuit.
- The conductor type is solid or stranded wire.
- Use copper wire rated for 75 °C (167°F) or higher.
- Use the SELV (Safety Extra-Low Voltage) circuit and LIM (Limited Energy) circuit for DC input.
- Power cord diameter
- Conductor type
- Conductor length
- Solid or stranded wire

For UL compatibility

- MIZGPWS (Straight type for HMIDT351)
- HMIZGPWS2 (Right-angle type for the models except for HMIDT351)
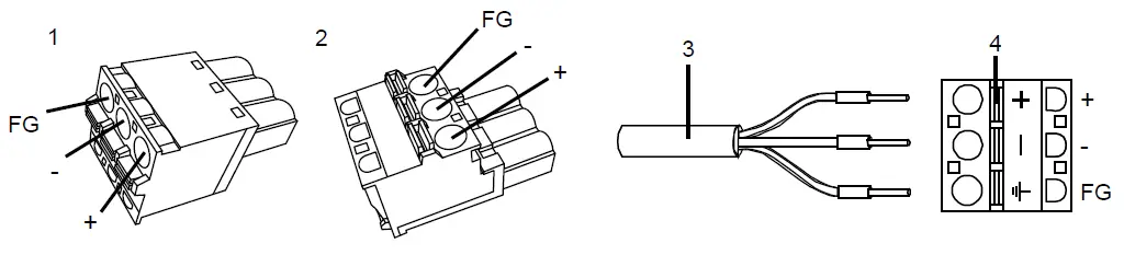
- DC power cord
- Opening button
NOTE:
- You cannot connect the right-angle type to the HMIDT351.
- Do not solder the wire directly to the power crimp pin.
| + | 12…24 Vdc |
| – | 0 Vdc |
| FG | Grounded terminal connected to the panel chassis. |
Precautions
After checking the wiring route carefully, use this product with FG connected to ground.
Grounding
Functional grounding: Grounding resistance of 100 Ω or less and a wire of 2 mm2 (AWG 14) or thicker, or your country’s applicable standard (same for FG and SG terminals).
Front USB Cover

Loosen the screws on the top of the front USB cover with a Phillips screwdriver.
NOTE: The necessary torque is 0.5 N•m (4.4 lb-in).
Replacing the Installation Gasket

The installation gasket is on the rear of the display. Replace it when needed. Use only the replacement gasket for this product. The gasket must be inserted correctly into the groove for moisture resistance on the Display Module.
| HMIDT542 | HMIZD55 |
| HMIDT642 / HMIDT643 | HMIZD56 |
| HMIDT732 | HMIZD57 |
| HMIDT351 | HMIZD53W |
| HMIDT551 | HMIZD55W |
| HMIDT651 | HMIZD56W |
Regular Cleaning
When this product gets dirty, soak a soft cloth in water with a neutral detergent, wring the cloth tightly and wipe this product.
| 15 Part Name | Hazardous Substances | |||||
| (Pb) | (Hg) | (Cd) | (Cr (VI)) | (PBB) | (PBDE) | |
| Metal parts | ○ | ○ | ○ | ○ | ○ | ○ |
| Plastic parts | ○ | ○ | ○ | ○ | ○ | ○ |
| Electronic | × | ○ | ○ | ○ | ○ | ○ |
| Contacts | ○ | ○ | ○ | ○ | ○ | ○ |
| Cables & cabling accessories | ○ | ○ | ○ | ○ | ○ | ○ |
| This table is made according to SJ/T 11364. ○ : Indicates that the concentration of hazardous substance in all of the homogeneous materials for this part is below the limit as stipulated in GB/T 26572. ×: Indicates that concentration of hazardous substance in at least one of the homogeneous materials used for this part is above the limit as stipulated in GB/T 26572. | ||||||
UK Representative: Schneider Electric Limited Stafford Park 5, Telford, TF3 3BL, United Kingdom Manufacturer: Schneider Electric Industries SAS 35 rue Joseph Monier, Rueil Malmaison 92500, France www.se.com


















