JADEMAR JRTDL Series T Grid Lighting System

INSTALLATION REQUIREMENTS
WARNING:
- To reduce the risk of death, personal injury or property damage from fire, electric shock, falling parts, cuts/abrasions, and other hazards read all warnings and instructions included with and on the fixture box and all fixture labels.
- Before installing, servicing, or performing routine maintenance upon this equipment, follow these general precautions.
- Commercial installa on, service and maintenance of luminaries should be performed by a qualified licensed electrician.
- For the installa on: If you are unsure about the installa on or maintenance of the luminaries, consult a qualified licensed electrician and check your local electrical code.
- To prevent wiring damage or abrasion, do not expose wiring to edges of sheet metal or other sharp objects.
- Do not make or alter any open holes in an enclosure of wiring or electrical components during kit installation.
- Turn off electrical power at fuse or circuit breaker box before wiring fixture to the power supply.
- Turn off the power when you perform any maintenance.
- Verify that supply voltage is correct by comparing it with the luminary’s label information.
- All wiring connections should be capped with UL-approved wire connectors.
CAUTION:
- Avoid direct eye exposure to the light source while it is on.
- Account for small parts and destroy packing material, as these may be hazardous to children
- Risk of burn. Disconnect power and allow fixture to cool before changing the bulb or hanging fixture.
GENERAL WIRING DIAGRAM

INSTALLATION INSTRUCTIONS

- Unpack and check the luminaire and accessories. Wear work gloves to keep the light clean, avoiding any oil or dirt transferred to it.
- Turn Off the main power.
- Unlock two nuts at the ends of the linear light (Figure 1).
- Install the linear light to the ceiling grid and tighten two terminal nuts (Figure 2 and Figure 3).
- Unlock the nuts from both ends of junction box (Figure 4).
- Connect the junction box to the linear light and tighten two terminal nuts (Figure 5 and Figure 6).
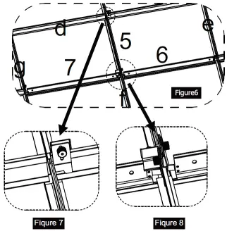
- Connect the connector from lighting unit to the output connector of junction box (Figure 7). Please note one driver can only support max 3 units (Figure 8).
- Open the junction box, connect the L (Live), N (Neutral), and G (Ground) wires by using the 4-pin connectors and connect the dimming wire with the orange connector cap.

- Cover the plasterboard and ensure there`s no opening at the ceiling (Figure 9 and Figure 10).

INSTALLATION INSTRUCTIONS – “▭” shape
- Remove the related T-grid from the drop ceiling according to your shape design. For example, for “▭ ” shape, remove the No.1 , No.2, No.3, No.4, No.5 and No. 6 T-grid; for ” +” shape, remove the No.5 , No.6, No.7 and No. 8 T-grid.
Please note: The adjacent T-grid must be fixed by the pendant. Please do not replace the main tee (Figure 1).
- The “▭” shape installa on steps:
- For the No. 1 light fixture, fix the A-end with wire of the No. 1 light fixture by pendant and the B-end on the “a” T-grid; 2.2. Fix the No. 2 light fixture on the No. 1 light fixture with the A-end with wire, and the B-end on the “b” T-grid;
- Fix the No. 3 light fixture on the No. 2 light fixture with the A-end with wire, and the B-end on the “c” T-grid;
- Fix the No. 4 light fixture on the “c” T-grid with the A-end with wire, and the B-end on the “d” T-grid;
- Fix the No. 5 light fixture on the No. 4 light fixture with the A-end with wire, and the B-end on the “e” T-grid;
- Fix the No. 6 light fixture on the No. 5 light fixture with the A-end with wire, and the B-end on the “c” T-grid.

INSTALLATION INSTRUCTIONS – ”T” shape, “+” shape
- ”T” shape Installation:
- Install the No. 5 light fixture, fix the A-end with wire of the light fixture on the “d” T-grid and the B-end by pendant.
- Fix the A-end with wire of the No. 6 light fixture on the No. 5 light fixture and the B-end of the fixture on the “e” T-grid. Using the same method connect the A-end with wire of the No. 7 light fixture on the “g” T-grid, and the B-end on the “f” T-grid.
- ”+” shape Installation:
Follow up the “T” shape installation, and then replace the “f” T-grid with one light fixture (Figure 6, Figure 7, Figure 8).
Miami, FL USA – [email protected] T: 305.640.0465 – F: 305.640.0468
WWW.JADEMAR.COM



















