JADEMAR LIGHTING JLHBM Series LED Light Instruction Manual
Safety Instructions
WARNING![]()
- Turn power off before inspection, installation or removal.
- The installation should be performed by qualified electricians or lighng technicians.
- Before conducting any installation, maintenance, or removal, disable all power to the luminaries and wait until the fixture cool down.
- Do not touch the fixture while it is in service.
- If there is any problem with the fixture, DO turn off power and DO NOT attempt repair unless you are a qualified technician.
- This product is not available for several special environments, such as places with corrosive gas liquids or high pressure water vapor.
MOUNTING WITH STEEL WIRE ROPE

- Inspect the fixture condion and accessories before installaon.
- Each of the two steel wire rope hooks on both ends of the mounng holes on fixture.
- Remove the access plate, take the wires out of the power driver compartment and through the hole of access plate, make wiring and reinstall the access plate, then plug the flexible conduit into the hole of the access plate.
CONDUIT PENDANT

- Installing the adjustable board in square J-BOX with M4*8 fly-headed flat boom screw, and pass the 3/4″ conduit through adjustable board, then fix it with J-BOX. (nut is provided by others)
- Attach fixture to the hanger of square J-BOX, and connecting wires
- Placing fixture horizontally, and fix it with J-BOX by using M5*8 screws
SURFACE MOUNTING

- Fix the square J-BOX hanger to the ceiling junction box with screws (the screws are matched with the junction box).
- Hook the fixture of the J-BOX base to the fixed hanger, pull out the wire and complete the wiring.
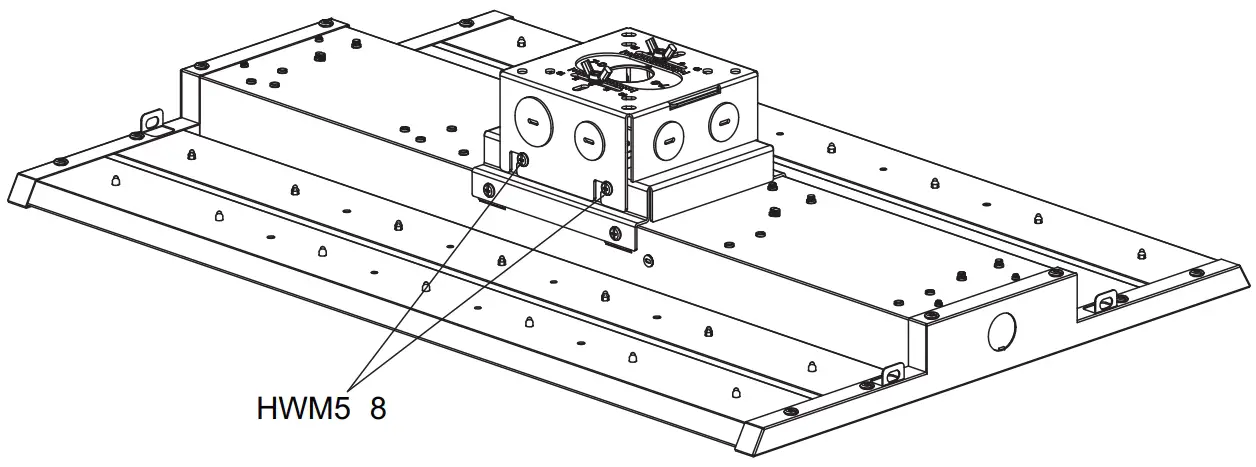
- Place the fixture horizontally and secure it with M5 * 8 screws
WIRING
Universal voltage driver permits operaon at 120V thru 277V, 60 Hz. For 0-10V Dimming, follow the wiring directions as in fig 1.
- Connect the black fixture lead to the (+) LINE supply lead.
- Connect the white fixture lead to the (-) COMMON supplylead.
- Connect the GROUND wire from fixture to supply ground. Do NOT connect the GROUND of the dimming fixture to the output.
- Connect the purple fixture lead to the (V+) DIM lead.
- Connect the gray fixture lead to the (V-) DIM lead.
TROUBLESHOOTING
Check that the line voltage at the fixture is correct. Refer to wiring directions:
- Confirm the fixture grounded properly.
- Be sure the moon sensor, if used, is functioning properly
CLEANING & MAINTENANCE
CAUTION: Be sure fixture temperature is cool enough to touch.
Do not clean or maintain while fixture is connected to power source.
Support
Miami, FL USA – [email protected]
T: 305.640.0465 – F: 305.640.0468
WWW.JADEMAR.COM


















