
NLC | Network Lighting Controls
INSTALLATION INSTRUCTIONS
NLCWP1WH
! IMPORTANT SAFEGUARDS!
WHEN USING ELECTRICAL EQUIPMENT, BASIC SAFETY PRECAUTIONS SHOULD ALWAYS BE FOLLOWED, INCLUDING THE FOLLOWING:
- Do not use outdoors.
- Do not use this equipment for other than its intended use.
- The installation should be performed by a licensed electrician.
- To prevent death, injury, or damage to property, this product must be installed in accordance to National Electrical Code (NFPA70) in the US or the Canadian Electrical Code (CSA 22.1) in Canada.
- Disconnect power before installing the product or servicing it.
- Wait until the fixture has cooled down before installing or servicing the fixture.
SAVE THESE INSTRUCTIONS
READ AND FOLLOW ALL SAFETY INSTRUCTIONS
What’s In The Box

Materials Needed

Tools Needed
A flat screwdriver, a drill, and a pair of wirecutters will be needed for installation.

- Carefully unpack the unit from its packaging. Inspect product for defects due to shipping.

- Turn off power to the appropriate circuit at the breaker panel.
- Carefully push out the cover plate from the top as shown below.

- Place the plate on the wall and mark which position you wish to install the switch.

- Use the appropriate drill size to drill holes on the marked places.

- Screw plate to the wall using a screwdriver and the supplied screws.

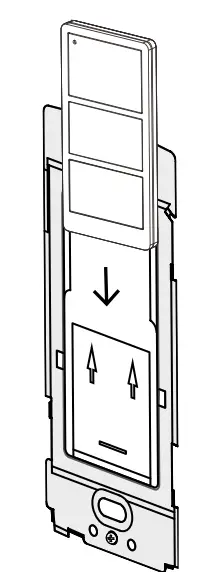
- Slide the NLCW into the bracket.

- Attach the wall plate.

- Turn power ON and follow the Nicor NLC commissioning guide.
![]() | ![]() |
| https://play.google.com/store/apps/details?id=com.litetrace.nicor.bluetooth.light3 | https://apps.apple.com/cn/app/nicor-nlc/id1636236035?l=en |
LIMITED WARRANTY AND DISCLAIMERS OF WARRANTIES
Subject to the exclusions contained below, NICOR Inc. (NICOR) warrants that the Network Lighting Controls (NLC) made by NICOR to be free from defects in materials and workmanship, under normal consumer usage for a period of five (5) years from the date of purchase. This limited warranty is a consumer’s exclusive remedy and applies only to new products purchased and used by consumers in the United States or Canada, which are accompanied by this written warranty.
This limited warranty extends only to first consumer purchasers and is not transferable. A consumer wishing to invoke the terms of this warranty must first obtain an RGA number within 30 days of discovery of the defect and return the product to NICOR for inspection. Once verified to be covered by this limited warranty, NICOR will, at its discretion, repair, replace or refund the purchase price of any product that does not conform to this limited warranty. This limited warranty covers only defects in material and workmanship associated with normal installation and intended use of the product.
THIS LIMITED WARRANTY DOES NOT COVER THE FOLLOWING:
Normal wear and tear
Defects or damages resulting from improper installation, operation, storage, misuse or abuse, accident, or neglect;
Defects or damages resulting from improper service, testing, adjustment, installation, maintenance, alteration, connection to out-of-specification electrical service, corrosive or damp environments, or connection to incompatible equipment or devices (e.g., connecting non-dimmable lighting products to dimmers); Damage which occurs in transit;
Power surges or overheating due to external conditions;
Acts of nature including but not limited to lightning strikes
ANY IMPLIED WARRANTIES, INCLUDING WITHOUT LIMITATION, THE IMPLIED WARRANTIES OF MERCHANTABILITY AND FITNESS FOR A PARTICULAR PURPOSE SHALL BE LIMITED TO THE DURATION OF THIS LIMITED WARRANTY, OTHERWISE, THE REPAIR, REPLACEMENT, OR REFUND AS PROVIDED UNDER THIS EXPRESS LIMITED WARRANTY IS THE EXCLUSIVE REMEDY OF THE CONSUMER, AND IS PROVIDED IN LIEU OF ALL OTHER WARRANTIES, EXPRESS OR IMPLIED. IN NO EVENT SHALL NICOR BE LIABLE, WHETHER IN CONTRACT OR IN TORT (INCLUDING NEGLIGENCE) FOR DAMAGES IN EXCESS OF THE PURCHASE PRICE OF THE PRODUCT, OR FOR ANY INDIRECT, INCIDENTAL, SPECIAL, OR CONSEQUENTIAL DAMAGES OF ANY KIND, OR LOSS OF REVENUE OR PROFITS, LOSS OF BUSINESS OR OTHER FINANCIAL LOSS ARISING OUT OF OR IN CONNECTION WITH THE ABILITY OR INABILITY TO USE THE PRODUCT TO THE FULL EXTENT THESE DAMAGES MAY BE DISCLAIMED BY LAW.
NICOR, Inc. 2200 Midtown Place NE, Albuquerque,
NM 87107 P: 800.821.6283
F: 800.892.8393
www.nicorlighting.com
NLCWP1WH August 22, 2022 3:55 PM



























