MOES MS-104B Smart Lighting Controller

instruction

Global international operation Whenever & Wherever You are, All-in-one Mobile App

Step 1
- Turn off the circuit breaker and use the electrical tester to test the power.
- Ensure the circuit breaker is off before wiring.

Attention:
Please disconnect the power supply before installing or removing the device for avoiding irreversible damage on the device from the electric current or some unpredictable problems such as lamp flashing.
Step 2
- Remove the old switch

Step 3
Remove the switch and pull it away from the wall. Identify Line/Load Wire(Note:The color of your wire may be different from the color shown on the manual.)
Verify power is off
- We recommend you remove the faceplate from the old switch and use an electrical tester to test all wires connected to the switch to ensure there is no voltage in the circuit.
- You may need to turn off more than one circuit breaker.
Warnings:
- Installation must be carried out by a qualified electrician in accordance with local regulations.
- Keep the device out of the reach of children.
- Keep the device away from water , damp or hot environment.
- Install the device away from strong signal sources such as microwave oven that may cause signal interruption resulted in abnormal operation of the device.
- Obstruction by concrete wall or metallic materials may reduce the effective operation range of the device and should be avoided.
- Do NOT attempt to disassemble,repair or modify the device.

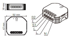
TECHNICAL SPECIFICATIONS

WIRING DIAGRAM
- With one 2 Gang switch

- With 2 Gang 2 Way switches

- With Wall Socket

Wiring Instructions and Diagrams
- Turn off the power supply before carrying out any electrical installation work.
- Connect wires according to the wiring diagram.
- Insert the module into the junction box.
- Connect the power supply and follow switch module configuration instructions.
Notes:
Put your smartphone close to the switch module when you’re configuring, and make sure you have min. 50% Wi-Fi signal.
FAQ
Q1: What should I do if I can’t configure the switch module?
- Please check whether device is powered on.
- Make sure your mobile and switch module are under the same 2.4 GHz WiFi network.
- Whether it’s in good internet conditions.
- Make sure the password entered in App is correct.
- Make sure the wiring is correct.
Q2: What device can be connected to this WiFi switch module?
Most of your household electrical appliances can be, such as lamps, laundry machine, coffe maker, etc.
Q3: What happens if the WiFi goes off?
You can still control the device connected the switch module with your traditional switch and once WiFi is active again the device connected to module will connect automatically to your WiFi network.
Q4: What should I do if I change the WiFi network or change the password?
You have to re-connect our WiFi switch module to the new WiFi network according to the App User Manual.
MANUAL OVERRIDE
The switch module terminal reserves the access of manual override function for the end-user to switch on/off
Switch on/off for permanent on/off function. Notes:
- Both the adjustment on App and switch can be reset, the last adjustment remains in memory.
- The App control is synchronized with the manual switch.
APP USER MANUAL

iOS App / Android App
- Scan the QR code to download Smart Life App, or you can also search keyword “Smart Life” at App Store or Googleplay to download App.

- Log in or register your account with your mobile number or e-mail address. Type in the verification code sent to your mobile or mail box, then set your login password. Click “Create Family” to enter into the App.

Wi-Fi link method:(two pairing methods)
Complete the wiring of the switch module before pairing
Method one:Pair and clear up the WiFi code with Bluetooth and WiFi connected meantime.(New Updated)
- Make sure your phone is connected to Wi-Fi and Bluetooth.

- Open Smart Life/Tuya App and Click“+”,then the prompt page will automatically show on the screen.Click “Go to add”.

- Select the device you want to add and click “+”

- Enter Wi-Fi Password and click “Next”,waiting for completing the connection.

- Add the device successfully, you can edit the name of the device to enter the device page by click “Done”
Method two: Pair with traditional pairing method. After the wiring of switch module is done, press the traditional switch to enter into the pairing mode:
- for reset switch:press the switch button for 10 times until the beep sounds continuously and rapidly as Di-Di-Di… for pairing and reset mode.
- for rocker light switch:press the switch button for 20 times (ON/OFF cycle for 10 times) until the beep sounds continuously and rapidly as Di-Di-Di… for pairing and reset mode.
- for switch module:long press the reset button on the module until you hear Di-Di for 2 times,then continue to press until the beep sounds continuously and rapidly as Di-Di-Di…

Open the App, select “+” on top right and choose “Switch (Wi-Fi)” to add device.
Make sure your smart phone and WiFi+RF switch module are under the same WiFi network at2.4GHz connection. Confirm when the light blinks rapidly (twice a second). 
The connecting will take about 10-120 seconds to complete depending on your network condition.

When pairing is done, the switch will be shown on the App.
How to reset /pair Wi-Fi code
- For reset switch:press the switch button for 10 times until the beep sounds continuously and rapidly as Di-Di-Di… for pairing and reset mode.
- For rocker light switch:press the switch button for 20 times(ON/OFF cycle for 10 times) until the beep sounds continuously and rapidly as Di-Di-Di… for pairing and reset mode.
- For switch module:long press the reset button on the module until you hear Di-Di for 2 times,then continue to press until the beep sounds continuously and rapidly as Di-Di-Di…
This WiFi+RF switch module fits for rocker light switch and reset switch meanwhile.Please pay attention to the different pairing modes.
Connect to Amazon Alexa or Google Assistant for voice control, or share the devices with your families or friends. 
Enjoy your smart life of home automation for lighting control by using our All-in-one mobile App wherever you are in the world or simply by voice control when you are sitting at home comfortably.
Pair and clear up the RF code
- How to pair the RF code
- For reset switch: press the switch for 5 times to hear the beep sounds as Di-Di(2 times) for successful pairing.
- For rocker light switch: press the switch for 10 times (ON/OFF cycle for 5 times) to hear the beep sounds as Di-Di(2 times) for successful pairing.
- For reset button:
- for button 1:press the button on the module for once to hear the beep sounds as Di(1 second),then long press the button on the module to hear the beep sounds as Di-Di(2 times) for successful paring.
- for button 2:press the button on the module for twice to hear the beep sounds as Di…(2 seconds),then long press the button on the module to hear the beep sounds as Di-Di(2 times)for successful paring.
- How to clear up the RF code
- For reset switch: press the switch for 5 times to hear the beep sounds as Di-Di(2 times),and press the switch for 5 times again after 5 seconds to hear the beep sounds as Di-Di-Di-Di(4 times) for successful clearing.
- For rocker light switch: press the switch for 10 times (ON/OFF cycle for 5 times) to hear the beep sounds as Di-Di(2 times),and press the switch for 10 times (ON/OFF cycle for 5 times) again after 5 seconds to hear the beep sounds as Di-Di-Di-Di(4 times) for successful clearing.
- For reset button:
- for button 1: press the button on the module for once to hear the beep sounds as Di(1 second),then long press the button on the module to hear beep sounds as Di-Di (2 times),release your finger for 5 seconds and long press the button again to hear the beep sounds as Di-Di-Di-Di(4 times) for successful clearing.
- for button 2: press the button on the module for twice to hear the beep sounds as Di…(2 seconds),then long press the button on the module to hear beep sounds as Di-Di(2 times),release your finger for 5 seconds and long press the button again to hear the beep sounds as Di-Di-Di-Di(4 times) for successful clearing.
- How to achieve multi-control association
Note:Please confirm you have successfully finished the WiFi link method above for adding this switch to your Smart Life App before the association.- WiFi add another smart switch to the same Smart Life/Tuya App.(If there is a smart switch having been added before to the app,just go to next step.)
Note:There is no need to wire the new added switch to the light,only L and N are required for wiring.
- WiFi add another smart switch to the same Smart Life/Tuya App.(If there is a smart switch having been added before to the app,just go to next step.)
- Then you will see two devices in the app and click the main switch(as One gang switch as below) by entering into the next operation.
- Click in the upper right corner and
choose“Multi-Control Association, and then click “+” in the right corner - Choose the switch that you want to associate to and then choose the switch button that you want to control the same light.
- Then go back to previous page,you will see two items in the page,one is your main switch,the other is the one you associate just now.
Note: Please confirm the associated switch is enabled.
- Now you are able to control your light with two switches.Do not associate another button in the same switch for multi-control.
- If you want to add another third or more smart switches to control your light,just repeat the steps above.And you will see the result as below when you associate another new switch.

SERVICE
- During the free warranty period, if the product breaks down during normal use, we will offer free maintenance for the product.
- Natural disasters/man-made equipment failures, disassembly and repair without the permission of our company, no warranty card, products beyond the free warranty period, etc., are not within the scope of free warranty
- Any commitment (oral or written) made by the third party (including the dealer/service provider) to the user beyond the warranty scope shall be executed by the third party
- Please keep this warranty card to ensure your rights
- Our company may update or change the products without notice. Please refer to the official website for the updates.
RECYCLING INFORMATION
All products marked with the symbol for separate collection of waste electrical and electronic equipment (WEEE Directive 2012/19 / EU) must be disposed of separately from unsorted municipal waste. To protect your health and the environment, this equipment must be disposed of at designated collection points for electrical and electronic equipment designated by the government or local authorities.
Correct disposal and recycling will help prevent potential negative consequences for the environment and human health. To find out where these collection points are and how they work, contact the installer or your local authority.
WARRANTY CARD
Product Information
- Product Name____________________________________
- Product Type_____________________________________
- Purchase
- Date____________________________________
- Warranty Period__________________________________
- Dealer
- Information________________________________
- Customer’s Name_________________________________
- Customer
- Phone__________________________________
- Customer Address________________________________ _________________________________________________
Maintenance Records
| Failure date | Cause Of Issue | Fault Content | Principal |
Thank you for your support and purchase at we Moes,we are always here for your complete satisfaction,just feel free to share your great shopping experience with us.
If you have any other need,please do not hesitate to contact us first,we will try to meet your demand.
- @moessmart
- @moes_smart
- @moes_smart
- moes
- @moes_smart
- www.moeshouse.com
WENZHOU NOVA NEW ENERGY CO.,LTD Address: Power Science and Technology Innovation Center, NO.238, Wei 11 Road, Yueqing Economic Development Zone, Yueqing, Zhejiang, China
Tel:+86-577-57186815
Email:[email protected]
AMZLAB GmbH
Laubenhof 23, 45326 Essen
Made In China



























