
NLC | Network Lighting Controls
INSTALLATION INSTRUCTIONS
NLCSPEJ1WH-LHW
NLC NLCPEJ1WH-LHW Network Lighting Controls
! IMPORTANT SAFEGUARDS !
WHEN USING ELECTRICAL EQUIPMENT, BASIC SAFETY PRECAUTIONS SHOULD ALWAYS BE FOLLOWED, INCLUDING THE FOLLOWING:
- Do not use outdoors.
- Do not use this equipment for other than its intended use.
- The installation should be performed by a licensed electrician.
- To prevent death, injury or damage to property, this product must be installed in accordance with National Electrical Code (NFPA70) in the US or Canadian Electrical Code (CSA 22.1) in Canada.
- Disconnect power before installing the product or servicing it.
- Wait until fixture has cooled down before installing or servicing the fixture.
SAVE THESE INSTRUCTIONS
READ AND FOLLOW ALL SAFETY INSTRUCTIONS
What’s In The Box

Materials Needed

Tools Needed
A wire cutter will be needed for installation of the NLCSPEJ1WH-LHW
Optional Accessories (Sold Separately)

- Carefully unpack the unit from its packaging. Inspect product for defects due to shipping.

- Turn off power to appropriate circuit at the breaker panel.
- Locate fixture knock-out and remove from attachment.

- Insert the H12VSOCKET inside the knockout hole (if needed)

- Secure the H12VSOCKET with the screw nut.

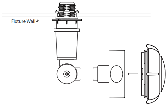
Installation Instruction: Fixture Face Mount
6A Install NLCSPEJ1WH -LHW into the H12VSOCKET.
7A Attach lens (included) into the NLCSPEJ1WH-LHW.
Installation Instruction: Adjustable Arm Mount
6B Attach the NLCSPEJ1WH-LHW into the H12VADJARM1WH then instainto the H12VSOCKET.
‘
7B Attach lens (of choice) into the NLCSPEJ1WH-LHW.
8 Turn power ON and follow the NICOR NLC commissioning guide.

https://play.google.com/store/apps/details?id=com.litetrace.nicor.bluetooth.light3
https://apps.apple.com/cn/app/nicor-nlc/id1636236035?l=en
WIRING DIAGRAM

RESTORING FACTORY SETTING INSTRUCTIONS
Reset a sensor to factory settings by turning the power on and off multiple times.
Follow the steps below:
- Make sure the lights are off.
- Turn on lights for 8 seconds; then turn the power off for 10 seconds.
- Immediately turn the lights on and off, then wait for another 10 seconds. Repeat 3 times.
- Turn the lights on for 8 seconds, then turn the power off for another 10 seconds. Repeat 2 times.
- Turn the lights back on. Blinking lights indicate a successful factory reset. All previous settings connected to the app has now been deleted.
Note: Waiting for at least 10 seconds will ensure that the fixture is completely powered off.
The duration will vary depending on the driver and the power supply. If the driver can cut power to the fixture within 3 seconds, then you may change the waiting period from 10 to 3 seconds to facilitate a faster reset time.
LIMITED WARRANTY AND DISCLAIMERS OF WARRANTIES
Subject to the exclusions contained below, NICOR Inc. (NICOR) warrants that the Network Lighting Controls (NLC) made by NICOR to be free from defects in materials and workmanship, under normal consumer usage for a period of five (5) years from date of purchase. This limited warranty is a consumer’s exclusive remedy, and applies only to new products purchased and used by consumers in the United States or Canada, which are accompanied by this written limited warranty.
This lmited warranty extends only to first consumer purchaser and is not transferable. A consumer wishing to invoke the terms of this warranty must first obtain an RGA number within 30 days of discovery of the defect, and return the product to NICOR for inspection. Once verified to be covered by this limited warranty, NICOR will, at its discretion, repair, replace or refund the purchase price of any product that does not conform to this limited warranty.
This limited warranty covers only defects in material and workmanship associated with normal installation and intended use of the product.
THIS LIMITED WARRANTY DOES NOT COVER THE FOLLOWING:
Normal wear and tear
Defects or damages resulting from improper installation, operation, storage, misuse or abuse, accident, or neglect;
Defects or damages resulting from improper service, testing, adjustment, installation, maintenance, alteration, connection to out-of-specification electrical service, corrosive or damp environments, or connection to incompatible equipment or devices (e.g., connecting non-dimmable lighting products to dimmers);
Damage which occurs in transit;
Power surges or overheating due to external conditions;
Acts of nature including but not limited to lightning strikes
ANY IMPLIED WARRANTIES, INCLUDING WITHOUT LIMITATION, THE IMPLIED WARRANTIES OF MERCHANTABILITY AND FITNESS FOR A PARTICULAR PURPOSE SHALL BE LIMITED TO THE DURATION OF THIS LIMITED WARRANTY, OTHERWISE THE REPAIR, REPLACEMENT, OR REFUND AS PROVIDED UNDER THIS EXPRESS LIMITED WARRANTY IS THE EXCLUSIVE REMEDY OF THE CONSUMER, AND IS PROVIDED IN IEU OF ALL OTHER WARRANTIES, EXPRESS OR IMPLIED. IN NO EVENT SHALL NICOR BE LIABLE, WHETHER IN CONTRACT OR IN TORT (INCLUDING NEGLIGENCE) FOR DAMAGES IN EXCESS OF THE PURCHASE PRICE OF THE PRODUCT, OR FOR ANY INDIRECT, INCIDENTAL, SPECIAL OR CONSEQUENTIAL DAMAGES OF ANY KIND, OR LOSS OF REVENUE OR PROFITS, LOSS OF BUSINESS OR OTHER FINANCIAL LOSS ARISING OUT OF OR IN CONNECTION WITH THE ABILITY OR INABILITY TO USE THE PRODUCT TO THE FULL EXTENT THESE DAMAGES MAY BE DISCLAIMED BY LAW.
NICOR, Inc. 2200 Midtown Place NE, Albuquerque,
NM 87107 P: 800.821.6283 F: 800.892.8393
www.nicorlighting.com
NLCPEJ1WH-LHW
November 8, 2022 9:10 AM





















