speco technologies JB2 B2 Large Junction Box White User Guide
Introduction
Thank you for purchasing our products. All examples and pictures used in this manual are only for reference purpose. Please take the real object as the standard.
Before installation, make sure that the wall is strong enough to withstand 3 times the weight of the junction box and the camera. We only introduce the installation of some cameras with junction box in this manual
Mount the Junction Box and Bullet Camera
- Drill the screw holes on the wall according to the drill template.

- Open the mounting base and the upper cover of the junction box.

- Push the expansion screws into the screw holes (if the wall is wooden, please skip this step) and then fix the mounting base of the junction box to the wall with screws.

- Fix the mounting base of the camera to the upper cover of the junction box. Then route the cables through the cable hole (take side conduit cabling for example) and connect the cables.

- Reinstall the upper cover to the junction box.

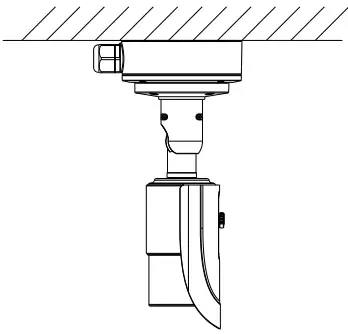
- Adjust the view angle of the camera

Mount the Junction Box and Dome Camera (1)
- Drill the screw holes on the wall according to the drill template.

- Open the mounting base and the upper cover of the junction box.

- Secure the mounting base of the junction box to the wall.

- Fix the camera to the upper cover of the junction box.

- Route the cables through the cable hole (take side conduit cabling for example) and connect the cables. Then reinstall the upper cover to the junction box.

- Adjust the view angle of the camera.

Mount the Junction Box and Dome Camera (2)
The step 1 and step 2 are the same as the above-mentioned step 1 and step 2.
- Secure the mounting base of the junction box to the wall.

- Route the cables through the cable hole (take side conduit cabling for example). Then reinstall the upper cover to the junction box.

- Unscrew the lock screw and then remove the mounting base of the camera.

- Mount the mounting base of the camera to the junction box.

- Connect the cables and then fix the lower dome to the mounting base by tightening the lock screw.

- Remove the lower dome to adjust the view angle. After that, reinstall the lower dome to complete the installation.

450043000706 A1




































