GE APPLIANCES RAK4002D Junction Box Kit Installation Guide

Tools Needed
- 5/16″ Nut Driver
- 1/4″ Nut Driver
⚠ WARNING
RISK OF ELECTRIC SHOCK.
Disconnect the electrical power supply before wiring connections.
Important Notes
- This unit must be properly grounded.
- Connections are made inside this junction box assembly.
- This kit provides for connection of 1/2″ trade size electrical conduit and connection to a wiring system in accordance with the National Electric Code. ANSI/NFPA No. 70-2014. It also provides for use with optional sub-base and chase way RAK204U, RAK204D15*, RAK204D20*, RAK204D30*, (replacement parts: RAK204E15*, RAK204E20*, and RAK204E30*).
- This kit contains 1 junction box for use with Molded plastic control board covers found on AZ45/AZ65 series models ending in W5 or higher.
* All Series
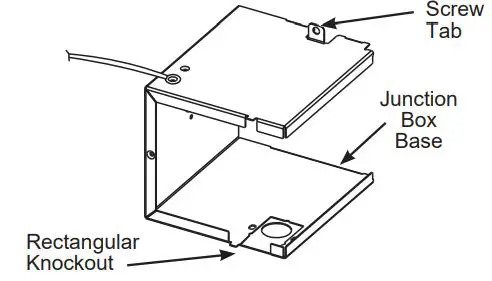
Parts Included
- Junction box assemblies
- Mounting screws (3)
- Wire retaining clip
INSTALLATION NOTES
Reference Installation Instructions in the Zone line Owner’s Manual.
A. Branch Circuit Connection 230/208 volt To connect branch circuit to unit using direct wiring, use properly rated wire nuts and enclose fully within junction box.
B. For use with sub-base and chase way Branch circuit wires can be run from the subbase, up the chase way and into the junction box where connections are made. Electrical connections can be made directly to the branch circuit with properly rated wire nuts or by plug through receptacle of appropriate sub-base. See additional Installation Instructions with the sub-base kit. Power supply kits or unit cords can be run from the junction box, down the chase way and into the sub-base.
Installation Instructions
ZONELINE SERIES DIRECT ELECTRICAL CONNECTION
STEP 1A. ALL MODELS
Remove the room cabinet by pulling it out at the bottom to release it (1); then lift it up to clear the rail along the unit top (2).

STEP 1B.
Check the control box cover on the front of the Zone line, just below the unit controls.
- If Molded plastic, use junction box labeled RAK4002D. Proceed to step 2.
STEP 2: INSTALL JUNCTION BOX ON MOLDED PLASTIC BMC CONTROL BOX COVER
2A. SELECT ELECTRICAL CONNECTION METHOD
- For Conduit Installation: Use the hole in the bottom of the junction box to connect flexible conduit. Hole is designed for 1/2″ connector. Proceed to Step 2B.
- For Sub-Base Installation: Remove the rectangular knockout in the bottom of the junction box base to accept the chase way from the sub-base. Proceed to Step 2C.

2B. ATTACH WIRING USING A CONDUIT
- Use the round hole at the bottom of the junction box to attach conduit coming from the branch circuit. Attach the conduit using proper conduit connector and bring wires into the junction box. Leave 6″ of wire free at the end of the conduit to allow connections to be made.

- If a fuse and fuse holder are to be used, the knockout at the side of the box is for mounting a Buss Fuse holder. Be sure the fuse and fuse holder are of the same rating as the branch circuit. Lead wire at the fuse can be either soldered in place or attached using UL-listed 1/4″ female (receptacle) crimp connectors.
2C. ATTACH WIRING USING A SUBBASE AND CHASEWAY (sold separately)
- Remove the rectangular knockout at the bottom of the junction box. Remove the rectangular knockout at the right end of the sub-base.
- Wiring is placed between the two halves of the chase way. Observe the orientation of the chaseway.
- Align the screw holes and secure the halves together by using a Type A screw in the lower or longer section of the chaseway. The top screw must be inserted in the next step.
- Slide the upper end of chaseway with wiring protruding into rectangular knockout opening in the junction box. Be sure chaseway side flanges are on the inside of the box. Drive one screw (provided with chaseway) through the junction box bottom into the chaseway side flange*. Insert lower end of chaseway into rectangular hole in sub-base and slide to right into the rectangular knockout making sure chaseway side flanges are inside the sub-base. Route wire toward the center of the sub-base. Drive one screw (provided with sub-base/chaseway kit) through the sub-base slotted hole into chaseway side flange hole.
* Align the upper screw holes and use a Type A screw to complete the chaseway assembly.
2D.
- Install the junction box base by inserting the upper and lower tabs into the upper and lower slots on the Molded control box cover.
Use provided 5/16″ double helix screw to fasten the tab on the top of the junction box base to themolded plastic cover.

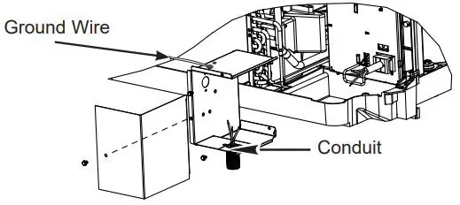
2E. ATTACH JUNCTION BOX GROUND WIRE
It is critical to attach the junction box ground wire to the end sheet of the indoor coil. If the end sheet only has two holes with attached ground wires, remove the LOWER ground wire, add the loose end of the junction box ground wire and attach both wires to the end sheet using the same screw.
On some models, there will be an empty screw hole between the two attached ground wires. On these models, attach the loose end of the junction box ground wire to this empty hole using the included green fine threaded screw.

2F. CONNECT THE POWER SUPPLY KIT
Plug the power connectors, ensuring plug is fully seated and locking tabs are engaged.

For 20 AMP and 30 AMP power supply kits, a second smaller plug must also be plugged into its corresponding mating connector.
2G. INSTALL JUNCTION BOX COVER
- Carefully tuck all wires and connections back inside the junction box. Be sure there are no loose connections or stray uninsulated wires exposed.
- Install junction box cover by rotating the cover to the right to locate the rear slots onto the mating tabs on the rear of the junction box base. Rotate back left to align the screw holes on the front and install the screw.

- Check to ensure all wires are inside junction box and no wires are pinched between cover and base.
- Turn power back on to the installed unit and check operation.
- Replace the Zone line front cabinet.




















