RAK315D Power Supply Kit for Direct Connection
Instruction Manual
Before you begin – Read these instructions completely and carefully.
IMPORTANT – OBSERVE ALL GOVERNING CODES AND ORDINANCES.
Note to Installer – Be sure to leave these instructions with the Consumer.
Note to Consumer – Keep these instructions with your Owner’s Manual for future reference.
TOOLS NEEDED
- Phillips head screwdriver
- 5/16” Nut driver
RAK315D, RAK320D, and RAK330D kits
These kits are for use with 230/208V AZ45, AZ65, AZ95, and AZ9V series GE Zoneline units. GE
Zoneline AZ45 and AZ65 series units must be installed with a junction box (RAK4002D purchased separately).
RAK515D, RAK520D, and RAK530D kits
These kits are for use with 265V AZ45, AZ65, AZ95, and AZ9V series GE Zoneline Units.
WARNING RISK OF ELECTRIC SHOCK.
Disconnect the electrical power supply before wiring connections.
IMPORTANT NOTES
- This unit must be connected to a grounded circuit.
- The electrical rating marked on the installed Zoneline and power supply kit must be the same as the supply branch circuit.
- Aluminum building wiring may present special problems—consult a qualified electrician.
- All wiring, including installation of the receptacle, must be in accordance with the NEC, local codes, ordinances, and regulations.
- This power supply kit provides for connection of 1/2” trade size electrical conduit and provision for connection to a wiring system in accordance with the National Electrical Code. ANSI/NFPA No. 70-1996 or latest edition.
- Use ONLY the wiring size recommended for single outlet branch circuits.
- Proper current protection is the responsibility of the owner.
FOR 230/208 VOLT DIRECT CONNECT APPLICATIONS ONLY
IMPORTANT: Some local electrical codes and customer requirements require PTAC units to be directly connected to building wiring.
These models must be installed using the appropriate GE power supply kit for the branch circuit amperage and the electrical resistance heater wattage desired as indicated in the units’ use and care manual. appropriate kit.
POWER CONNECTION CHART
| GE 230/208 Volt Power Supply Kit | Circuit Protective Device |
| RAK315D RAK320D RAK330D | 15-Amp Time-Delay Fuse or Breaker 20-Amp Time-Delay Fuse or Breaker 30-Amp Time-Delay Fuse or Breaker |
*RAK315D not for use with AZ95*18 models
FOR 265-VOLT DIRECT CONNECT APPLICATIONS ONLY
IMPORTANT: Connection of a 265V AC product to a branch circuit MUST be done by direct connection in accordance with the National Electrical Code. Plugging this unit into a building-mounted exposed receptacle is not permitted by code.
These models must be installed using the appropriate GE power supply kit for the branch circuit amperage and the electrical resistance heater wattage desired as indicated in the units’ use and care manual. appropriate kit.
POWER CONNECTION CHART
| GE 265 Volt Power Supply Kit | Circuit Protective Device |
| RAK515D RAK520D RAK530D | 15-Amp Time-Delay Fuse or Breaker 20-Amp Time-Delay Fuse or Breaker 30-Amp Time-Delay Fuse or Breaker |
*RAK515D not for use with AZ95*18 models
Installation Instructions
ZONELINE SERIES – DIRECT ELECTRICAL CONNECTION
It is the responsibility of the installer to ensure the connection of components is done in accordance with the NEC, local codes, ordinances, and regulations.
Direct connection to branch circuit wiring inside the junction box must be made by connecting as follows.
| Recommended branch circuit wire sizes* | |
| Nameplate maximum circuit breaker size | AWG wire size** |
| 15A 20A 30A | 14 12 10 |
| AWG—American Wire Gauge * Single circuit breaker from the main box ** Based on copper wire, single-insulated conductor at 60°C | |
For GE Zoneline AZ45 & AZ65 Series Units
This kit must be used in conjunction with a GE
RAK4002D junction box kit. Order this kit separately.
REMOVE ROOM FRONT
Remove the room cabinet by pulling it out at the bottom to release it (1); then lift it up to clear the rail along the unit top (2)

REMOVE THE JUNCTION BOX COVER
Remove the junction box cover by removing the screw holding it to the assembly.

INSTALL JUNCTION BOX (230/208V units)
Install the junction box by engaging the left tabs of the junction box with the slots on the control housing, align the screw hole at the top and drive the screw until secure.

CONNECT THE CORDSET
Plug the connectors, provided in the Direct Connect Kit, fully into place in the corresponding mating connectors.
Be sure the locking tabs at the sides are engaged.

Power supply kit – Appearance may vary
NOTE: RAK315D and RAK515D will only have one power connector.
For a direct connect kit installation with a flex cable, proceed to step 5A.
For a direct connect kit installation with a sub-base and chase way, skip ahead to step 5B.
5A. ATTACH WIRING USING A FLEX CABLE
- Use the round hole at the bottom of the junction box to attach the flex cable coming from the branch circuit. Attach the conduit using a proper conduit connector and bring wires into the junction box. Leave 6” of wire free at the end of the flex cable to allow connections to be made.

- If a fuse and fuse holder is to be used, the knockout at the top of the box is for mounting a Buss Fuseholder. Be sure the fuse and fuse holder are of the same rating as the branch circuit.
Leadwires at the fuse can be either soldered in place or attached using UL-listed 1/4” female (receptacle) crimp connectors.
5B. ATTACH WIRING USING A SUBBASE AND CHASE AWAY
- Remove the rectangular knockout at the bottom of the junction box. Remove the rectangular knockout at the right end of the sub-base.

- Wiring is placed between the two halves of the chase way. Observe the orientation of the chase way.

- Align the screw holes and secure the halves together using two types A screws.
Slide the upper end of chaseway with wiring protruding into the rectangular knockout opening in the junction box. Be sure chaseway “ears” are on the inside of the box. Drive one type A screw through the junction box bottom into the chaseway “ear” hole. Insert the lower end of the chaseway into a rectangular hole in the sub-base and slide to right into the rectangular knockout making sure chaseway “ears” are inside the sub-base. Route wire toward the center of the sub-base. Drive one type A screw through the sub-base slotted hole into chaseway “ear” hole.
INSTALL JUNCTION BOX COVER
- Make all wire connections by using appropriate NEC and UL-listed electrical connectors and techniques.
- For 20A and 30A power supply kits, plug in the personality jumper for heater selection.
- Carefully tuck all wires and connections back inside the junction box. Be sure there are no loose connections or stray uninsulated wires exposed.
- Place the junction box cover in place. Replace the two screws removed earlier and tighten them securely.

- Replace the Zoneline front cabinet.
FOR GE ZONELINE AZ95 SERIES UNITS
REMOVE THE JUNCTION BOX COVER
Remove the junction box cover by removing the three screws holding it to the assembly.

ATTACH FLEX CABLE
Use the round knockout hole at the top of the junction box to install the flex cable coming from the branch circuit. Install and clamp the flex cable through the flex cable clamp and bring wire leads into the junction box. Leave a minimum of 6” of wire free from the end of the flex cable.

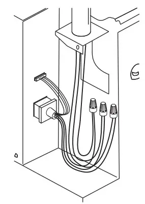
MAKE WIRE CONNECTIONS INSIDE THE JUNCTION BOX
- Make all wire connections by using appropriate NEC and UL-listed electrical connectors and techniques.
- Select the applicable wiring situation and follow the instructions accordingly:
• 1-Phase 230 VAC
When connecting the Zoneline to a single-phase circuit for 230V applications:
Connect the white and black leads of the Zoneline power supply kit to the branch circuit L1 and L2 leads. (The white lead of the power supply kit should be identified by the installer using electrical tape with some color other than green or white.) Connect the green lead of the power supply kit to the power supply and branch circuit ground.
• 1-Phase 208 VAC
When connecting the Zoneline to a three-phase circuit for 208V applications:
Connect the white and black leads of the Zoneline power supply kit to the branch circuit L1 and L2 leads.
(The white lead of the power supply kit should be identified by the installer using electrical tape with some color other than green or white.) Connect the green lead of the power supply kit to the power supply and branch circuit ground.
• 1-Phase 265 (277) VAC
When connecting the Zoneline to a three-phase circuit for 265V applications:
Connect the white and black leads of the Zoneline power supply kit to the branch circuit Neutral and L1 leads. (The white lead of the power supply kit should be connected to neutral.) Connect the green lead of the power supply kit to the power supply and branch circuit ground.
- Be sure that all wire leads are inside the junction box and not pinched between the box and the unit. The green insulated ground wire from the Zoneline MUST be connected to the branch circuit ground wire.
- For 20A and 30A power supply kits, plug in the personality jumper for heater selection.
- Plug the 4-pin connector into the 4-pin receptacle in the junction box.
- Replace the junction box cover by replacing the three screws removed earlier.

NOTICE: Wire junction box to match figure above.
Building supply wires and supply cord wires must both be secured with zip ties and oriented vertically.

























