
Speakerphone
User Manual
Product Description

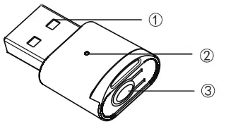
Bluetooth Adapter(Optional)

- USB Port (for power supply and USB audio connection)
- Adapter LED indicator
- Adapter Control
LED Status Indicator
| Adapter LED Indicator | light flashing quickly(Flash once every 300ms) | The device searches for pairing status |
| light flashing slowly (Flash every 1s) | The connection is successful |
Keypad
| Adapter Control | Long press for 5 seconds | Clear pair record |
Bluetooth pairing: After the adapter is plugged into the conference device, it will automatically enter the pairing mode and the indicator will blink quickly. After the Bluetooth function of omnidirectional microphone is turned on, the indicator will blink slowly after the pairing is successful.
Package List

Interface Specification

Keypad/Indicator Description

+ — | Volume Button | Turn down/up the volume |
| Answer/End Call | Answer/End Call | |
| Bluetooth | Turn on/off/Pairing the Bluetooth | |
| Microphone Mute | Turn on/off the Microphone | |
| ON/OFF | Long press 3 seconds to turn on/off the speakerphone |
| Microphone Status Indicator | The green light is always on when working normally: the red light is always on when the microphone is mute. |
| Volume Status Indicator | The green light is on when microphone working normally, the brightness of status LED will increase or decrease with the speaker volume up or down. |
| Charging Indicator | When the battery is charging, the indicator light is green: when the battery is fully charged, the indicator light is off; when the battery is low, the status indicator light is red |
| Bluetooth Status Indicator | When the Bluetooth is pairing, the blue light flashes; when the pairing is successful, the blue light is always on |
Compatible With Various Conference Software

Operating Instructions
- Bluetooth connection instructions: press the “
” button, the indicator blue light flashes, enter the Bluetooth pairing mode; turn on the Bluetooth function of the mobile phone, search for the corresponding Bluetooth name for pairing, the blue light is always on after the pairing is successful; press the “
” button again to turn off the Bluetooth function (When connecting with a Bluetooth adapter, please check the Bluetooth adapter instructions) - Instructions for turn on and off:press and hold the ”
” button for 3 seconds to turn on the speakerphone master, and press the “
” button again for 3 seconds to turn off the speakerphone master ; in addition, when the USB is connected to a computer device, the speakerphone master will automatically turn on. When the speakerphone master is not connected to any device, the speakerphone master will shut down after 3 minutes
Connection Diagram
- Wired Connection

- Wired Cascading Connection

- Bluetooth Connection

Product Parameters:
Product Features:
Speaker Volume: Max 80dB
Speaker Frequency Response: 100Hz-22KHz
Pickup Distance: 3 Meters Radius
Acoustic Echo Cancellation: Support
Noise Compression: Support
Automatic Gain Control: Support
Built-in 4 Microphone Array, Support Omnidirectional Pickup
Support Windows, Android, ios, Linux systems, driver-free automatic identification of cameras, microphones and speakers
Compatible with most of the video conferencing software
Other Parameters:
Power Supply: USB 5V/1A
Built-in rechargeable lithium battery, Power adapter is optional Connection: USB, Bluetooth, Extension Unit (Optional)
Warranty
Terms of warranty
Retail purchaser purchasing conferencing systems are free to repair defects in materials and raftsmanship, subject to or excluded from the terms set forth below.
Warranty Period
The warranty period is from the date of sale. During the warranty period, if the following conditions are found, the warranty will not be granted:
Damaged or not maintained in a reasonable manner or as recommended in the User Manual;Modified, altered or used as part of any conversion kits, accessories or any configuration not sold by our company
Repaired by someone other than an authorized Repair Agent who is not authorized by our company in relation to a defect or malfunction covered by this warranty;
Warranty content
This warranty applies to the conference system and all standard accessories, but does not include paper items such as storage cards, packaging and instructions.
User-generated Data
This warranty does not cover any claimed loss of or damage to user-generated data (including but without limitation phone numbers, addresses and images) that may be stored on your product.
Procedure for Obtaining Warranty Service
If the product purchased by the customer needs to be guaranteed, the customer can mail the device and the customer’s purchase certificate (such as a copy of the sales invoice) to your equipment dealer. Before mailing the goods, we recommend that the customer backup the data first, in case of maintenance lost or damaged in the process
Attentions
This manual introduces the functions, installations and operations for this device in details. Please read this manual carefully before installation and use.
- To prevent damage to this product or any product connected to it, this product can only be used withiny the specified range.
• Do not expose the product to rain or moisture.
• To prevent the risk of electric shock, do not open the case. Installation and maintenance should onl be carried out by qualified technicians.
• Do not use the product beyond the specified temperature, humidity or power supply specifications. - Electrical Safety. lnstallation and use of this product must strictly comply with local electrical safety standards.
- Avoid damage to the product caused by heavy pressure, strong vibration or immersion during transportation, storage and installation.
- Install with Caution.
• Housing of this product is made of organic materials. Do not expose it to any liquid, gas or solids which may corrode the shell,do not power on before completing installation. - Do not Disassemble the Product without Permission. This product contains no parts which can be maintained by the users themselves. Any damage caused by ismantling the product by the user ithout permission is not covered by warranty.
FCC STATEMENT
This device complies with Part 15 of the FCC Rules. Operation is subject to the following two conditions:
(1) This device may not cause harmful interference, and
(2) This device must accept any interference received, including interference that may cause undesired operation.
Warning: Changes or modifications not expressly approved by the party responsible for compliance could void the user’s authority to operate the equipment.
NOTE: This equipment has been tested and found to comply with the limits for a Class B digital device, pursuant to Part 15 of the FCC Rules. These limits are designed to provide reasonable protection against harmful interference in a residential installation. This equipment generates uses and can radiate radio frequency energy and, if not installed and used in accordance with the instructions, may cause harmful interference to radio communications. However, there is no guarantee that interference will not occur in a particular installation. If this equipment does cause harmful interference to radio or television reception, which can be determined by turning the equipment off and on, the user is encouraged to try to correct the interference by one or more of the following measures: Reorient or relocate the receiving antenna. Increase the separation between the equipment and receiver. Connect the equipment into an outlet on a circuit different from that to which the receiver is connected. Consult the dealer or an experienced radio/TV technician for help.
RF warning statement:
The device has been evaluated to meet general RF exposure requirement. The device can be used in portable exposure condition without restriction.






















