
LIGHTING THE WAY FOR SIXTY YEARS
ASSEMBLY INSTRUCTION MODEL#3812-AG
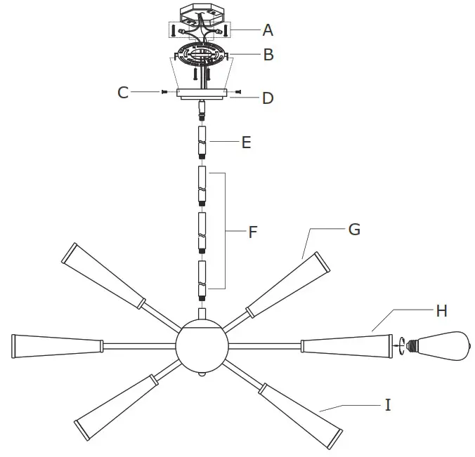
3812-AG Zodiac 12 Light Chandelier
![]() | ![]() |

All electrical components must be installed by a licensed electrician in accordance with the National Electric Code and the appropriate local electrical codes.

You will need 12-Medium Base Bulb 40 Watts Recommended 60 Watts Max.
USE LED BULBS FOR EXTENDED USE This fixture is Damp rated
How to install
- Separate the mounting plate from the canopy kit by removing the screws.
- Install the mounting plate to the outlet box using two outlet box screws.
- Determine the preferred hanging height and adjust the required rods.
- Feed the wires through the rods and connect them together.
- Slip canopy kit along wire and thread it into the top of the rod assembly.
- Install canopy onto the mounting plate, and secure with the mounting screws.
- Install the bulb(not included) into the socket.
WARNING: This product can expose you to Lead which is known to the state of California to cause cancer and/or birth defects or reproductive harm. For more information go to www.P65Warnings.ca.gov
Part Number

Part Numbers
| A. (1)-Mounting hardware B. (1)-Mounting plate C. (2)-mounting screw D. (1)-Canopy kit W4-3/4’’xH1’’ #XRF3812AGCAN4.75IN E. (1)-Rod D5/8’’xL6’’ #XRF3812AGROD6IN | F. (3)-Rod D5/8’’xL12’’ #XRF3812AGROD12IN G. (4)-Socket L10-7/8’’ H. (4)-Socket L14-5/8’’ I. (4)-Socket L12-1/4’’ |



















