LIGHTING THE WAY FOR SIXTY YEARS
ASSEMBLY INSTRUCTION MODEL #GAB-B7306-MK
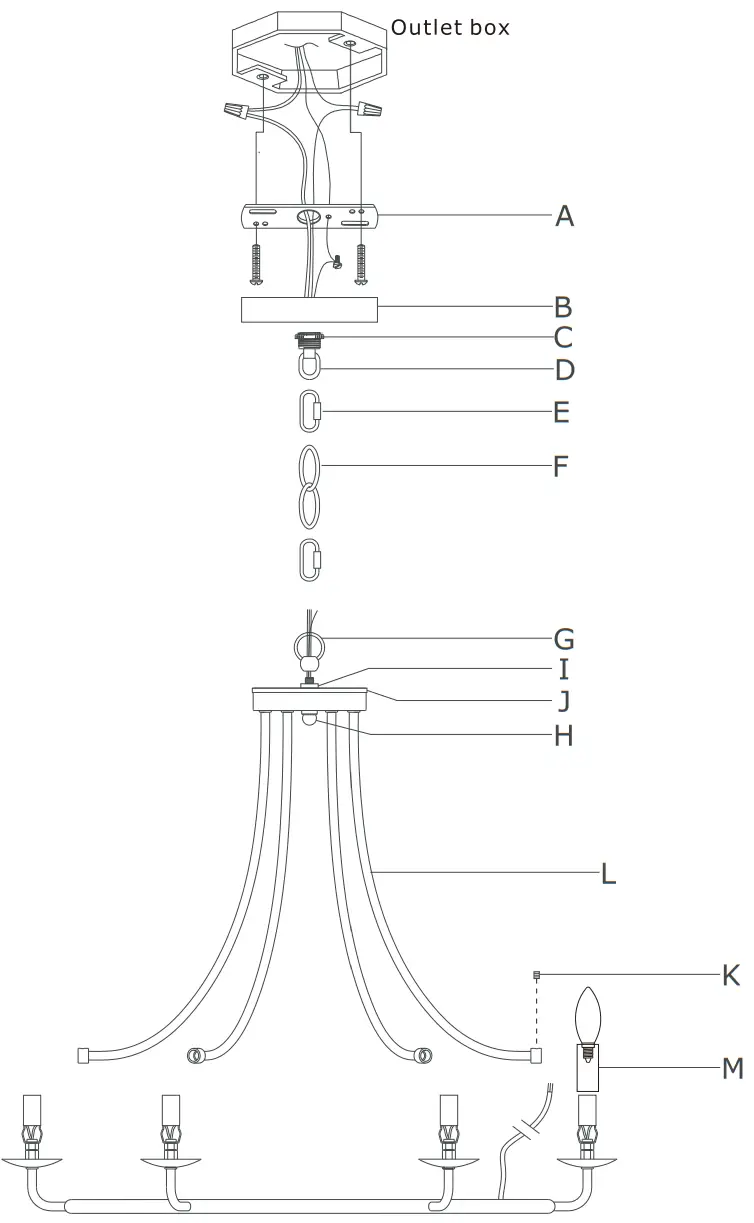
GAB-B7306-MK Gabrielle Six Light Chandelier
![]()
All electrical components must be installed by a licensed electrician in accordance with the National Electric Code and the appropriate local electrical codes.![]()
You will need 6-Candelabra Base Bulb 40 Watts Recommended 60 Watts Max. USE LED BULBS FOR EXTENDED USE This fixture is DAMP rated
How to install
Refer to installation step on separate page.
DETAILED ILLUSTRATION

Crystal Key
A.3 Sets.
(12)14mm + (13)20mm + (2)30mm
B.3 Sets.
(10)14mm + (12)20mm + (3)30mm
C.3 Sets.
(13)14mm + (9)20mm + (3)30mm
D.6 Sets.
(3)14mm + (2)20mm + (1)30mm
E.6 Sets.
(3)14mm + (3)20mm
F.6 Sets.
(3)14mm + (3)20mm + (1)30mm
G.6 Sets.
(1)14mm + (4)20mm + (1)30mm
H.6 Sets.
(3)14mm + (2)20mm + (1)30mm
I.6 Sets.
(2)14mm + (3)20mm
J.8 Sets.
(2)14mm + (2)20mm + (1)30mm
K.8 Sets.
(3)14mm + (1)20mm + (1)30mm
L.8 Sets.
(2)14mm + (2)20mm + (1)30mm
M.8 Sets.
(2)14mm + (2)20mm
N.8 Sets.
(3)14mm + (1)20mm + (1)30mm
O.8 Sets.
(3)14mm + (3)20mm
WARNING: This product can expose you to Lead, which is known to the State of California to cause cancer and/or birth defects or reproductive harm. For more information go to www.P65Wamings.ca.gov.

Part Number
A.(1) – Mounting Hardware
B.(1) – Canopy(W4.72″,H0.79″) #XRE7306MKCAN4.72IN
C.(1) – Collar Ring
D.(1) – Collar Loop
E.(2) – Quick Link
F.(1) – Hanging Chain(72″,4mm) #XRE7304MKCHA4MM
G.(1) – Fixture Loop
H.(1) – Ball Nut #XRE7306MKBANUT
I.(1) – Check ring(D2OxH5mm)
J.(1) – Cover(D132xH5mm)
K.(6) – M5 screw
L.(6) – Arm
M.(6) – Candle Sleeve(W0.87″,H3.15″) #XRE7306MKCDL3.15IN

Please place the frame on a soft cloth covered table before installation.
Please do not remove the bubble wrap on the frame until the installation is completed.
- Loosen the cover by removing the loop, check ring and hex nut. Loosen the hex nut on the top of the arms using a wrench and spread the arms out equally. Feed the lead wire from the bottom ring through the end of one arm (the end with the coupler) and exit out of the distributor box.
- Insert the coupler, at the bottom end of the arm, onto the stud on the bottom ring and secure it by inserting a screw and tightening it with the included “L” wrench. Repeat for the other arms.
- Secure the other end of the arms onto the distributor box by tightening up the hex nut.
- Connect the lead wire onto the wire terminal as illustrated.
- Tuck the wires carefully inside the distributor box and put the cover back and secure with hex nut. Place the check ring over the hex nut and secure with loop.
- Dress the crystal as illustrated.
- Slide the candle sleeve over the socket and install the bulb(not included).















