LIGHTING THE WAY FOR SIXTY YEARS
ASSEMBLY INSTRUCTION MODEL #GAB-B7304-MK
GAB-B7304-MK Gabrielle Four Light Chandelier
![]()
All electrical components must be installed by a licensed electrician in accordance with the National Electric Code and the appropriate local electrical codes.![]()
You will need 6-Candelabra Base Bulb 40 Watts Recommended 60 Watts Max. USE LED BULBS FOR EXTENDED USE This fixture is DAMP rated
How to install
- Do a complete inventory of all parts and components before you start installation.
- Attach the center stem onto the wiring house.
- Attach the top of the center stem onto the swivel.
- Place the candle sleeve onto the socket and insert recommended bulb (not included).
- Dress the fixture with crystal as illustrated.
Bead Sets
A.21 Sets
(14)25mm
B.36 Sets
(9)25mm
C.50 Sets
(5)25mm
D.1 Set
(4)10mm + (1)50mm
WARNING: This product can expose you to Lead, which is known to the State of California to cause cancer and/or birth defects or reproductive harm. For more information go to www.P65Wamings.ca.gov.

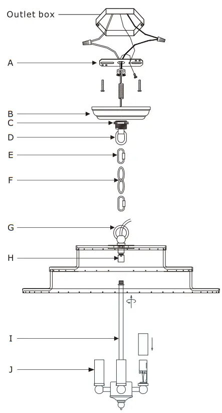
Part Number
A. (1) – Mounting Hardware
B. (1) – Canopy(W5.1″,H1.1″) #XRE7305MKCAN5.1IN
C. (1) -Collar Ring
D. (1) – Collar Loop
E. (2) – Quick Link
F. (1) – Hanging Chain(72″,4mm) #XRE7304MKCHA4MM
G. (1) – Fixture Loop
H. (1) – Swivel
I. (1) – Center Stem(9.1″, 9.5mm) #XRE7304MKSTEM9.1IN
J. (6) – Candle Sleeve(W0.87″,H2.36″) #XRE7304MKCDL2.36IN

















