
OPERATORS MANUAL
15 & 25 Gallon Tow Behind Sprayer
LP19478 & LP19479
Supplier ST50728
04/05/22
Introduction
Using Your Operator’s Manual
Read this entire operator’s manual, especially the safety information, before operating.
This manual is an important part of your machine. Keep all manuals in a convenient location so they can be accessed easily.
Use the safety and operating information in the attachment operator’s manual, along with the machine operator’s manual, to operate and service the attachment safely and correctly.
If your attachment manual has a section called Preparing the Machine, it means that you will have to do something to your tractor or vehicle before you can install the attachment. The Assembly and Installation sections of this manual provide information to assemble and install the attachment to your tractor or vehicle. Use the Service section to make any needed adjustments and routine service to your attachment.
If you have any questions or concerns with the assembly, installation, or operation of this attachment, see your local John Deere dealer or call the John Deere Customer Contact Center at 1-800-448-9282 for assistance.
Original instructions. All information, illustrations, and specifications in this manual are based on the latest information available at the time of publication. The right is reserved to make changes at any time without notice.
NOTE: Retain these installation instructions with the machine operator’s manual.
Product Compatibility
These Sprayers are designed for use with John Deere riding lawn and garden products and John Deere utility vehicles.
Contact your John Deere dealer for specific machine compatibility information.
Safety Labels
Safety Label Location

Understanding The Machine Safety Labels
The machine safety labels shown in this section are placed in important areas on your machine to draw attention to potential safety hazards.
On your machine safety labels, the words DANGER, WARNING, and CAUTION are used with this safety-alert symbol. DANGER identifies the most serious hazards. The operator’s manual also explains any potential safety hazards whenever necessary in special messages that are identified with the word, CAUTION, and the safety alert symbol.
Replace missing or damaged safety labels. Use this operator’s manual for correct safety label placement. There can be more safety information contained on parts and components sourced from suppliers that is not reproduced in this operator’s manual.
Warning
- To avoid injury from chemical hazards, wear protective clothing. Read and follow the chemical manufacturer’s labels and instructions.

Safety
Read Safety in Machine Operator’s Manual
Read the general safety operating precautions in your machine operator’s manual for additional safety information.
Operate Safely
- Read the machine and attachment operator’s manual carefully. Be thoroughly familiar with the controls and the proper use of the equipment. Know how to stop the machine and disengage the controls quickly.
- Do not let children or an untrained person operate the machine.
- Make any necessary adjustments before you operate. Never attempt to make any adjustments while the engine is running, unless if recommended in the adjustment procedure.
- Take all possible precautions when leaving the machine unattended. Shut off the engine before making any repairs, adjustments, or inspections. Lower the attachment, lock the parking brake, stop the engine, and remove the key.
- Look behind the machine before you back up. Back up carefully.
- Do not let anyone, especially children, rides on a machine or attachment. Riders are subject to injury such as being struck by foreign objects and being thrown off. Riders may also obstruct the operator’s view, resulting in the machine being operated in an unsafe manner.
- Use only attachments and accessories approved by the manufacturer of this product.
- If the machine vibrates abnormally, stop the engine and check immediately for the cause. Vibration is generally a warning of trouble.
- Always refer to the Storage section of the operator’s manual for important details if storing this product for a long period of time.
- Keep people and pets out of the work area. Stop the machine if anyone enters the area.
- If you hit an object, stop the machine and inspect it. Make repairs before you operate. Keep the machine properly maintained and in good working order. Keep all shields and guards in place.
- Always inspect the sprayer completely before and after each use. Before pressurizing the system, check to be sure all fittings and hoses are tightly installed. Be sure guards and shields are in good condition and fastened in place Make any necessary adjustments before you operate.
- Never use the sprayer during windy conditions.
- Always release pressure in the system before filling, cleaning or servicing the sprayer.
- Do not put the nozzle tip or other sprayer parts to your lips to blow out dirt.
- Use compressed air.
- If the sprayer is mounted to the bed of a utility vehicle, never raise the bed with the sprayer installed. Empty the sprayer and remove it from the bed if you need to raise the bed for any reason.
Parking Safely
- Stop the vehicle on a level surface, not on a slope.
- Lock the park brake.
- Stop engine.
- Remove key.
- Before you leave the operator’s seat, wait for the engine and all moving parts to stop.
- Disconnect the negative battery cable or remove the spark plug wire (for gasoline engines) before servicing the machine.
Mix and Handle Chemicals Safely
- It is best to wear full-cover clothing and always wear protective goggles and rubber gloves to protect yourself while handling chemicals.
- Follow instructions on chemical container labels.
- Open all chemical containers carefully, using the proper tools.
- Open, pour, weigh and mix chemicals in a well-ventilated area.
- Reserve all equipment used for the application of chemicals exclusively for that purpose.
- Prohibit all smoking, drinking, and eating food in the chemical-handling area.
- It is a good practice to take a soapy shower immediately after using the sprayer to apply chemicals.
- Wash all clothing worn when using chemicals separately in the laundry after spraying is completed.
Read Chemical Container Label
- Chemicals can be dangerous. Improper selection or use can injure persons, animals, plants, soils, or other property. Select the right chemical for the job and handle and apply it with care.
- Read the instructions, precautions, and warnings on the container label before opening. Use the product strictly according to label directions for specific applications, in the amounts specified, at the times specified, and only when needed.
- Keep the container closed tightly except when preparing the mix.
- Do not remove labels from chemical containers. Store all chemicals in their original containers.
- Do not mix chemicals unless stated on the container label.
- Store chemicals when not in use according to the container label.
Handle Chemical Products Safely
- Direct exposure to hazardous chemicals can cause serious injury. Potentially hazardous chemicals used with John Deere equipment include pesticides, herbicides and fungicides.
- A Material Safety Data Sheet (MSDS) provides specific details on chemical products: physical and health hazards, safety procedures, and emergency response techniques.
- The MSDS should be obtained from the chemical dealer at the time of the chemical purchase.
- Check the MSDS before beginning any job using a hazardous chemical. Know exactly what the risks are and how to do the job safely. Always wear recommended personal protective equipment.
Towing Loads Safely
- The stopping distance increases with the speed and weight of the towed load. Travel slowly and allow extra time and distance to stop.
- Total towed weight must not exceed limits specified in towing vehicle operator’s manual.
- The excessive towed load can cause loss of traction and loss of control on slopes. Reduce towed weight when operating on slopes.
- Never allow children or others in or on towed equipment.
- Use only approved hitches. Tow only with a machine that has a hitch designed for towing. Do not attach towed equipment except at the approved hitch point.
- Follow the manufacturer’s recommendations for weight limits for towed equipment and towing on slopes. Use counterweights or wheel weights as described in the machine operator’s manual.
- Do not turn sharply. Use additional caution when turning or operating under adverse surface conditions. Use care when reversing.
- Do not shift to neutral and coast downhill.
Keep Riders Off-Towed Attachment
- Keep riders off of a towed attachment.
- Riders on a towed attachment are subject to injuries, such as being struck by objects and being thrown off the attachment during sudden starts, stops, and turns.
- Riders obstruct the operator’s view, resulting in the attachment being used in an unsafe manner.
- Keep riders off of the hitch bracket.
Avoid Injury From Drawbar
Before you disconnect an attachment from the machine hitch plate:
- Unload attachment.
- Stop attachment on level ground.
- Stop the machine engine.
- Lock the machine park brake.
- Block attachment wheels.
- Make sure hands, feet or other body parts are not under the drawbar.
Practice Safe Maintenance
- Only qualified, trained adults should service this machine.
- Understand service procedures before doing work. Keep the area clean and dry.
- Do not operate the engine in a confined space where dangerous carbon monoxide fumes can collect.
- Never lubricate service or adjust the machine or attachment while it is moving. Keep safety devices in place and in working condition. Keep hardware tight.
- Keep hands, feet, clothing, jewelry, and long hair away from any moving parts, to prevent them from getting caught.
- Lower any attachment completely to the ground or to an existing attachment mechanical stop before servicing the attachment. Disengage all power and stop the engine. Lock the parking brake and remove the key. Let the machine cool.
- Disconnect the battery or remove the spark plug wire (for gasoline engines) before making any repairs.
- Before servicing the machine or attachment, carefully release pressure from any components with stored energy, such as hydraulic components and springs.
- Release hydraulic pressure by lowering attachment or cutting units to the ground or to a mechanical stop and moving hydraulic control levers.
- Securely support any machine or attachment elements that must be raised for service work. Use jack stands or lock service latches to support components when needed.
- Never run the engine unless the parking brake is locked.
- Keep all parts in good condition and properly installed. Fix damage immediately. Replace worn or broken parts. Replace all worn or damaged safety and instruction decals.
- Check all hardware at frequent intervals to be sure the equipment is in safe working condition.
- Do not modify machines or safety devices. Unauthorized modifications to the machine or attachment may impair its function and safety
- Death or serious injury will result from contact with overhead power lines. Keep clear of electrically charged power lines. Check the area before operating the spreader.
Wear Appropriate Clothing
Always wear eye protection when operating the machine. Wear close-fitting clothing and safety equipment appropriate for the job.
- While operating this machine, always wear substantial footwear and long trousers. Do not operate the equipment when barefoot or wearing open sandals.
- Wear a suitable protective device such as earplugs. Loud noise can cause impairment or loss of hearing.
Avoid High-Pressure Fluids
- Hydraulic hoses and lines can fail due to physical damage, kinks, age, and exposure. Check hoses and lines regularly. Replace damaged hoses and lines.
- Hydraulic fluid connections can loosen due to physical damage and vibration. Check connections regularly. Tighten loose connections.
- Escaping fluid under pressure can penetrate the skin causing serious injury. Avoid the hazard by relieving pressure before disconnecting hydraulic or other lines. Tighten all connections before applying pressure.
- Search for leaks with a piece of cardboard. Protect hands and body from high-pressure fluids.
- If an accident occurs, see a doctor immediately. Any fluid injected into the skin must be surgically removed within a few hours or gangrene may result. Doctors unfamiliar with this type of injury should reference a knowledgeable medical source. Such information is available from Deere & Company Medical Department in Moline, Illinois, U.S.A. Information may be obtained in the United States and Canada only by calling 1-800822-8262.
Dispose of Chemicals Properly
- Proper disposal of excess spray material is very important. If you have excess tank solution, it is best to dilute it with water and apply it to the area you previously treated.
- Never dump the solution into a drain or near a lake or stream. Chemicals containers should be triple-rinsed, with the rinse water added to the sprayer tank. Do not burn empty chemical containers. Dispose of containers at recycling centers.
Handling Waste Products and Chemicals
- Waste products, such as used oil, fuel, coolant, brake fluid, and batteries, can harm the environment and people:
- Do not use beverage containers for waste fluids someone may drink from them.
- See your local Recycling Center or authorized dealer to learn how to recycle or get rid of waste products.
- A Material Safety Data Sheet (MSDS) provides specific details on chemical products: physical and health hazards, safety procedures, and emergency response techniques. The seller of the chemical products used with your machine is responsible for providing the MSDS for that\ product.
Assembly
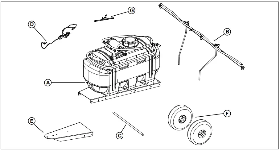
Identify Parts and Assemble
15 & 25 Gallon Standard Tow Behind

Parts in Kit
A- Sprayer Base Unit (Tank with pump and hoses attached)
B- Boom Assembly (25-gallon assembly shown)
C- Axle
D- Wiring Harness Switch
E- Hitch Frame
F- (2) Wheels
G- Wire Harness Battery
Parts in Hardware Bag
| Description | Qty |
| Hitch Clevis | 1 |
| L-Bracket | 2 |
| Locking Collar | 2 |
| Hitch Pin, 1/2 x 2-1/2 in. | 1 |
| Spring Locking Chip | 1 |
| Flat Washer | 2 |
| Axle Spacer | 2 |
| Bolt, Flange, 5/16th in. | 6 |
| Flange Nut, 3/8 in. | 4 |
| Wire Clip | 2 |
Attach Hitch Frame
- Remove hardware bags and wiring harness from inside tank.

- Place tank and frame assembly, with tank frame (A) on top, onto the top of the shipping box (B) for installing hitch frame.
NOTE: When installing hardware, always install with nuts to the inside. - With tank frame (A) mounted to the inside of the hitch frame (C), align the mounting holes on the tank frame to the mounting holes in the hitch frame.
- Install and tighten hardware (D):
• (4) 5/16 x 5/8 in. Flange Bolts
• (4) 5/16 in. Flange Nuts
Install Wheels
NOTE: Install wheels so tire valve stems face to the outside of the sprayer frame.

- Install and center axle (A) into rear holes of tank frame (B).
- Install axle spacer (C) and flat washer (D).
- Install wheel (E), and then secure it outside with a locking collar.
- Repeat for the opposite wheel. Wheel hardware:
• (2) Axle Spacers (C)
• (2) Flat Washers (D)
• (2) Locking Collar - Tighten locking collars with a hex key wrench.
- Lubricate wheel bearing grease fittings with recommended grease.
- Set the sprayer on wheels.
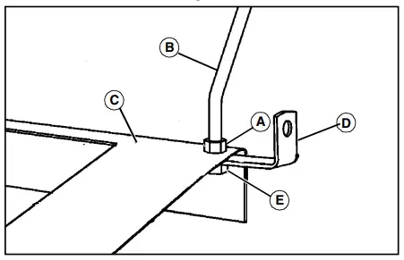
Install Hitch Assembly

- Install hitch clevis (A) on top of hitch frame (B) with hitch pin (C) and spring locking clip (D).
- Install and tighten hardware (E):
• (2) 5/16 x 5/8 in. Flange Bolts
• (2) 5/16 in. Flange Nuts
Install Boom Assembly

- Install 3/8 in. flange nut (A) on a boom support rod (B). Repeat for the opposite side boom support rod.
NOTE: Install L-bracket (D) facing toward the rear of the assembly and as far rearward as possible, as shown Boom assembly should be installed with hose connection tee facing forward. - Install the entire spray boom and support rods through earholes in the tank frame (C).
- Install L-bracket (D), and a second 3/8 in. flange nut (E). Repeat for the opposite side. Boom support hardware:
• (4) 3/8 in. Flange Nuts - Do not tighten boom hardware until the entire boom is in place.

- Connect tank hose (F) onto tee on boom hose.
Level Sprayer

- Level, straighten, and center boom with the back of the sprayer.
- Tighten hardware:
• (2) Nuts, 3/8 in. (A)
• (2) Locking Knobs (B)
Installation
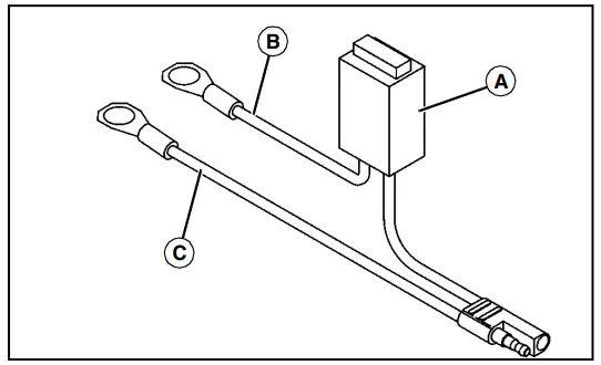
Install Wiring Harness to Battery
IMPORTANT: Avoid damage! To help prevent electrical sparks, install red wire to the positive (+) battery terminal first. Then install black wire to negative (-) battery terminal. To prevent damage to wiring, make sure hood does not close on wires connectors
NOTE: Depending on the location of your battery, a wiring harness extension may be required. Part numbers are AM105666 (John Deere) or ST43485 -2ft, ST43509-8ft (Agri-Fab). See your John Deere dealer order parts.

- The fuse holder (A) should contain a 15 A / 32 V fuse. Make sure the fuse filament is not broken.
- Open hood. If the battery is mounted low and behind the grille, carefully unsnap the top of the grille to provide access to battery terminals.
- Remove the nut from the positive (+) battery cable clamp. Install red lead (B) onto the clamp bolt. Install and tighten the nut completely.
- Remove the nut from the negative (-) battery cable clamp. Install black lead (C) onto the clamp bolt. Install and tighten the nut completely.
Install Wiring Harness (For Machines With Mid-Mounted Battery)
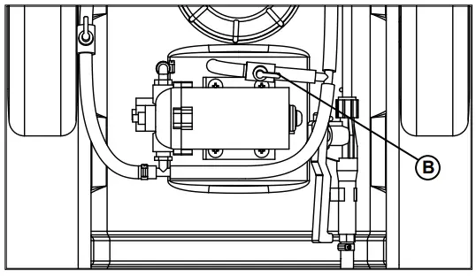
- Open hood.
NOTE: Switch (A) is not located at the center of the main wiring harness. The harness plug connector nearest to the switch gets connected to the pump leads.
- Connect the main wiring harness to pump leads (B).
- Route the main harness as shown and clip in place at the footrest side panel (C). On some units route harness is on the right side of the fuel tank filler neck.
IMPORTANT: Avoid damage! Avoid damage to wiring. Make sure the hood does not close on the wiring harnesses. Keep wiring harnesses away from all moving parts and hot surfaces. - Connect another end of the main harness to the fused battery lead (D).
- Close hood.
Install Wiring Harness Extension (For Machines With Front-Mounted Battery)
- Connect wiring harness extension (A) to fused harness (B) at the battery. Make sure the harness passes between the left side hood rods.

- Route wiring harness extension through front frame hole.
- Connect extension to battery lead plug. Then snap the front grille in place.
Install Wire Clips

- Clean foot rest of side panel (A) on the left side of the machine with a mild detergent or isopropyl alcohol. Dry thoroughly.
- Attach wire clips (B) to the panel. Position the clips as shown so that the sprayer main wiring harness will not interfere with the deck height adjustment crank if equipped.
Preparing Vehicle
Machine Requirements
Sprayer Weight:
- 15 Gallon Sprayer, Filled with liquid is 74 kg (164 lb)
- 25 Gallon Sprayer, Filled with liquid is 115 kg (253 lb)
IMPORTANT: Avoid damage! No rear suitcase weights or grass bagging attachments should be installed on the machine while using a sprayer
Make sure the machine tire pressure is correct. (See your machine operator’s manual for the correct pressure.) Machine weights improve stability. Add front weights for better front-end stability and steering. See your John Deere dealer for these weights. Instructions to install will come with the weights.
Your machine requires the following:
- 12-Volt Battery and Alternator
- Wiring Harness Extension: This part is required for all machines with the battery mounted near the front grille. Order this wiring harness from your John Deere dealer. ST43485-24in of ST43509-8ft
Operation
Filling Sprayer Tank
CAUTION: Avoid injury! Chemicals can be dangerous. Avoid injury to operator or bystanders:
- Read chemical container labels for mixing and handling instructions. A Material Safety Data Sheet (MSDS) should be supplied by the chemical dealer and provides proper safety information.
- Wear proper clothing and safety equipment while handling or applying spray chemicals.
- Wear a full covering of clothing, protective goggles, and rubber gloves.
- Prohibit all smoking, drinking, and eating chemicals.
- When filling the tank, never allow the end of the water hose to contact the chemical mixture.
- Clean the area around the tank filler cap to prevent tank contamination.
- Remove the tank filler cap and fill the tank.
Transporting Tow Behind Safely
- Push the pump switch to the off position.
Fold boom extensions in their transport position.
Sprayer weight:
15 Gallon Sprayer – Filled with liquid is 74 kg (164 lb)
25 Gallon Sprayer – Filled with liquid is 115 kg (253 lb)
Spraying Tips
- Check sprayer tip height. Adjust sprayer tip height, if needed, before operating. 15 and 25 Gallon Sprayer, 43 cm (17 in.)
- Do not let the sprayer run in one spot.
- Do not over-spray when you use weed killers.
- Liquid spray material is recommended. The sprayer does not agitate wettable powders.
- Timely applications of a smaller dosage are better than large applications.
- Turn the sprayer off during turns to avoid double spraying.
- Fill the sprayer where spills cannot harm grass.
- Follow the manufacturer’s recommendations for the application of specific chemicals.
- Stop the sprayer when the tank is empty.
Adjusting Tip Height
- Attach sprayer to the machine.

- Measure from spray tip to the ground. Distance to the ground (A) should be approximate: 43 cm (17 in.)
If necessary, adjust the boom height by raising or lowering the boom on the threaded boom supports (B).
- Check spray tips (C). Tips should be aligned with the boom (D) as shown. If necessary, loosen the spray tip cap nut (E). Align spray tip (C) and tighten cap nut.
- Test spray pattern with water on driveway or sidewalk. Each spray tip pattern should spread out to the right and left sides, rather than to the front and back of the boom. There should be some spray overlap between each tip and the spray patterns should be consistent.
Starting and Stopping Sprayer
IMPORTANT: Avoid damage! Operate the sprayer with the transport vehicle running to avoid discharging the battery.
NOTE: The sprayer pump to battery hookup is a direct electrical connection. Shutting off the transport vehicle does not prevent the operation of the sprayer pump. To avoid accidental spraying, disconnect the pump connection before leaving the sprayer.

Push switch (A) to on or off position to start or stop sprayer
Standard Sprayers

Valve (A) is used to control spray to the spray wand or boom:
- In the open position (valve in line with hose) spray will flow to the boom.
- In the closed position (handle perpendicular to a hose), the spray will flow to the spray wand only.
Standard Sprayer Recirculation

The sprayer is equipped with a recirculation valve (B) to aid in material agitation and pressure control. The location of this valve will vary with the sprayer model. This valve is in the “open” position when the valve handle is in line with the hose (pictured), and “closed” when perpendicular to the hose. Adjusting the recirculation valve between the pen/closed positions will affect the pressure coming through the spray wand only.
- The closed position is full pressure through a spray wand or boom.
- It may be helpful to adjust the pressure when spraying with the spray wand to avoid damage to plants from excess pressure.
- If your sprayer is equipped with a boom, this valve should be in the “closed” position when operating the boom.
Using Hand Wand
- Turn the valve to select handgun operation.
- Turn the selector lever to the handgun position.
NOTE: Removal of spray tip (A) allows for quick cleaning/rinsing of the sprayer tank. - Adjust nozzle:
• Nozzle Angle – Loosen locknut (B). Turn the nozzle tube (C) to the desired position and tighten the locknut.
• Nozzle Spray Pattern – To change the spray pattern, tighten or loosen the nozzle as desired. - Squeeze the handle (E) to spray.

- Push-lock (F) forward to the lock handle in the ON position.
Spraying Recommendations
- Do not let the sprayer run in one spot.
- Do not over-spray when you use weed killers.
- Liquid spray material is recommended. The sprayer does not agitate wettable powders.
- Timely applications of a smaller dosage are better than large applications.
- Turn the sprayer off during turns to avoid double spraying.
- Fill the sprayer where spills cannot harm grass.
- Follow the manufacturer’s recommendations for the application of specific chemicals.
- Stop the sprayer when the tank is empty.
- Always purge air from the spray wand at the start of the spraying session.
Checking Machine Ground Speed
- Drive the vehicle and sprayer (half-full is optimal) across a measured distance at a constant speed. There can be no change in speed while measuring time. Speed should be a comfortable speed for spraying.
- Have someone measure the amount of time (in seconds) it takes to travel the measured distance.
- Speed can be found by entering data into the equation: speed (mph) = distance (ft) x 60/time (sec) x 88, or by consulting the following table. It is helpful to note throttle location, gear and/or RPMs in order to maintain accuracy.
| Speed In mph | Time (sec) required to travel a distance of | |
| 200ft | 300ft | |
| 1 | 136 | 205 |
| 2. | 91 | 136 |
| 2 | 68 | 102 |
| 3. | 55 | 82 |
| 3 | 45 | 68 |
| 4. | 39 | 58 |
| 4 | 34 | 51 |
| 5. | 30 | 45 |
| 5 | 27 | 41 |
| 6. | 25 | 37 |
| 6 | 23 | 34 |
| 7. | 21 | 31 |
| 7 | 19 | 29 |
General Spraying Information 15 and 25 Gallon Sprayer Application:
The 15 and 25-gallon sprayers operate at a fixed pressure through the boom and spray wand. Although the pressure can be adjusted to the boom by partially opening the boom control valve, it is recommended that the valve is operated in the fully open position. Use the chart below to select your desired speed and application rate.
Spray Tip Application Chart
| GPA & Ga1/1000 Sq. Ft. | ||||||||
| Sprayer | Tip Size | PSI | GMP One Nozzle | GPA | ||||
| 2mph | 3mph | 4mph | 5mph | 6mph | ||||
| 25 Gallon | TP11008VP | 30 | 0.69 | 68. | 46. | 34. | 27. | 23. |
| 15 Gallon | 35 | 0.75 | 74. | 50 | 37. | 30. | 25. | |
| Sprayer | Tip Size | PSI | GMP One Nozzle | Gallons per 1000 Sq. Ft. | ||||
| 2mph | 3mph | 4mph | 5mph | 6mph | ||||
| 25 Gallon | TP11008VP | 30 | 0.69 | 2. | 1. | 0.78 | 0.63 | 0.52 |
| 15 Gallon | 35 | 0.75 | 2. | 1. | 0.85 | 0.68 | 0.57 | |
Spray Hand Wand
| Pressure | Nozzle | GOM (cone) | GPM (Stream) |
| 80 psi | #18 | 0.4 | 1. |
| Sprayer Capacity | Approximate Spray Time in Minutes | ||
| 25 Gallon | 63. | 20 | |
| 15 Gallon | 38. | 12 | |
Useful Formulas
GPA = gallons per acre
GPM = gallons per minute
MPH = miles per hour
GAL/1000ft2 = gallons per 1000 sq. ft.
W = nozzle spacing in inches
GPM/per nozzle = GPA x mph x w / 5940
GPM/per nozzle = gal/1000ft2 x mph x w / 136
GPA = 5940 x GPM (per nozzle) / mph x w
GPA = gallons per 1000 sq. ft. / .023
GAL/1000ft2 = 136 x GPM (per nozzle) / mph x w
NOTICE: Avoid contamination when switching from one chemical to another chemical in the sprayer where contamination must be prevented. Wash with tank cleaner and water throughout the tank, pump, and all hoses. Flush with water two to three times. Herbicides such as 2-4D are hard to remove. Follow instructions on procedures noted on all labels.
Lifting Sprayer Safely
- Use caution when lifting the sprayer to help prevent possible injury.
- Empty the tank before attempting to lift it.
Transporting Sprayer Safely
- Use caution when transporting the sprayer to help prevent possible injury.
- Push the pump switch to the OFF position.
- When the sprayer is filled with liquid, the extra weight on the back of the machine could change the stability of the machine.
Removing and Storing
Removing Sprayer
- Park the machine safely. (See Parking Safely in the Safety section.)
- Empty the sprayer tank.
- Disconnect the main wiring harness only. Leave all other harnesses installed on the machine.
- Roll up the main harness and store it with a sprayer.
- Remove Sprayer:

- Fold in boom extensions (A).

- Pull the spring locking pin (B) out of the hitch pin (C). Remove the hitch pin (C).
- Pull the sprayer back from the machine.
- Put hitch and spring locking pin in sprayer hitch for storage.
Draining and Cleaning the Sprayer Tank
IMPORTANT: Avoid damage!
- Proper disposal of excess spray is very important. Dilute it with water and apply it to an area previously treated.
- Never dump excess into a storm drain or near a lake or stream..
- Remove the tank drain cap, and empty the sprayer tank:
• Empty the remaining solution into an appropriated container for proper disposal.
• Pump 2 gallons of clean water through all wet components.
Note: Fold boom in or use individual containers to catch water from spray tips. Properly dispose of clean-out fluid. - Spray all inside surfaces of the tank with a low-pressure garden hose to remove any remaining solution. Rinse several times to make sure the sprayer tank is clean and free of chemicals.
- Replace the drain cap and run fresh, clean water through the pump, sprayer wand, and all hoses thoroughly.
- Once the tank is empty, wipe out the inside of the sprayer tank with a clean cloth or paper towel.

Store Sprayer Safely
- Ensure the sprayer tank is cleaned and drained.
- Fold in boom extensions (A).
- Remove the sprayer from the transport vehicle.
- Check the sprayer for worn or damaged parts. Replace parts as needed.
- Tighten loose hardware.
- The sprayer may be stored on end, with the sprayer resting on supports (B).
Service
Checking Tire Pressure

Check tire pressure at point (A).
- Tire pressure should be 207 kPa (30 psi).
Tire Size: - 15 and 25 Gallon Sprayer, 4.10 x 3.50 – 4
Clearing Spray Nozzle
CAUTION: Avoid injury! Do not put the nozzle tips or other prayer parts to your lips to blow out dirt. Use compressed air or clean water.

- Remove the spray nozzle (A) from the sprayer.
- Disassemble filter (B) and spray tip (C).
NOTE: Do not use a wire to clean opening (D) in spray tip. - Wash the filter and spray tip in a non-flammable solvent.
- Put the spray tip in the spray nozzle.
- Put the flat side of the filter in the spray nozzle.
- Install assembly on the sprayer and tighten the nozzle.
Cleaning Spray Wand Nozzle
NOTE: There are two different styles of nozzles for your sprayer. See below for an explanation of each style.
CAUTION: Avoid injury! Do not put the nozzle tip or other prayer parts to your lips to blow out dirt. Use compressed air or clean water.

- Remove the nozzle (A) from the spray tip (B).
- Loosen nut (C), and remove the spray tip (B) from the angled fitting on the wand.
- Wash the nozzle (A), and spray tip (B) with liquid detergent and warm water.
- Inspect O-rings and replace as needed.
- Slide nut (C) over the spray tip (B), and install an angled fitting on the wand.
- Install nozzle (A) on the spray tip (B).
Cleaning Pump Suction Screen

- Remove tank cover (A).
- Locate suction screen (B) inside the sprayer tank.
- If necessary, unscrew the suction screen and clean it with liquid detergent and warm water.
- If the suction screen was removed, install it on the suction hose and position it in the lowest depression inside the tank.
- Install and tighten the tank cover.
Changing Fuse
IMPORTANT: Avoid damage! The electrical system may be damaged if incorrect replacement fuses are used. Replace the bad fuse with a fuse of the same amp ratting.
- Open hood.

- Remove fuse (A).
- Install new 15 amp fuse.
- Close hood.
Troubleshooting
Using Troubleshooting Chart
If you are experiencing a problem that is not listed in this chart, see your authorized dealer for service.
When you have checked all the possible causes listed and you are still experiencing the problem, see your authorized dealer.
| IF | CHECK |
| Pump Loses Suction | Clean Pump suction screen. Check tank fill level. Fill tank. Clean or replace the pump. Check for loose pump fittings. |
| Pump Capacity Decreased | Clean pump suction screen. Clean spray nozzle(s). The selection lever is not completely turned on or is in the OFF position. |
| Poor Spray Pattern | Clean spray nozzles. Adjust nozzle height. Align spray tips with a boom. |
| The pump Does Not Work | Check wiring connections. Check the machine’s battery. Clean debris from the pump. Check the pump switch. Check the pump motor. Check the fuse at the battery. Adjust pump. |
Specifications
Model 15 Gallon Tow Behind Sprayer
Tank . . . . . . . . . . . . . . . . . . . . . . . . . . . . . 57 L (15 gallon)
Pump:
Type . . . . . . . . . . . . . . . . . . Electric Motor and Diaphragm
Manufacturer . .. . . . . . . . . . . . . . . . . . . . . . . . . . .SHURflo
Current Draw . .. . . . . . . . . . . . . . . . . . . . . . . . . . . . .7 amp
Fuse . . . . . . . . . . . . . . . . . . . . . . . . . . . . . . . . . . . .15 amp
System Pressure . . . . . . . . . . . . . . . . . . 689 kPa (100 psi)
Spray Rate . . . . . . . . . . . . . . . . . .5.7 L/min. (1.5 gal./min.)
Suction Hose Strainer. . .. . . . . . . . . . . . . . Stainless Steel
Spray Tip Material . . . . .. . . . . . . . . . . . . . . . . . . . . Plastic
Handgun:
Material. . . . . . . . . . . . . . . . . . . . . . Plastic with Brass Tip
Adjustment. . . . . . . . . . . . . . . . . . . . . . . . . Fan To Stream
Sprayer:
Nozzle Tip Height . . . . . . . . . . . . . . . . . . . . 43 cm (17 in.)
Spraying Width . . . . . . . . . . . . . . . . . . . . . 152 cm (60 in.)
Weight:
Empty . . . . . . . . . . . . . . . . . . . . . . . . . . . . . . 20 kg (44 lb)
Full . . . . . . . . . . . . . . . . . . . . . . . . . . . . . . . . 74 kg (164 lb)
Model 25 Gallon Tow Behind Sprayer
Tank . . . . . . . . .. . . . . . . . . . . . . . . . . . . . .95 L (25 gallon)
Pump:
Type . . . . . . . . . . . . . . . . . . Electric Motor and Diaphragm
Manufacturer . . . .. . . . . . . . . . . . . . . . . . . . . . . . .SHURflo
Current Draw . . . . . . . . . . . . . . . . . . . . . . . . . . . . . .7 amp
Fuse . . . . . . . . . . . . . . . . . . . . . . . . . . . . . . . . . . . .15 amp
System Pressure . . . . . . . . . . . . . . . . . . 689 kPa (100 psi)
Spray Rate . . . . . . . . . . . . . . .6.25 L/min. (1.65 gal./min.)
Suction Hose Strainer. . . . . . . . . . . . . . . . Stainless Steel
Spray Tip Material . . . . . . . . . . . . . . . . . . . . . . . . . Plastic
Handgun:
Material. . . . . . . . . . . . . . . . . . . . . . Plastic with Brass Tip
Adjustment. . . . . . . . . . …. . . . . . . . . . . . . . Fan To Stream
Sprayer:
Nozzle Tip Height . . . . . . . . . . . . . . . .. . . . . 43 cm (17 in.)
Spraying Width . . . . . . . . . . . . . . . . . . . . . 229 cm (90 in.)
Weight:
Empty. . . . . . . . . . . . . . . . . . . . . . . . . . . . . . 24 kg (53 lb)
Full. . . . . . . . . . . . . . . . . . . . . . . . . . . . . . . 115 kg (253 lb)
This page intentionally left blank
Getting Quality Service
John Deere Quality Continues with Quality Service John Deere provides a process to handle your questions or problems, should they arise, to ensure that product quality continues with quality parts and service support. Follow the steps below to get answers to any questions you may have about your product.
- Refer to your attachment and machine operator manuals.
- In North America or Canada, call John Deere Special Services at 1-800-448-9282 and provide the product serial number (if available) and model number.
Warranty
Limited Warranty for New John Deere Licensed Products
Agri-Fab’s Utility Vehicle Spreader Mounting Hitches are guaranteed to be free from defects in material and workmanship from the date of purchase for 2 years of residential use, and 6 months of commercial use, provided that the purchaser properly assembles, installs, uses, and maintains the products in accordance with this manual. The purchaser’s failure to adhere to such requirements will void the warranty. To the extent permitted by applicable law, all other warranties, representations, obligations, and conditions, expressed or implied, including but not limited to implied warranties of merchantability, fitness for any particular purpose, and non-infringement, are hereby disclaimed and excluded.
Any product which does not meet the warranty shall, as the purchaser’s sole and exclusive remedy, be repaired or replaced by Agri-Fab. This warranty is non-transferable.
In addition, our warranty does not cover:
- Labor charges
- Loss or consequential, incidental or special damages of any kind
This product was manufactured by Agri-Fab, Inc, a John Deere Licensee, located at 809 S Hamilton, Sullivan, IL 61951. If you have any questions or concerns with the assembly, installation, or operation of this attachment, see your local John Deere dealer or call Agri-Fab at 1-800-448-9282 for assistance.

15 & 25 GALLON TOW BEHIND SPRAYER






• Nozzle Angle – Loosen locknut (B). Turn the nozzle tube (C) to the desired position and tighten the locknut.




















