

BY-M1000
User Manual
Dear customer,
Thank you for purchasing our product. Please read the following instructions carefully before first use and keep this user manual for future reference. Pay particular attention to the safety instructions. If you have any questions or comments about the device, please contact the customer line.
www.alza.co.uk/kontakt
+44 (0)203 514 4411
Importer : Alza.cz a.s., Jankovcova 1522/53, Holesovice, 170 00 Praha 7, www.alza.cz
Introduction
Thank you for purchasing the BOYA BY-M1000! The BOYA BY-M1000 is a 34mm diaphragm condenser microphone, with sturdy all-metal housing, three selectable polar pattern, -10 dB switch design, BOYA BY-M1000 is suited for capturing instruments and vocals in project and professional recording applications, such as for singers, songwriters, voiceover artists, field recorders and home studio recordings. Additionally, the microphone offers a 20 Hz to 20 kHz frequency response for accurately reproducing audio signal in a variety of ranges. The microphone uses standard 24V or 48V phantom power, which is supplied through the standard XLR connector.
Package Contents
- BY-M1000 condenser microphone
- Studio-grade pop shield
- Shockmount
- 3m balanced XLR cable
General Functions
Polar Patterns
Cardioid
The cardioid polar pattern is focusing audio capture in front of the capsule, minimizes unwanted ambient sound from the other sides and back of the microphone. This polar pattern is suitable for such situations when you want to pick up specific sound sources, such as recording vocals, guitar, pianos, stringed instruments, and more.
Omni-directional
The omni-directional polar pattern will in principle pick up sound equally from all directions. Whether the sound resource from the front, the side, or even back, the microphone will record the signals all with equal gain. This polar pattern can be very useful in applications where sound needs to be recorded from multiple directions, such as a musical performance where there is a band of musical instruments in front and a choir singing behind.
Bi-directional
Bidirectional polar pattern is figure-of-eight pattern and picks up sound equal sensitivity from two opposite directions, front and back of the microphone, and with low sensitivity from the sides. This polar pattern is best suited for interview, Q&A lecture or presentation, acoustic instruments, and for live recordings of jazz and acoustic groups.
High-Pass Filter
A low-cut filter at 150 Hz allows you to eliminate low frequency hum and other lowfrequency noises.
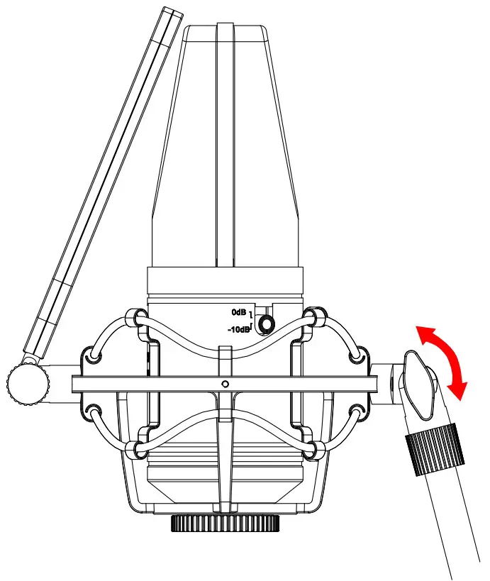
A -10 dB Pad Switch
A -10 dB pad switch provides more headroom when capturing transient signals that may otherwise cause peak distortion.
How to Use It
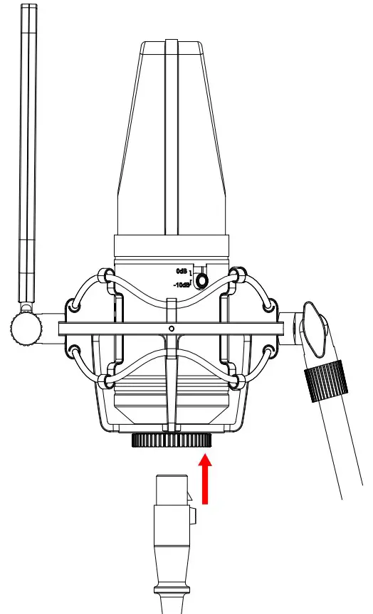
- Mount BY-M1000 on 3/8″ and 5/8″ microphone stands or tripods.
Note: When changing the mic position, always be sure to loosen the adjustment knob first to ensure you do not damage the shock mount. - Rotate locking knob to adjust microphone fits your position.
Note: When recording any sound source, whether it be vocals, instruments or anything else, always spend time experimenting with microphone placement to ensure you are picking up the best possible sound. Adjust the microphone position as many times as you need to achieve your demand.
- Mount the supplied pop filter in front of microphone.
Note: The “BOYA” Logo on the face of the BY-M1000 indicates the front of the microphone, and the pickup area of the capsule. The “BOYA” Logo should always be facing towards the sound source that you wish to record.
- Insert supplied XLR cable to the microphone.

Features
- Gold sputtered diaphragm.
- Broadcast-quality condenser microphone.
- Cardioid, Omni-directional and Bi-directional polar patterns.
- Wide frequency range and ultra-low noise.
- Off-axis rejection for clean recordings.
- Included Shockmount & pop filter.
- Controlled by low-cut filter switch.
- 0dB, -10dB Pad switch.
- Electrically balanced output.
- 3-Pin XLR plug.
- 24V or 48V phantom power.
- All-metal housing.
- Included 3/8″ and 5/8″ thread.
Specifications
| Acoustic Principle | Condenser |
| Polar Pattern | Cardioid, Omni-directional, Bi-directional |
| Diaphragm | 34 mm |
| Frequency Response | 20 Hz – 20 kHz |
| Sensitivity | -33 ± 3 dB (0 dB = 1 V/Pa @ 1 kHz) |
| SN | 80 dB and more |
| Output Impedance | 200 Ω |
| Power Requirements | 24V or 48V Phantom |
| Cable Length | 3 m |
| Dimensions | 207x115x185 mm |
| Weight | 812 g |
Frequency Response

Polar Response

Bi-directional
Maintaining Your Microphone
- Keep your microphone away from dust, moisture or water.
- To clean the housing, wipe with a dry micro-fibre cloth to remove dust.
- Store your microphone in the included pouch to protect it from dirt and dust.
Important Safety Information
- Make sure that you follow all safety notes.
- Keep these instructions for use in a safe space. If you sell the equipment or pass it on to someone else, you should also pass on these instructions for use.
Danger of Fire and Short-circuit
- Do not operate the device with wet hands.
- Clean the equipment only in the way described in Maintaining Your Microphone.
- Take care to avoid dropping the equipment. Make sure that the device is properly fastened and reliably mounted. If the device has been dropped, have it inspected by a skilled technician before you switch it on again.
- Should the equipment be damaged or defective, or if you notice a scorching smell, remove the batteries immediately. Do not operate the device with a damaged housing and do not repair the device yourself. Have the device only repaired by a skilled service person.
Warranty Conditions
A new product purchased in the Alza.cz sales network is guaranteed for 2 years. If you need repair or other services during the warranty period, contact the product seller directly, you must provide the original proof of purchase with the date of purchase.
The following are considered to be a conflict with the warranty conditions, for which the claimed claim may not be recognized:
- Using the product for any purpose other than that for which the product is intended or failing to follow the instructions for maintenance, operation and service of the product.
- Damage to the product by a natural disaster, the intervention of an unauthorized person or mechanically through the fault of the buyer (e.g. during transport, cleaning by inappropriate means, etc.).
- Natural wear and aging of consumables or components during use (such as batteries, etc.).
- Exposure to adverse external influences, such as sunlight and other radiation or electromagnetic fields, fluid intrusion, object intrusion, mains overvoltage, electrostatic discharge voltage (including lightning), faulty supply or input voltage and inappropriate polarity of this voltage, chemical processes such as used power supplies, etc.
- If anyone has made modifications, modifications, alterations to the design or adaptation to change or extend the functions of the product compared to the purchased design or use of non-original components.
EU Declaration of Conformity
Identification data of the manufacturer’s / importer’s authorized representative:
Importer: Alza.cz a.s.
Registered office: Jankovcova 1522/53, Holesovice, 170 00 Prague 7
ICO: 27082440
Subject of the declaration:
Title: Microphone
Model / Type: BY-M1000
The above product has been tested in accordance with the standard(s) used to demonstrate compliance with the essential requirements laid down in the Directive(s):
Directive No. (EU) 2014/30/EU
Directive No. 2011/65/EU as amended 2015/863/EU
Prague, 23.11.2020
WEEE
This product must not be disposed of as normal household waste in accordance with the EU Directive on Waste Electrical and Electronic Equipment (WEEE – 2012/19 / EU). Instead, it shall be returned to the place of purchase or handed over to a public collection point for the recyclable waste. By ensuring this product is disposed of correctly, you will help prevent potential negative consequences for the environment and human health, which could otherwise be caused by inappropriate waste handling of this product. Contact your local authority or the nearest collection point for further details. Improper disposal of this type of waste may result in fines in accordance with national regulations.






















