nJoy Aira 600 Series Pure Sine Wave UPS User Manual
Thank you for purchasing our products!
Please read this manual before using the product.
nJoy is a brand of power and backup protection products that create solutions for multiple levels of environment complexity, residential to industrial.
This UPS will protect your electronic equipment from physical damage and will provide emergency battery backup power to prevent data loss in the event of power problems.
Package contents
- UPS unit
- Power cord (attached)
- Battery cables (attached)
- User manual
- Warranty card
- Car battery adapter
NOTE!
Before installation, please inspect the unit. Be sure that nothing inside the package is damaged. Keep the original package in a safe place for future use.
Product overview

- LCD display
- LEDs of charging current status
- Power On/Off button
- Schucko outlets
- Circuit breaker
- Battery cables +/- (attached)
- AC input power cord (attached)
NOTE!
This UPS does not include a built in battery, it must be purchased separately
Important safety warnings
Please comply with all warnings and operating instructions in this manual strictly. Save this manual properly and carefully read the following instructions before installing the unit. Do not operate this unit before reading through all safety information and operating instructions carefully
Transportation
- Please transport the UPS system only in the original package to protect against shock and impact.
Preparation
- Condensation may occur if the UPS system is moved directly from cold to warm environment. The UPS system must be absolutely dry before being installed. Please allow at least two hours for the UPS system to acclimate to the environment.
- Do not install the UPS system near water or in moist environments.
- Do not install the UPS system where it would be exposed to direct sunlight or near heat sources.
- Do not block ventilation holes in the UPS housing.
Installation
- Place cables in such a way that no one can step on or trip over them.
- Do not connect domestic appliances such as hair dryers to UPS output sockets.
- The UPS can be operated by any individuals with no previous experience.
- Connect the UPS system only to an earthed shockproof outlet which must be easily accessible and close to the UPS system.
Operation
- Do not disconnect the mains cable on the UPS system or the building wiring outlet (shockproof socket outlet) during operations since this would cancel the protective earthing of the UPS system and of all connected loads.
- In order to fully disconnect the UPS system, first press the OFF/Enter button to disconnect the mains.
- Prevent fluids or other foreign objects from entering the inside of the UPS system.
Maintenance, service and faults
- The UPS system operates with hazardous voltages. Repairs may be carried out only by qualified maintenance personnel.
- Caution – risk of electric shock. Even after the unit is disconnected from the mains (building wiring outlet), components inside the UPS system are still connected to the battery and electrically live and dangerous.
- Before carrying out any kind of service and/or maintenance, disconnect the batteries and verify that no current is present and no hazardous voltage exists in the terminals of high capability capacitor such as BUS-capacitors.
- Only persons are adequately familiar with batteries and with the required precautionary measures may replace batteries and supervise operations. Unauthorized persons must be kept well away from the batteries.
- Caution – risk of electric shock. The battery circuit is not isolated from the input voltage. Hazardous voltages may occur between the battery terminals and the ground. Before touching, please verify that no voltage is present!
- Batteries may cause electric shock and have a high short-circuit current. Please take the precautionary measures specified in this manual and any other measures necessary when working with batteries: remove wristwatches, rings and other metal objects, use only tools with insulated grips and handles.
- When changing batteries, install the same number and same type of batteries.
- Do not attempt to dispose of batteries by burning them. This could cause battery explosion.
- Please replace the fuse only with the same type and amperage in order to avoid fire hazards.
- Do not dismantle the UPS system.
Connecting your equipment and first usage
Connecting external battery
It is recommended to install a DC Breaker in a positive battery line. The rating of the DC Breaker must be at least 75Ah to guarantee safe operation without interruption. Keep the DC Breaker off.
NOTE!
For the user operation safety we strongly recommend that you should use tapes to isolate the battery terminals before you start to operate the UPS.
A. Single battery connection
When using a single battery its voltage must be equal to the Nominal DC Voltage of the unit.
B. Multiple batteries in series connection
All batteries must be equal in voltage and amp hour capacity. The sum of their voltages must be equal to the nominal DC Voltage of the unit.
C. Multiple batteries in parallel connection
Each battery’s voltage must be equal to the Nominal DC Voltage of the unit.
CAUTION
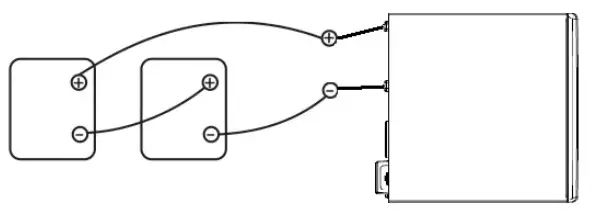
Make sure to connect the polarity of battery side and the unit correctly. Positive pole (Red) of battery to the positive terminal (+) of the unit. Negative pole (Black) of battery to the negative terminal (-) of the unit.
After connecting the battery to the UPS use tape to isolate the external battery terminals.
Connecting to utility and charge
Plug in the AC input cord to the wall outlet. The unit will automatically charge the connected external battery even though the unit is off.
Starting the UPS
Please make sure that the battery is connected before you turn ON the UPS. If your battery is connected you can turn ON the ON/OFF switch and charge the battery or batteries at least 8 hours for a full load.
NOTE!
The battery or batteries connected to the UPS must be at least 38Ah each to guarantee safe operation without interruption.
CAUTION
The unit may have output power when is connected to the utility, even though it is powered off. To completely cut off the output power, please switch off the unit and disconnect.
Positioning
For optimal ventilation of the UPS, please place it 15cm distance from any wall or object.
Operation
- Connect the RED battery cable to the anode and the BLACK one to the cathode. Battery cables are required to be connected with the anode and cathode tightly. Short circuit between the anode and cathode, as well as the polarity reverse are strictly forbidden.
- Connect your equipment to the UPS. To ensure that your equipment will be protected during an utility failure, it is important to make sure that the maximum power needed by the equipment is not over the rated capacity of the UPS. Alarm will beep if the load is over the rated value. Meantime, if the overload is severe, the UPS will shut down immediately for protecting itself.
- DC start: during a blackout, push the button for 4 seconds; then, the UPS will be turned on and enter into back-up mode. To turn off the power from the UPS, please push the button for 4 seconds.
- Once it is connected with normal city power, the UPS will charge the battery automatically. Please push the button on the front panel for about 4 seconds to turn on the UPS.
- Push the button for 4 seconds to turn off the UPS. The UPS will keep charging the battery if the utility power is normal. Please pull out the power cord if you want to turn off the UPS completely.
- Under back-up mode, when battery voltage is too low or too high, the UPS will emit alarm; if the voltage is too much low/high, the UPS will turn off itself automatically.
- When the green LED is bright, the UPS’s charger works on 10A. If you press the front button for 10 seconds, the LED will turn red and the charger will work on 20A.
- Beep alarm ON/OFF: Push the power button for one second to turn the beeper ON or OFF.
LCD indicators
- Auto turn-on: UPS will turn on automatically when city power is back.
- AVR: The AVR is increasing (boost mode) or reducing (buck mode) the input voltage to the UPS output.
- Display of frequency: in the normal mode, a short touch at the button will display I/P frequency for 4 seconds.
- Display of input and output voltage: When UPS is turned on,
- LCD will show input and output voltage. Battery capacity: Estimated battery capacity, the accuracy is influenced by UPS operation mode and load level.
- Load level: the load level, percentage of full load.
- Alarm icon: when the beeper is ON, the icon appears on the LCD.


| UPS Mode & LCD display | |
![]() | ![]() |
| AC mode | Backup mode |
Troubleshooting
| Problem | Possible caus | Solutions |
| UPS no reaction while AC is connected. |
|
|
| Power output is normal, UPS emits continuous beep, Load level indicator flickers | The inveryer is overloaded. | Turn off the UPS and unplug excessive loads from UPS. |
| UPS does not provide expected run time. |
| Leave the UPS plugged in for 10 hours. Then test it again. If UPS still can not provide expected run time, battery should be replaced. |
| Button on front panel does not work. | The CPU inside UPS is not running correctly. 2. Button damage | Unplug line cord and battery cord from the UPS to let it shut down automatically. Then plug the line cord and battery cord again. If button still fails, please call for servic |
| UPS emits urgent beep, battery capacity indicator flickers. | Low battery |
|
| UPS cannot DC start. |
|
|
NOTE!
If any abnormal situations occur that are not listed above, please call for service immediately
Disposal of Old Electrical & Electronic Equipment
(Applicable in the European Union and other European countries with separate collection systems)
This symbol on the product or on its packaging indicates that this product shall not be treated as household waste.
Instead it shall be handed over to the applicable collection point for the recycling of electrical and electronic equipment.
By ensuring this product is disposed of correctly, you will help prevent potential negative consequences for the environment and human health, which could otherwise be caused by inappropriate waste handling of this product.
The recycling of materials will help to conserve natural resources.
EU Declaration of Conformity
We, manufacturer / importer
DAI-TECH SRL
28 Popa Sapca
300057, Timisoara
Romania
declare that the product
UPS Aira Series:
UPCSTLP860TAICP01B
UPCSTLP812HAICP01B
is in conformity with
(EC conformity marking)
Tested with the listed standards, the above mentioned product was found in compliance with 2014/30/EU EMC Directive and with 2014/35/EU LVD Directive
EC 62040-2:2016
IEC 61000-3-2:2014
IEC 61000-3-3:2013
IEC 62040-1:2008+A1:2013
and in conformity with
(RoHS conformity marking) in accordance with European Directive 2011/65/EU.
July 05, 2020
Timişoara
Date and location

Tommy Lee
Signature and name























