INSTRUCTIONS FOR:
PURE SINE WAVE INVERTER
12V/ 24V/ 48V DC INPUT, 300-3000 WATT
MODEL NO’s: SCH300, SCH600, SCH1000, SCH1500, SCH2000, SCH3000
Thank you for purchasing a Cosuper product. Manufactured to a high standard, this product will, if used according to these instructions and maintained properly, give you years of trouble free performance.
IMPORTANT: SPECIFICALLY, PLEASE NOTE THAT THE GLOBAL HF INVERTER SHOULD NOT BE USED IN CONNECTION WITH THE LIFE SUPPORT SYSTEM OR OTHER PRECISE MEDICAL EQUIPMENT OR DEVICES.
BEFORE USING THE INVERTER, YOU NEED READ AND SAVE THE SAFETY INSTRUCTIONS.

Refer to Instruction Manual
1. SAFETY
Battery
DANGER! – Beware, lead-acid batteries generate explosive gases during normal battery operation.
✔ Wash with soap and water immediately if battery acid contacts skin or clothing. If acid enters eye, flush immediately with cool,clean running water for at least 15 minutes and seek immediate medical attention.
✘ DO NOT smoke or allow a spark or flame in the vicinity of the battery or engine.
✔ If the battery terminals are corroded or dirty, clean them before attaching the leads.
❐ WARNING! To prevent the risk of sparking, short circuit and possible explosion DO NOT drop metal tools in the battery area, or allow them to touch the battery terminals.
✔ Before attaching to battery, remove personal metallic items such as rings, bracelets, necklaces and watches. A lead acid battery can produce a short-circuit current which is high enough to weld such items and cause severe burns.
Inverter
✘ DO NOT expose inverter to rain, snow, spray, bilge or dust. DO NOT cover or obstruct ventilations.
✔ MAKE SURE at least 10CM of clearance around inverter for air flow. Minimum air flow of 145CFM is required.
✔ MAKE SURE existing wiring is in good electrical condition. DO NOT operate inverter with damaged or substandard wiring.
✘ DO NOT install in compartments containing batteries or flammable materials or in locations which require ignition protected equipment.
✘ DO NOT disassemble this inverter charger. Internal capacitors remain charged after all power is disconnected. Attempting to service this inverter by yourself may cause electrical shock or fire.
❐ WARNING! Disconnect both AC output and DC power from the SCH inverter before any maintenance. Turning off controls will not reduce risk.
DANGER! The output side of inverter’s AC wiring at no time be no connected to public power or a generator. Beware the wiring connection.
2. INTRODUCTION
General Information
SCH series inverters are all pure sine wave inverter. Pure sine wave inverters are best for use on medical equipment and sensitive electrical appliances.
Unlike the modified sine wave inverter, pure sine wave allows you to watch television without static, play your games on an XBox™, Playstation™ or Wii™ and run a fluorescent, all of which may not operate properly on a modified sine wave inverters.
Safety is paramount and in particular with inverters which is why COSUPER fully electrically isolates the DC (and therefore battery posts, vehicle chassis, etc) from the 110V or 230V AC circuit.
Applications
Power tools- circular saws, drills, grinders, sanders, buffers, weed and hedge trimmers, air compressor and etc.
Office equipment- computers, printers, monitors, facsimile machines, scanners and etc.
Household appliances- vacuum, fans, lights, TV, refrigerator, microwave, coffee machine, toaster, blender and etc.
Industrial equipment- metal halide lamp, high pressure sodium lamp and etc.
NOTE, The inverter working time with 100% loads cannot over 90 minutes.
Model Information

- COSUPER SCH series inverter
- Power range
600=600W 1000=1000W 1500=1500W 2000=2000W 3000=3000W - Rated AC input& Output voltage
2=230VAC 1=120VAC - DC range
12=12V 24=24V 48=48V
Electrical Performance
Inverter: Full bridge topology
SCH series inverter surges 2×rated power to support the induction loads such like air compressor, residential refrigerator, blender or coffee maker.
When operate the heat blower and microwave, it would draw more than the rated power to boost the appliances. With the strong inside building and fast cooling fans, SCH inverter gives the excellent performance of operating.
Peak efficiency of SCH series is 93.5%.
Remoet controller
The SCH600, SCH1000, SCH1500, SCH2000 and SCH3000 can connect to an optional remote (P/No. CR10) which will allow the inverter to be turned on/off remotely. Ideal for use in caravans, motor homes and boats.
Protection
- Low input voltage
- High input voltage
- Low battery alarm
- Over temperature
- Overload
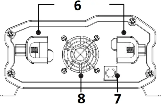
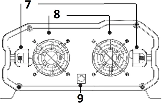
3. PRODUCT OVERVIEW


* SCH300(without remote) & SCH600
- Remote Input
- L.E.D Status Indicators
- ON/OFF Switch
- AC Output Socket
- Mounting Flange
- 12V DC Terminals
- Earth Terminal
- Fan


* SCH1000 & SCH1500
- L.E.D Status Indicators
- Remote Input
- ON/OFF Switch
- Digital Screen
- AC Output Socket
- Mounting Flange
- Fans
- Earth Terminal
- 12V DC Terminals


* SCH2000 & SCH3000
- Remote Input
- L.E.D Status Indicators
- ON/OFF Switch
- Digital Screen
- AC Output Socket
- Mounting Flange
- 12V DC Terminals
- Fans
- Earth Terminal
4. INVERTER OPERATION
Getting Started
When a motorized appliance or a tool turns on, there is an initial surge of power to start. This surge of power is referred to as the “starting load” or “peak load.” Once started, the tool or appliance requires less power to operate. This is referred to as the “continuous load” in terms of power requirements. You will need to determine how much power your tool or appliance requires to start up (starting load) and its continued running power requirements (continuous load).
Power consumption is rated in watts, or it can be calculated from amperes (amps). This information is usually stamped or printed on most appliances and equipment. If this information is not indicated on the appliance or equipment, check the owner’s manual.
Multiply: AC AMPS X 110 (AC voltage) = WATTS
* This formula yields a close approximation of the continuous load of your appliance.
Multiply: WATTS X 1.5 = Starting Load
* This formula yields a close approximation of the starting load of most appliances. Exceptions are motorized appliances such as pumps, freezers and air conditioners. These appliances can have startup loads of up to three to eight times the rated watts.
Determining the DC Power Requirement
Powering multiple appliances from the high-power SCH1000/ SCH1500/ SCH2000/ SCH3000 inverter requires a 12 volt bank of batteries (several batteries). To calculate the approximate power in amps a 12 volt battery bank has to supply you need. To know the current, or amps required for powering the continuous AC load, a shortcut method is to divide the continuous AC load wattage by 12. For example, the continuous AC load is 1500 watts. The current (amps) is: 1500/12 or 125 amps at 12 VDC. Similarly for the 24 VDC and 48 VDC battery(batteries), divide the continuous AC load wattage by 24 or 48.
Sizing the Battery Bank
To determine the minimum battery bank ampere-hour rating that you will need to operate appliances from the inverter, and any DC appliances powered by the battery bank, follow these steps:
- List the maximum wattage that the inverter has to provide (as above).
- Estimate the number of hours the appliances will be in use between battery recharges. This will differ depending on appliances. As an example, a typical home-use coffeemaker draws 500 watts during its brew time of 5 minutes; it maintains the temperature of the pot at about 100 watts. Typical use of a microwave oven is only for a few minutes. Some longer operating time appliances are lamps, TVs, computers and refrigerator / freezers.
- Determine the total watt-hours of energy needed. Then multiply the average power consumption in watts by the number of hours of run time. For example: 1500 watts for 10 hours = 15,000 watt hours. Using the 1500 watts (or 150 Amps) for 10 hours example as above, then 150 amps is needed for 10 hours. This provides us with the basic amp-hours (AH) of battery that is required. Ten hours at 150 amps equals 1500 Amp Hours (AH). This answer is just a beginning because there are other conditions that determine actual run time.
These include:
- AC appliance load and time in use (basic Amp Hour)
- Cable gauge and length (cable losses)
- Charge level of the batteries (between use, chargers have to be able to fully charge the batteries)
- Temperature of the batteries (colder batteries provide fewer amps)
- Age and condition of the batteries (older batteries lose capacity/amp hours)
- Compliance with turning off unnecessary AC and DC loads. If there is any doubt about sizing the battery bank, it is safe to overestimate the amp hour requirements of the battery bank.
Note:
The type of batteries you use to power your high power inverter is important. Operating a high-power inverter will routinely discharge batteries and they will require frequent recharging. Batteries used to start engines are not designed to repeatedly charge and discharge. COSUPER recommends using “deepcycle” or “marine” rated batteries.
Cable Gauges
When connecting the inverter to a battery bank use the thickest stranded insulated copper wire available, in the shortest length practical. Recommended cable gauges are as follows:
Model Recommended Gauges
SCH600: ————- 6AWG (3 ft / 60A inline ANL Fuse)
SCH1000: ———– 4AWG (3 ft / 100A inline ANL Fuse)
SCH1500: ———– 2AWG (3 ft / 150A inline ANL Fuse)
SCH2000: ———– 2AWG (3 ft / 200A inline ANL Fuse)
SCH3000: ———– 0AWG (3 ft / 300A inline ANL Fuse)
WARNING:
DANGER OF BATTERY EXPLOSION - INSTALL A FUSE
Battery banks can deliver very high levels of current that can vaporize metal, start fires and cause explosions. COSUPER recommends installing one ANL type fuse and fuse holder close to the positive battery bank terminal. This fuse protects the batteries from accidental DC cable shorts, which can cause batteries to explode. ANL fuses and fuse holders are available at most marine supply stores
Mounting Instructions
Your Inverter should not be mounted under the hood of a vehicle.
If installing in a vehicle, choose a dry, cool, ventilated area closest to the battery as practical. Before drilling any mounting holes, make sure that there are no wires, fuel lines, or tanks directly behind the surface to be drilled. To mount the inverter:
- Inverter must be OFF.
- The inverter should be mounted horizontally.
- Position the inverter against the mounting surface and mark locations of the mounting screw openings.
- Remove the inverter and drill four mounting holes.
- Fasten the inverter to the mounting surface using corrosion-resistant fasteners sized #10 or larger.
Connecting Inverter
- Prepare all cable ends with cable lugs.
- Install a circuit breaker or high current fuse and fuse holder in the positive line as close to the battery as possible.
- Make sure the inverter On/Off switch is turned OFF.
- Connect the cables to the DC input terminals on the rear of the inverter. The red terminal is positive (+) and the black terminal is negative (-).
a. Connect the positive cable to the inverter and battery positive terminals.
b. Connect the negative cable to the inverter and battery negative terminals.
e. Connect an insulated wired from the chassis-ground terminal at the front panel of the inverter to the vehicle’s chassis or any other ground point.

NOTE: Sparking is normal for the first connection. Make sure you have good secure connections - But do not over-tighten.
Operation
- Turn On the inverter.
- Turn OFF the inverter.
- When you have confirmed that the appliance to be operated is turned off, plug an appliance cord into one of 110v or 230V AC outlets on the front panel of the inverter.
- Turn ON the inverter.
- Turn the appliance on.
- Plug in additional appliances and turn them on.
5. INDICATE & ALARM
L.E.D Lights
SCH inverters are equipped with two status L.E.D’s and audible alarm. During normal operation, the green L.E.D will illuminate solid green. In the event of a fault or error, the alarm will sound and the red L.E.D will illuminate.
Status L.E.D signal Alarm
Normal: ——————————- Green
———– /
Low battery voltage: —————- Green
———– ON
Low battery voltage shutdown: — Red
———– ON
Over-temp shutdown: ————– Red
———– ON
Output short circuit: —————- Red
———– ON
Overload shutdown: —————- Red
———– ON
High battery voltage shutdown: — Red
———– ON
Restarting after an AC Output Shutdown
- Press the unit’s power switch to turn it off.
- Remove all AC loads or let the unit cool down for 15 minutes.
- Press the unit’s power switch to turn it on.
Operation condition Voltage range Comments
Normal: —————————————- 11.0V- 14.0V ——- /
Peak performance: —————————- 13.0V- 14.0V ——- /
Low voltage alarm: ————————— 10.5±0.3V ———- The audible low battery alarm sounds.
Low voltage shutdown: ———————- 10.0±0.3V ———- The unit shuts down to protect the battery from being over-discharged
High voltage shutdown: ——————— ≥15.5V ————– The unit shuts down to protect itself from excessive or more input voltage.
Note: Although this incorporates over-voltage protection, it can still be damaged if input voltage exceeds 16V
Unit restart after low voltage shutdown: — 12±0.3V ———— The unit will not restart unless the battery voltage is acceptable for running the load.
Remote Control

An optional remote can be purchased for the SCH300, SCH600, SCH1000, SCH1500, SCH2000 and SCH3000.
P/No. CR10.
To install the remote control, insert the plug into the RJ45 socket on the front panel.
The remote has the ability to turn the inverter on and off remotely and indicate when the inverter is on.
6. TROUBLE SHOOTING
Symptom | Possible cause | Solution suggested |
| Inverter will not turn on during initial power up | Batteries are not connected; loose battery-side connections or low battery voltage | Check batteries and cable connection. Check DC fuse and breaker; Charge Battery |
| NO AC output voltage and no indicator lights ON | Inverter has been manually transitioned to OFF mode | Press the switch to ON position; Switch to Remote position and turn on by controller |
| AC output cut, red LED light on and alarm buzz ON | Low battery voltage and low capacity level | Check battery condition and recharge if possible |
| Inverter is over temperature or overload | Turn off inverter and allow inverter cool; Reduce the load on inverter to rated power | |
| Too high battery voltage | Check battery voltage and ensure inverter connect to the 12V battery(batteries). | |
| Appliance power is less than rated power but inverter red LED light on and alarm buzz on | Low battery capacity cause short DC input power although the battery voltage is higher than rated voltage. | Use amperemeter check the DC input amp; Recharge the battery. Or contact the dealer for assistance. |
| Motored appliances cannot fully run | Motored appliances required big start power that is over inverter surge power | Choose the higher power inverter |
FAQ
Q. Why does the inverter turn itself off?
A. If the inverter’s audible alarm sounds and a fault L.E.D illuminates, this indicates that there is a fault or error, and the inverter may turn off. Most commonly this would be caused by an appliance that is drawing too much power (overloading), low battery voltage or voltage drop due to insufficient size cables or poor connections.
Q. The Inverter will not run my appliance even though the appliance draws less power (Watts) than the size of the inverter?
A. Electrical appliances can be divided into three groups by the way they draw energy (current) from their power supply. These groups are “Resistive”, “Inductive” and “Capacitive” appliances or also called “loads”. Some appliances may draw all three types of power.
Resistive Loads such as normal incandescent lights (wire filament) always draw a constant power (watts) from the power supply, that is a 100 Watt light will draw approximately 100 Watts from the power supply at all times. Resistive loads are the easiest appliances for an inverter to run.
Inductive Loads such as a refrigerator (Electric Motor) require a large rush of power (surge current) to start and then usually draw a more constant power once running. Inductive loads contain coils of wire (motors, transformers, ballasts, solenoids). When the power is first turned on,these coils of wire draw a large surge current which forms the magnetic flux (magnetic field) which allows these appliances to work. This magnetic flux is a kind of stored energy.
The most common inductive appliances are: fridges, air compressors, transformers/ chargers, pumps, power tools and fluorescent lights. These appliances may draw up to 10 times their normal running power to start up; that is to run a 80W fridge you may need a 600 or 1000 Watt inverter.
Capacitive Loads such as many TV’s or many electronic appliances require a large surge current to start only when they have not been used for a while. This is often due to large capacitors in the power supply that must be quickly charged when the appliance is turned on. If the appliance is not used for a few days these capacitors slowly go flat. Resetting the inverter a couple of times may allow these appliances to work.
Q. Why does it damage the inverter if the battery leads are reverse-connected?
A. Your inverter uses sophisticated electronics to convert DC battery power to AC mains power. If you accidentally connect the inverter to the battery incorrectly (reverse polarity) a large current will be drawn by the inverter which will blow the protection fuse. As this occurs some of the high current could damage sensitive electronic components. Because of this risk it is important to always double-check the battery polarity before making any connections.
Q. How do I check or change the fuses?
A. SCH inverters contain internal fuses and should only be checked or replaced by a qualified electrical appliance repairer. THE DC SUPPLY MUST BE DISCONNECTED BEFORE ANY REPAIR, THEN TURN THE ON/OFF SWITCH OF THE INVERTER “ON” TO DISCHARGE THE CAPACITORS.
Q. Can I run laptop computers and other sensitive electrical appliances?
A. Yes. SCH’s pure sine wave output is suitable for medical equipment and sensitive electrical appliances. They allow you to watch television without static, operate computers and gaming consoles and run fluorescent lights.
7. SPECIFICATIONS
P/NO. | SCH300 | SCH600 | SCH1000 | SCH1500 | SCH2000 | SCH3000 |
| Input voltage | 12 / 24 VDC | 12 / 24 VDC | 12 / 24/ 48 VDC | 12 / 24/ 48 VDC | 12 / 24/ 48 VDC | 12 / 24/ 48 VDC |
| Input Current (MAX DC Amps) | 30A | 60A | 100A | 150A | 200A | 300A |
| No Load Current Draw | 500mA | 500mA | 700mA | 700mA | 900mA | 1100mA |
| Remote Standby Current Draw | 1mA | 1mA | 1mA | 1mA | 1mA | 1mA |
| Output Voltage | 100 / 110 / 120 VAC +/- 5%; 220 / 230 / 240 VAC +/- 3% | |||||
| Continuous Power (Watts) | 300W | 600W | 1000W | 1500W | 2000W | 3000W |
| Peak Power (Watts) | 600W | 1200W | 2000W | 3000W | 4000W | 6000W |
| Input DC range (Volt) | 10.5 ~ 15 VDC (×2 for 24 VDC; ×4 for 48 VDC) | |||||
| Output Waveform | Pure Sine Wave (THD < 3%) | |||||
| Efficiency | 86.5~93.5% | |||||
| Low Battery Voltage Alarm/ Shutdown | Alarm 10.5 VDC; Shutdown 10.0 VDC (±0.3 VDC) | |||||
| Cooling Fan | Automatic Temperature Controlled | |||||
| Thermal Shutdown | 65°C(±5°C) | |||||
| Replacement Fuse | Blade Fuses | |||||
| Fuse Size | 50A (2×25A) | 80A (4×20A) | 160A (4×40A) | 200A (4×50A) | 240A (4×60A) | 360A (4×90A) |
| Fuse Location | Internal | |||||
| Size (mm) | 120×97×85 | 120×97×85 | 170×265×96 | 170×350×96 | 242×463×118 | 242×463×118 |
| Weight (kg) | 1 | 1.5 | 2.9 | 3.2 | 4.3 | 5.5 |
8. WARRANTY
What does this warranty cover? This Limited Warranty is provided by Inverter and covers defects in workmanship and materials in your SCH300 / SCH600 / SCH1000 / SCH1500 / SCH2000 / SCH3000 . This warranty period lasts for 18 months from the date of purchase at the point of sale to you, the original end user customer. Proof of purchase is required to make warranty claims.
What will Inverter do? Inverter will, at its option, repair or replace the defective product free of charge, provided that you notify Inverter of the product defect within the Warranty Period, and provided that it, through inspection, establishes the existence of such a defect and that it is covered by this Limited Warranty. Inverter will, at its option, use new and / or reconditioned parts in performing warranty repair and building replacement products. Inverter reserves the right to use parts or products of original or improved design in the repair or replacement. If Inverter repairs or replaces a product, its warranty continues for the remaining portion of the original Warranty Period or 90 days from the date of the return shipment to the customer, whichever is greater.
How do you get service? If your product requires troubleshooting or warranty service, contact your dealer. If you are unable to contact your dealer, or the dealer is unable to provide service.
What does this warranty not cover? This Limited Warranty does not cover normal wear and tear of the product or costs related to the removal, installation, or troubleshooting of the customer’s electrical systems. This warranty does not apply to, and it will not be responsible for, any defect in or damage to:
- The product if it has been misused, neglected, improperly installed, physically damaged or altered, either internally or externally, or damaged from improper use or use in an unsuitable environment;
- The product if it has been subjected to fire, water, generalized corrosion, biological infestations, or input voltage that creates operating conditions beyond the maximum or minimum limits listed in the it product specifications including high input voltage from generators and lightning strikes;
- The product if repairs have been done to it other than by COSUPER or its authorized service centers (hereafter “ASCs”);
- The product if it is used as a component part of a product expressly warranted by another manufacturer;
- The product if its original identification (trade-mark, serial number) markings have been defaced, altered, or removed.
9. RMA Policy
Before returning a product directly to Inverter you must obtain a Return Material Authorization (RMA) number and the correct factory “Ship To” address. Products must also be shipped prepaid. Product shipments will be refused and returned at your expense if they are unauthorized, returned without an RMA number clearly marked on the outside of the shipping box, if they are shipped collect, or if they are shipped to the wrong location.
When you contact Inverter to obtain service, please have your instruction manual ready for reference and be prepared to supply:
- The serial number of your product
- Information about the installation and use of the unit
- Information about the failure and / or reason for the return
- A copy of your dated proof of purchase.
Return Procedure
- Package the unit safely, preferably using the original box and packing materials. Please ensure that your product is shipped fully insured in the original packaging or equivalent. This warranty will not apply where the product is damaged due to improper packaging.
- Include the following:
• The RMA number supplied by ACOPOWER clearly marked on the outside of the box.
• A return address where the unit can be shipped. Post Office Boxes are not acceptable.
• A contact telephone number where you can be reached during work hours.
• A brief description of the problem. - Ship the unit prepaid to the address provided by your Inverter customer service representative.
If you are returning a product, in addition to the above, you MUST include return freight funds and are fully responsible for all documents, duties, tariffs, and deposits.
![]()
Tel+1-(626) 838-5511
Email: [email protected]
Add: 4120 Valley Blvd, Walnut, CA 91789, USA

















