NJOY Keen Series UPS

safety instructions
- First carefully read the instruction manual in full prior to using the appliance and store the manual in a safe place for future reference.
- Only use this appliance for the purposes described in the instruction manual. The appliance is suitable for extracting air to the outside and for recirculation.
- Only connect the appliance to alternate current, to an earthed wall socket, with a mains voltage that corresponds with the information provided on the information plate of the appliance.
- The appliance is not intended to be installed by dependent people, small children and/or persons with a lack of experience and knowledge, unless they are properly supervised or have been instructed about the safe use of the appliance by a person who is responsible for their safety.
- This appliance can be used by children of 8 years and older and persons with a limited physical, sensory or mental capacity or lack of experience or knowledge, provided they use the appliance under supervision or have been instructed about its safe use and understand the hazards involved. Children should not use the appliance as a toy. Children should not clean or maintain the appliance unsupervised.
Mortal danger, hazard of poisoning by sucked back combustion gases!- Never use the appliance with air discharge at the same time as a cooker that uses the air in the room, if insufficient ventilation is provided. Cookers that use the air in the room (such as appliances that work on gas, oil, wood or coal, or other appliances such as geysers and hot water appliances) draw the combustion are from the installation room and discharge the gases via a drain (such as a chimney) to the outside. In combination with a switched on cooker hood, air is drawn out of the kitchen and the adjacent rooms – if there is an insufficient air supply, a vacuum is created. Toxic gases from the chimney or the discharge channel are sucked back into the living area. Therefore always ensure sufficient ventilation!
- The maximum allowed vacuum is 4 Pa.
- Local instructions regarding the discharge of air should be observed.
- The appliance is not intended to be operated by means of an external timer or a separate remote control system.
- In connection with electrical safety, the appliance should not be cleaned with high pressure cleaners of steam cleaners.
- Warning: Avoid the risk of electric shock. Ensure the appliance is switched off before replacing lighting or cleaning the appliance.
- Do not use the appliance if the fat filter is not mounted or not mounted properly.
- Do not lean against the appliance.
- Never use the appliance as a shelf, unless this is expressly indicated.
- Ensure sufficient ventilation when using the appliance together with a gas hob.
- The discharge may not be connected to a flue channel that is used for other appliances.
- Never flambé below the cooker hood and always clean the filters in time. Deep-frying should always take place under continuous supervision, in order to prevent the fat from catching fire.
- Clean the appliance regularly (at least once per month) both on the inside and outside. Insufficient cleaning or replacing the filter too late could pose a fire hazard.
- The fat filters can become hot during use. Therefore wait at least 30 minutes after cooking before you start cleaning.
- Caution! Due to intensive use, condensation could occur on the appliance. Condensation can be easily removed with a dry cloth.
- Fat and oil are combustible when overheated. Stay in the vicinity when preparing meals.
Fire hazard! If the instructions for cleaning or for replacing the fat filters and/or carbon filters are not observed, this will pose a risk of fire.
Fire hazard! due to fat depositions in the metal fat filter. Never work with open fire under the appliance (such as flambèing). Always use the appliance with the metal fat filter. Clean the metal fat filter regularly.
Fire hazard! due to overheating of fat or oil. Always maintain supervision when heating fat and oil. Never extinguish the fire with water; always use a fire blanket, lid or plate.- The appliance could have sharp edges; be careful during cleaning.
INSTALLATION
This appliance may only be fitted by a certified installer.- Always observe the installation instructions in the provided installation manual.
- Check the appliance for transport damage. Do not connect a damaged appliance.
- Defective parts may only be replaced by original parts. Only for those parts will the manufacturer be able to guarantee that they meet the safety requirements.
- Do not use the appliance if the plug, cord or appliance are damaged, or if the appliance no longer functions properly or if it is damaged in any other way. If this is the case, consult the retailer or our maintenance service. Never replace the plug or cord yourself.
- Always use the original cable and plug for connecting the appliance.
- The electrical connection must meet national and local regulations.
- The wall socket and plug should always be within reach.
- If you want to create a permanent connection, make sure an omni polar switch with a contact distance of at least 3 mm is installed in the supply line.
- The appliance may not be connected to the mains supply via a power strip or extension cord. If this is not observed, the safety of the appliance cannot be guaranteed.
Warning: repairs to electric appliances should only be performed by professional people. It is dangerous to perform a repair whereby the base unit of the appliance must be opened.- Make the appliance free from voltage before starting a repair.
- In connection with possible sharp edges, we recommend wearing work gloves when mounting the appliance.
- The distance between the lowest point of the appliance and a gas cooker should be at least 75 cm. In the case of an electric, ceramic or induction cooker, this distance should be at least 65 cm.
- If the manual of the cooker recommends a larger distance, this distance should be observed.
- If a larger distance is mentioned in the instructions for the gas cooker, this should be taken into account.
Warning: not making use of screws or fasteners for installation as described in the installation manual could lead to an electric shock.
If the safety instructions and warnings are not observed, the manufacturer cannot be held liable for the resulting damage.- This appliance is intended for household and similar use, such as:
- in staff kitchens, shops, offices and other work environments;
- farms;
- by guests in hotels, motels and other residential environments;
- B&B-type environments.
- Only use the appliance indoors.
- Always remove the plug from the socket when the appliance must be cleaned or repaired.
- If you decide to cease using the appliance due to a defect, we recommend cutting off the cord after removing the plug from the wall socket. Take the appliance to the waste processing department concerned of your municipality.
Electronic waste products should not be disposed of with household waste. For safe processing, take these appliances to the waste processing department concerned of your municipality.
product description
- Metal fat filters – 2 items
- Position switches
- Lighting (LED spots 2 x 3.0W)
- Switch for the lighting

using the appliance for the first time
Before using the appliance for the first time, proceed as follows: carefully unpack the cooker hood and remove all packaging material. Keep the packaging (plastic bags, polystyrene and cardboard) out of the reach of children. After unpacking the appliance, carefully check it for external damage that may have occurred during transport. Place the appliance on a sturdy, flat surface.
The installation and electrical connection must be performed by a qualified technician, in accordance with the installation instructions and local regulations.
How the appliance should be placed is described in the Installation Instruction – section 7.
The appliance must be connected to a properly installed earthed socket. The voltage (AC) should correspond with the voltage stated on the information plate.
DISCHARGE SYSTEM
This cooker hood is able to discharge cooking vapors in two ways: via a direct air discharge to the outside or with recirculation.
Select how you want to use the cooker hood and install it according to the instructions.
DISCHARGE TO THE OUTSIDE – connect to a discharge channel.
The sucked in and filtered cooking vapors are discharged to the outside. This is the recommended option.
RECIRCULATION – the fat particles and sucked in cooking vapors are filtered. The sucked in air is not discharged, but blown back into the kitchen. You must install carbon filters on the motor. A free outflow of the sucked in air is necessary.
Caution! The carbon filters are not a standard part of the delivery. You must order these accessories separately. Order the accessories at your dealer or via the Inventus parts webs hop.
operating the appliance
SWITCHING THE COOKER HOOD ON AND OFF
The cooker hood has three switches. The light switch to the left and two switches to the right for controlling the positions.
- In order to switch off the motor, both position switches should be in the 0 position.
- Press the lower switch to I and the motor will run at the lowest position.
- Press the lower switch to II and the motor will run at the middle position.
- Press the lower switch to III and the motor will run at the highest position.
When the motor is off, you can directly switch on the motor at the highest position by pressing the top switch to III. - Press switch to switch on the lighting.
Press the same switch to switch off the lighting.
If necessary, switch on the lighting for sufficient light on your cooking section.
Preferably switch on the motor of the cooker hood at the required position a few minutes before you start cooking. Allow the motor of the cooker hood to run for another 5 to 10 minutes when you have finished cooking, to remove all cooking smells from the kitchen. When using a plasma filter, an extended run time of at least 15 minutes is recommended.
cleaning and maintenance
Switch off the appliance before you start to clean it. Remove the plug from the wall socket or switch the group switch in the meter cabinet to zero.
Regularly clean the inside and outside of the cooker hood. Use warm soapy water with, for instance, washing-up liquid, all-purpose cleaner or stainless steel cleaner. In order to clean the switches or the vicinity of the switches, only use a damp cloth. Do not use aggressive abrasive cleaning agents or agents containing alcohol. In order to clean the switches or the vicinity of the switches, only use a damp cloth.
Attention: if the cooker hood is not cleaned in time, this could pose a fire hazard.
FAT FILTERS
A metal fat filter collects fat particles out of the air. As a result, depending on the use, the filter could block up after a period of time. The metal fat filter does not have to be replaced, but should be cleaned at least once per month. This can be done by hand or in the dishwasher at a low temperature. Make sure the fat filters are properly dry before they are placed back in the cooker hood.
Do not use aggressive cleaning agents.
If the cooker hood is not cleaned in time, this could pose a fire hazard.
Cleaning the fat filters in the dishwasher could result in discoloration. It does not have an effect on the operation.
REMOVING THE FAT FILTER
Check that the plug has been removed from the socket.
Pull the fat filter towards you and tilt it downwards to the side.
Hold a hand under the filter when removing it, to make sure that the filter does not fall on your hob when removing it.
REPLACING CARBON FILTERS
A carbon filter cleans the air and filters the smells that are created when cooking. Use a carbon filter if the cooker hood is not connected to a discharge channel. A carbon filter cannot be cleaned. That is why it should be replaced every four months, depending on your cooking habits.
- Remove the fat filters
- Attach two carbon filters to the motor. One on both sides.
- Place back the fat filters.

REPLACING THE LED LAMP
When a LED lamp in the cooker hood is defective, you are not able to replace it yourself. Observe these steps:
- Remove the plug from the socket or interrupt the power supply by switching off the fuse in the group box.
- Remove the metal fat filters and press the lamp holder downwards from the inside – figure 1.
- Turn the defective LED lamp clockwise out of the holder – figure 1. Replace the broken LED lamp by a similar type (3.0 W LED spot).
- Turn the broken LED lamp anti-clockwise into the holder – figure 2. The lamp will spring back in the correct position by itself. If this does not happen by itself, you can carefully bend the holder back, so that the LED lamp is in the correct position again.
- Place the metal fat filters back and insert the plug in the socket.

breakdown
What to do in case of problems with your cooker hood? Based on the solutions below, check whether you can resolve the problem yourself before contacting the Inventum customer service.
The motor no longer functions?
- Is the plug properly inserted in the socket?
- Is there a power failure?
- Is one of the fuses defective in the meter cupboard?
The cooker hood does not extract properly/makes more noise.
- Are the dimensions of the discharge in order?
- Is the discharge blocked?
- The discharge should be at least 150 mm. A small diameter could have a negative effect on the motor’s suction power.
- Are the fat filters clean?
- Have the carbon filters not been replaced by more than 6 months? Replace the carbon filters.
- Is there sufficient air supply to replace the discharged air?
installation instructions
Carefully read these installation instructions prior to starting the installation.
We recommend mounting the cooker hood with two persons.
- The cooker hood should be mounted directly above the cooking section. The minimum distance between the cooking section and the bottom side of the cooker hood should be:
- 65 cm for an electric, ceramic or induction hob
- 75 cm for a gas hob
- If you connect the cooker hood to an existing discharge channel, no other appliance may be connected to that channel (such as a geyser or a stove).
- The operation of the cooker hood depends on the length of the discharge pipe and the number of bends. Try to limit both.
- The connection for the discharge of the cooker hood has a diameter of 150 mm.
INSTALLATION OF THE COOKER HOOD
The installation of the cooker hood on a discharge to the outside and a cooker hood with recirculation is identical.
- Remove the fat filters.
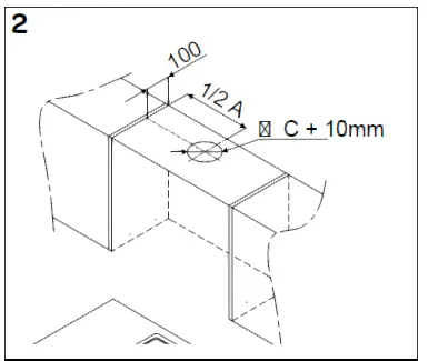
Place the cooker hood at the required position at a minimum height of 65 cm above the cooking section and mark the bottom side of the cooker hood on the wall/side wall. Determine the center of the cooker hood.
Determine the centre of the cooking section and mark this point at the height of the cooker hood. This is to be able to position the cooker hood centrally above the cooking section.- A = full width: 562 mm
- B = full height: 187 mm
- C = diameter discharge opening: Ø 150 mm.
- Determine the position of the air discharge tube. Limit the number of bends and unnecessary lengths in the discharge tube. As a result, the cooker hood will function better.
Saw out the holes for the discharge tube. The discharge opening (C) has a diameter of 150 mm. The hole for the discharge tube must be 10 mm larger than the discharge tube.
- Attach the discharge tube on the upper side of the discharge channel and allow it to hang down.

- See how you want to mount the cooker hood – 4a, 4b or 4c.



- The cooker hood can be attached via holes in the side of the base unit, by means of screws in the kitchen cabinet.
- The cooker hood can be attached via holes in the rear wall of the base unit, by means of screws through the kitchen
cabinet into the wall. - The cooker hood can be attached via holes in the top side of the base unit, by means of screws in the kitchen cabinet.
Remove the cooker hood and pre-drill the holes. Use a drill with a 8 mm diameter. Drill the hole approximately 45 mm deep.
- Place the cooker hood back in the kitchen cabinet. When the discharge channel is no longer within reach, you must connect the discharge tube to the cooker hood before you fully place the cooker hood in the kitchen cabinet. Now fasten the cooker hood to the kitchen cabinet using the supplied screws.

- Place the fat filters back.
Remove all protective film prior to using the cooker hood.
ELECTRICAL CONNECTION
Check that the voltage corresponds with what is stated on the information plate. Insert the plug into the socket. The cooker hood is equipped with a connection plug. Install the cooker hood in such a way that the plug is always within reach. Preferably place the wall socket out of sight, such as behind the discharge channel.
Caution: If you want to create a permanent connection, make sure an omni polar switch with a contact distance of at least 3 mm is installed in the supply line.
TECHNICAL SPECIFICATIONS
| INVENTUM | |
| Type number | AKV6004ZWA |
| Energy efficiency class [EEI cooker hood] | C |
| Lighting efficiency class | A |
| Grease filtering efficiency | D |
| Air flow rate (at min / max speed) [m3/h] | 155/335 |
| Noise level at min / max speed [dB] | 49/65 |
| Power consumption in the off-mode (Po) [W] | – |
| Power consumption in the standby-mode (Ps) [W] | – |
| Construction | |
| Color material | black |
| Number of motors | 1 |
| Lighting | 2 x 3W |
| Number of aluminum grease filters | 2 |
| Fitting carbon filter (not included) | KS61 |
| Fitting plasma filter (not included) | IPF800R |
| Dimensions | |
| Width [mm] | 600 |
| Discharge diameter [mm] | 150 |
| Technical data | |
| Electrical connected load [W] | 126 W |
| Mains voltage [V] / mains frequency [Hz] | 220-240V ~ 50Hz |
Note: On the information plate, on the inside of the appliance, you will also find the technical data of the cooker hood.
General terms and conditions of service and warranty
We do not need to remind you of the importance of service. After all, we develop our products to a standard so that you can enjoy them for many years, without any concerns. If, nevertheless, there is a problem, we believe you are entitled to a solution straight away. Hence our products come with an exchange service, on top of the rights and claims you are entitled to by law. By exchanging a product or part, we save you time, effort and costs.
2-year full manufacturer’s warranty
- Customers enjoy a 2-year full manufacturer’s warranty on all Inventus products. Within this period, a faulty product or part will always be exchanged for a new model, free of charge. In order to claim under the 2-year full manufacturer’s warranty, you can either return the product to the shop you bought it from or contact the Inventus costumer service department via the form at www.inventum.eu/service-aanvraag.
- The 2-year warranty period starts from the date the product is bought.
- In order to claim under the warranty, you must produce a copy of the original receipt.
- The warranty applies only to normal domestic use of Inventus products within the Netherlands.
5-year Inventus warranty
- Inventum offers a 5-year warranty on most large domestic appliances and a selection of small domestic appliances. This 5-year Inventum warranty consists of a 2-year full manufacturer’s warranty, extended by a further 3-year warranty. The only thing you need to do to qualify for the 3-year extended warranty is to register the product within 45 days of purchase. You can read more about registering the product in the following paragraph.
- In accordance with the 5-year Inventum warranty provisions, a faulty product or part will always be exchanged for a new model during the first 2 years under the warranty. During the 3rd to 5th year under the warranty, you will only pay the costs of exchange. The current costs of exchange are listed at www.inventum.eu/omruilkosten.
- In order to claim under the 5-year Inventum warranty, you can either return the product to the shop you bought it from or contact the Inventum costumer service department via the form at www.inventum.eu/service-aanvraag.
- The 5-year warranty period starts from the date the product is bought.
- In order to claim under the warranty, you must produce a copy of the original receipt.
- The warranty applies only to normal domestic use of Inventum products within the Netherlands.
Product registration
- The 3-year extended warranty is easy to obtain, free of charge, by registering the product within 45 days of purchase, via the website www.inventum.eu/garantie– registration. If you did not register the product within 45 days of purchase, you can still do so up to 2 years after the purchase date. However, there will be a charge. The one-off registration charge is € 89 for each separate product. Registration is possible only for products that are subject to the 5-year Inventus warranty. Whether the product qualifies for the 5-year Inventus warranty is stated in the product user manual and in the product information sheet, on Inventus’s website.
- The warranty period always starts from the date the product is bought. If the product is registered for the extended warranty at a later date, the warranty period still starts from the original date of purchase.
- The 3-year extended warranty can only be applied for if you are in the possession of a copy of the original receipt and the Inventus 5-year warranty certificate.
Large domestic appliances
- Breakdowns or faults in large domestic appliances (separate and built-in white goods) can be registered via the form at www.inventum.eu/service-aanvraag, by calling the Inventum costumer service department or in the store where you bought the device. The telephone number of the costumer service department can be found at www.inventum.eu.
- In the event of breakdowns or faults in large domestic appliances, Inventus will have the option to have a service engineer inspect the faulty device onsite at the customer in the Netherlands and to carry out repairs, there and then. The Inventus customer service department can also decide to have the device exchanged.
- If you suffer a breakdown or fault in a large domestic appliance during the first 2 years from the date of purchase, Inventus will not charge any costs for the exchange, call-out or for parts and labor.
- If you registered the product as described before at www.inventum.eu/garantie-registratie and you subsequently report a breakdown of a large domestic appliance in the 3rd to 5th year of the date of purchase, the 5-year Inventum warranty applies and the device will be repaired or exchanged, free of charge. In the event of a repair or exchange of the device, you only pay the costs of exchange. The current costs of exchange are listed at www.inventum.eu/omruilkosten. If you did not register the product, the 3-year extended warranty does not apply.
- When reporting a breakdown or fault, a service engineer will contact the customer within 1 working day in order to make an appointment. When the report is made in a weekend or during a public holiday, this will be the next working day.
- If you report a breakdown or fault via the form at www.inventum.eu/service-aanvraag, you will be kept informed of the progress via mobile messages and e-mail.
- The warranty period starts from the date the product is bought.
- In order to claim under the warranty, you must produce a copy of the original receipt and the Inventum 5-year warranty certificate.
- The warranty applies only to normal domestic use of Inventus products within the Netherlands.
Breakdowns or faults outside the warranty period
- Breakdowns or faults in small or large domestic appliances outside the warranty period, can be reported to the costumer services department via the form at www.inventum.eu/service-aanvraag or by calling the costumer services department.
- The costumer services department may ask you to send the product for inspection or repair. The costs of dispatch will be at your expense.
- The inspection to establish whether repair is possible involves a charge. You need to grant your permission for this, in advance.
- In the event of a large domestic appliance, Inventum, at your request, can send out a service engineer. In that case, you will be charged the call-out costs, as well as parts and labour.
- In the event of an instruction to repair, the repair costs must be paid in advance. In the event of a repair by a service engineer, the costs of the repair must be settled with the engineer onsite, preferably by means of PIN payment.
Warranty exclusions
- The following is excluded from the aforesaid warranties:
- normal wear and tear;
- improper use or misuse;
- insufficient maintenance;
- failure to comply with the operating and maintenance instructions;
- unprofessional installation or repairs by third parties or the customer himself;
- non-original parts used by the customer;
- use for commercial or business purposes;
- removal of the serial number and/or rating label.
- In addition, the warranty does not apply to normal consumer goods, such as:
- dough hooks, baking tins, (carbon) filters, etc.;
- batteries, bulbs, carbon filters, grease filters etc.;
- external connection cables;
- glass accessories and glass parts such as oven doors;
- and similar items.
- Transport damage not caused by Inventus is also excluded. Therefore, inspect your new device before starting to use it. If you detect any damage, you must report this to the store where you purchased the product within 5 working days, or to the Inventus customer service department via the form at www.inventum.eu/service-aanvraag. If transport damage is not reported within this period, Inventus does not accept any liability in this respect.
- The following are excluded from warranty and/or replacement: faults, loss of and damage to the device as a result of an event that is normally insured under the home contents insurance.
Important to know
- The replacement or repair of a faulty product, or a part thereof, does not lead to an extension of the original warranty period.
- Parts that have been replaced, packaging material and exchanged devices are taken back by the service engineer and become the property of Inventus.
- If a complaint is unfounded, all costs arising from it will be at the customer’s expense.
- Following expiry of the warranty period, all costs of repair or replacement, including administration costs, dispatch and call-out charges, will be charged to the customer.
- Inventus cannot be held liable for damage as a result of devices built in incorrectly.
- Inventus cannot be held liable for damage caused by external events, unless this liability arises from mandatory statutory provisions.
- These warranty and service provisions are governed by Dutch law. Disputes will be settled exclusively by the competent Dutch court.



Place the cooker hood at the required position at a minimum height of 65 cm above the cooking section and mark the bottom side of the cooker hood on the wall/side wall. Determine the center of the cooker hood.





Remove all protective film prior to using the cooker hood.
















