User’s Manual
OL1000RTXL2U
OL1000RTXL2UN
OL1500RTXL2U
OL1500RTXL2UN
OL2200RTXL2U
OL2200RTXL2UN
OL3000RTXL2U
OL3000RTXL2UN
OL3000RTXL2UHVN
Cyber Power Systems (USA), Inc.
4241 12th Avenue East Suite 400 Shakopee, MN 55379
Phone: 877-297-6937
Fax: 952-403-0009
www.cyberpowersystems.com
IMPORTANT SAFETY INSTRUCTIONS
This manual contains important instructions. Please read and follow all instructions carefully during the installation and operation of the unit. Read this manual
thoroughly before attempting to unpack, install, or operate the UPS.
CAUTION! The UPS must be connected to a grounded AC power outlet with a fuse or circuit breaker protection. DO NOT plug the UPS into an outlet that is not grounded. If you need to power-drain this equipment, turn it off and unplug the unit.
CAUTION! The battery can power hazardous components inside the unit, even when the AC input power is disconnected.
CAUTION! The UPS should be placed near the connected equipment and easily accessible.
CAUTION! To prevent the risk of fire or electric shock, install in a temperature and humidity-controlled indoor area, free of conductive contaminants. (Please see specifications for the acceptable temperature and humidity range).
CAUTION! (No User Serviceable Parts): Risk of electric shock, do not remove the cover. No user-serviceable parts inside. Refer servicing to qualified service personnel.
CAUTION! (Non-Isolated Battery Supply): Risk of electric shock, battery circuit is not isolated from AC power source; hazardous voltage may exist between battery terminals and ground. Test before touching.
CAUTION! To reduce the risk of fire, connect the UPS to a branch circuit with 12 amperes (OL1000) / 15 amperes (OL1500) / 20 amperes (OL2200) / 30 amperes (OL3000RTXL2U) / 16 amperes (OL3000RTXL2UHV) maximum over-current protection in accordance with the National Electric Code, NSI/NFPA 70.
CAUTION! The AC outlet where the UPS is connected should be close to the unit and easily accessible.
CAUTION! Please use only UL-marked mains cable, (e.g. the mains cable of your equipment), to connect the UPS to the AC outlet.
CAUTION! Please use only UL-marked power cables to connect any equipment to the UPS.
CAUTION! When installing the equipment, ensure that the sum of the leakage current of the UPS and the connected equipment does not exceed 3.5mA. CAUTION! The OL1000 / OL1500 / OL2200 / OL3000 models may only be installed by qualified maintenance personnel..
CAUTION! Do not unplug the unit from AC Power during operation, as this will invalidate the protective ground insulation.
CAUTION! To avoid electric shock, turn off and unplug the unit before installing the input/output power cord with a ground wire. Connect the ground wire prior to connecting the line wires!
CAUTION! Do not use an improper size power cord as it may cause damage to your equipment and cause fire hazards.
CAUTION! Wiring must be done by qualified personnel.
CAUTION! DO NOT USE IT FOR MEDICAL OR LIFE SUPPORT EQUIPMENT! Under no circumstances this unit should be used for medical applications involving life support equipment and/or patient care.
CAUTION! DO NOT USE WITH OR NEAR AQUARIUMS! To reduce the risk of fire, do not use with or near aquariums. Condensation from the aquarium can come in contact with metal electrical contacts and cause the machine to short out.
CAUTION! Do not dispose of batteries in a fire as the battery may explode.
CAUTION! Do not open or mutilate the battery, released electrolyte is harmful to the skin and eyes.
CAUTION! A battery can present a risk of electric shock and a high short circuit current. The following precaution should be observed when working on batteries 1. Remove watches, rings or other metal objects.
2. Use tools with insulated handles.
CAUTION! The unit has a dangerous amount of voltage. When the UPS indicators is on, the units may continue to supply power thus the unit’s outlets may have a dangerous amount of voltage even when it’s not plugged into the wall outlet.
CAUTION! Make sure everything is turned off and disconnected completely before conducting any maintenance, repairs or shipment.
CAUTION! Connect the Protection Earth (PE) safety conductor before any other cables are connected.
WARNING! (Fuses): To reduce the risk of fire, replace only with the same type and rating of the fuse.
DO NOT INSTALL THE UPS WHERE IT WOULD BE EXPOSED TO DIRECT SUNLIGHT OR NEAR A STRONG HEAT SOURCE! DO NOT BLOCK OFF VENTILATION OPENINGS AROUND THE HOUSING! DO NOT CONNECT DOMESTIC APPLIANCES SUCH AS HAIR DRYERS TO UPS OUTPUT SOCKETS! SERVICING OF BATTERIES SHOULD BE PERFORMED OR SUPERVISED BY PERSONNEL KNOWLEDGE OF BATTERIES AND THE REQUIRED PRECAUTIONS. KEEP UNAUTHORIZED PERSONNEL AWAY FROM BATTERIES!
UNPACKING




* PowerPanel® Business Edition software is available on our website. Please visit www.cyberpowersystems.com and go to the Software section for FREE download. HARDWARE INSTALLATION
HARDWARE INSTALLATION
These versatile UPS systems can be mounted in a rackmount or vertical tower orientation. This versatility is especially important to growing organizations with changing needs that value having the option to position a UPS on a floor or in a rackmount system. Please follow the instructions below for the respective mounting methods.
SAFETY PRECAUTIONS
CAUTION! To prevent the risk of fire or electric shock, only use the supplied hardware to attach the mounting brackets.
RACKMOUNT INSTALLATION FOR 4-POST RACK
Step 1: Remove the dust covers
Remove the dust covers *7pcs from the screw holes.
Step 2: Rackmount ears & hanging brackets installation
Attach two rackmount ears to the UPS using eight black M5X7Lscrews. Attach the included hanging brackets using six silver M5X6Lscrews as shown below.
Step 3: Rackmount rail Installation
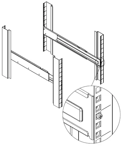
The mounting depth of the included rackmount rails can adjust from 20.5 inches to 36 inches (52 cm to 91.5 cm). Select the proper holes in the rack for positioning the UPS in the rack. The UPS takes up 2 rack units: rack hole positions 1 through 6.
Position the guide screw on the back of the rackmount rails into the rear rack square holes to temporarily support the rails in place.
Step 4: Adjust rackmount rails to fit your rack
Adjust the rail depth to match your rack depth. Attach each rackmount rail to your rack with two black M5X12L screws and two plastic washers at the front of the rack (square holes 1 and 4 as shown below). Secure the rail to the rear of the rack with two black M5X12L screws and two plastic washers.
Step 5: Place and secure the UPS on the rails
Slide the hanging brackets on the UPS onto the rails mounted in the rack with the front of the unit facing toward you. Secure the UPS to your rack with four black M5X12L screws at the front of the rack (square holes 2 and 5 as shown below).
How to slide the UPS out from the rack
The UPS will be secured by a safety locking mechanism midway of pulling it out of the rack. Use both hands to hold the UPS and press the safety locking tab to all the UPS out.


RACKMOUNT INSTALLATION FOR 2-POST RACK
CAUTION! Due to the weight of this unit, it is strongly recommended to install it at the bottom of the rack.
CAUTION! Prior to installing the unit, remove internal batteries to reduce the weight of the unit. Refer to the battery replacement section in this user manual for instructions.
CAUTION! It is strongly recommended to have 2-3 people assist during the installation process.
CAUTION! It is strongly recommended that the 2 post rack be bolted to the floor prior to the installation of the UPS.

Step 1: Remove side dust covers
Remove seven dust covers from screw holes as shown below.

Step 2: Rackmount ears installation
Attach the included rackmount ears to the center holes on the sides of the UPS using eight black M5X7L screws as shown below.
Step 3: Secure the UPS to the rack
Secure the UPS to your rack with four black M5X12L screws at the front of the rack (square holes 2 and 5 as shown below)
VERTICAL/TOWER INSTALLATION
Step 1: Adhere the rubber feet on the bottom side of base stands
Adhere the protective rubber pads to the left hand side of the UPS and to the rackmount ears as shown below. The rackmount ears will be used as tower stands.
Step 2: Attach the base stands and attach the dust covers
Stand the UPS system on its side and attach the tower stands using four black M5X12 screws onto the bottom of the UPS as shown below. Insert five dust covers into the open screw holes on top.
Step 3: Rotate the Multifunction LCD Module
Unscrew the upper panel of the UPS. Separate the upper panel from the UPS. Gently lift the LCD module out. Rotate it to the tower orientation. Reinstall it for a tower configuration.
ELECTRICAL INSTALLATION
After completing the hardware installation of the UPS, you are now ready to plug in the UPS and connect your equipment.
SAFETY PRECAUTIONS
CAUTION! The installation environment should be in a temperature and humidity-controlled indoor area free of conductive contaminants. Do not install this UPS where excessive moisture or heat is present (Please see specifications for the acceptable temperature and humidity range).
CAUTION! Never install a UPS, or associated wiring or equipment, during a lightning storm.
CAUTION! Do not work alone under hazardous conditions.
CAUTION! In case of the risk of electric shock, do not remove the top cover.
CAUTION! The battery can energize hazardous live parts inside even when the AC input power is disconnected.
INSTALLING YOUR UPS SYSTEM
SYSTEM BLOCK DIAGRAM

HARDWARE INSTALLATION GUIDE
- Battery charge loss may occur during shipping and storage. Before using the UPS, it’s strongly recommended to charge batteries for four hours to ensure the batteries’ maximum charge capacity. To recharge the batteries, simply plug the UPS into an AC outlet.
- When using the included software, connect either the serial or the USB cable between the computer and the corresponding port on the UPS. Note: If the USB port is used, the serial port will be disabled. They cannot be used simultaneously. After connecting to either the USB port or the Serial port on the UPS, a computer with the PowerPanel ®Business Edition Agent software installed can control the operating schedule, battery test, outlets, as well as obtain UPS status information. However, other computers with PowerPanel ® Business Edition Client software can only obtain UPS status information via LAN connection.
- Connect your computer, monitor, and any externally-powered data storage device (Hard drive, Tape drive, etc.) into the outlets only when the UPS is off and unplugged. DO NOT plug a laser printer, copier, space heater, vacuum, paper shredder or another large electrical device into the UPS. The power demands of these devices will overload and possibly damage the unit.
- To protect a fax machine, telephone, modem line, or network cable, connect the telephone or network cable from the wall jack outlet to the jack marked “IN” on the UPS and connect a telephone cable or network cable from the jack marked “OUT” on the UPS to the modem, computer, telephone, fax machine, or network device.
- Press the ON/OFF switch to turn the UPS on. The Power-On indicator light will display when activated. If an overload is detected, an audible alarm will sound and the UPS will continuously emit two beeps per second. For resetting the unit, unplug some equipment from the outlets. Make sure your equipment carries a load current within the unit’s safe range, (refer to the technical specifications).
- This UPS is equipped with an auto-charge feature. When the UPS is plugged into an AC outlet, the battery will automatically charge, even when the unit is switched off.
- To maintain an optimal battery charge, leave the UPS plugged into an AC outlet at all times.
- Before storing the UPS for an extended period of time, turn the unit OFF. Then cover it and store it with the batteries fully charged. Recharge the batteries every three months to ensure good battery capacity and long battery life. Maintaining a good battery charger will help prevent possible damage to the unit from battery leakage.
- The UPS has one USB port (default) and one Serial port that allows connection and communication between the UPS and any attached computer running the PowerPanel ® Business Edition Agent software. The UPS can control the computer’s shutdown during a power outage through the connection while the computer can monitor the UPS and alter various programmable parameters. Note: Only one communication port can be used at a time. The port not in use will automatically become disabled or the serial port will be disabled if both ports are attached.
- EPO (Emergency Power Off) Port: EPO ports allow administrators the capability to connect the UPS unit to customer-supplied EPO switches. These installations give operators a single access point to immediately power off all equipment connected to the UPS during an emergency.
- To avoid electric shock, turn the unit OFF and disconnect the unit from utility power before hardwiring the UPS (in/out the power cord). The in/out power cord MUST be grounded.
- Please note the internal UPS temperature will increase when fans are not in operation or ventilation is obstructed. When the high-temperature sensor activates protection, the UPS generates an alarm and shuts down to avoid unexpected equipment damage. When the over-temperature occurs, please check the Trouble Shooting section on the page.
- If the condition persists, please contact CyberPower for technical support.
BASIC OPERATION
POWER MODULE FRONT/REAR PANEL DESCRIPTION


- Power Button / Power on Indicator Master ON/OFF for the UPS. This indicates that the UPS is on and supplying power.
- UPS Status / Fault / Replace Battery LED Indicator Indicates the status of the UPS, displaying whether it is operating in Line, Battery or Bypass Mode, if it has an internal fault or if the battery needs to be replaced.
- Multifunction LCD Readout Shows UPS status, information, settings, and events.
- Function Buttons Scroll up, scroll down, Enter, and Escape.
- Input Circuit Breaker Provides input overload and fault protection.
- Battery Backup & Surge Protected Outlets Provides battery backup and surge protection. They ensure power is provided to connected equipment over a period of time during a power failure. Critical / Noncritical Load Allows the creation of load priorities to ensure that battery power reserves are transferred to specified outlets during a power outage. The unit can be programmed to provide additional runtime for equipment connected to the “CRITICAL” outlets while stopping the power supply to equipment connected to “NONCRITICAL” outlets after a designated period of time.
- Serial Port provides communication between the UPS and the computer. The UPS can control the computer’s shutdown during a power outage through the connection while the computer can monitor the UPS and alter its various programmable parameters.
- USB port This is a connectivity port that allows communication and control between the UPS and the connected computer. It is recommended to install the PowerPanel® Business Edition Agent software on the computer connected with the USB cable.
- Surge Protected Communication Ports RJ-45/RJ-11 These ports are used to protect standard RJ-45/RJ-11 based products (ADSL, LAN, Phone/ Modem- Lines) and cabling systems from surges.
- Relay Output Connector Convert UPS signals into real potential-free Dry Contacts for industrial control.
- Expansion slot Slot to install optional remote management card. Remote Management Card is pre-installed in select models.
- Extended Runtime Battery Module Connector Connection for additional CyberPower External Battery modules.
- EPO (Emergency Power Off) Connector Enables an emergency UPS Power-Off from a remote location.
OPERATION INSTRUCTIONS FOR LCD MODULE

LED INDICATORS – UPS STATUS
| LED Indicators | Color | UPS Status Description |
| ON/OFF | White | UPS power is on. |
| ONLINE | Green | UPS is operating in Line Mode. |
| BATTERY ON | Yellow | UPS is operating in Battery Mode. |
| BYPASS | Yellow | UPS is operating in Bypass Mode, Manual Bypass or ECO (Economy) Mode. |
| FAULT | Red | UPS has an internal fault. See “Trouble Shooting” for additional information. |
| REPLACE BATTERY | Red | Battery will soon need to be replaced due to insufficient runtime. |
LCD SCREEN – UPS STATUS
| LCD Screen | UPS Status Description |
| Line Mode | UPS is operating in Line Mode. |
| Battery Mode | UPS is operating in Battery Mode. |
| Bypass Mode | UPS is operating in Bypass Mode. |
| Manual Bypass | UPS is operating in Manual Bypass. |
| ECO Mode | UPS is operating in ECO (Economy) Mode. |
| Button | Operation Description |
| ON/OF | Press this button to turn on or turn off UPS. |
| ▲ | Press this button to scroll up in the LCD menu. |
| ▼ | Press this button to scroll down in the LCD menu. |
| ENTER | Press this button to select an option. |
| ESC | Press this button to cancel or return to the previous LCD menu. |
LCD SETUP FUNCTIONS
Press “Enter” button to activate “MAIN MENU”.
| MAIN MENU submenu | Function Description |
| Information | Displays the UPS information. |
| Configure | Displays the UPS settings that can be configured by the user. |
| Event Log | Displays the 5 most recent events, by event count, time (day/hour/minute), and event description. |
LCD INFORMATION READOUT
There are 24 types of UPS information available for display.
1. Press the “ENTER” button to activate the “MAIN MENU”.
2. Press the “▲” and “▼” buttons to scroll to the “Information” option.
3. Press the “ENTER” button to select the “Information” submenu.
4. Press the “▲” and “▼” buttons to scroll through the “Information” submenu in the following table.
5. Press the “ESC” button to return to UPS Status.
| Information Submenu | Description |
| O/P Volt = XXX.XV | Displays the Output Voltage |
| O/P Freq = XX.XHz | Displays the Output Frequency |
| I/P Volt = XXX.XV | Displays the Input Voltage |
| I/P Freq = XX.XHz | Displays the Input Frequency |
| O/P Load = XXX% | Displays the Output Load as a Percentage of Maximum load |
| O/P Amp = X.XA | Displays the Output Current |
| O/P Watt =XXXXXW | Displays the Output Wattage |
| O/P VA =XXXXXVA | Displays the Output VA |
| Load Energy = XXXX.XKWh | Display UPS Load Energy Consumption |
| BAT Volt = XXX.XV | Displays the Battery Voltage |
| BAT Cap = XXX% | Displays the Estimated Percentage of Battery Capacity |
| BAT Runtime =XXXM | Displays the Estimated Battery Runtime in Minutes |
| EBM Number = X | Displays the External Battery Module Number |
| TEMP =XX°C / XXX°F | Displays the Approximate inside Temperature in both ℃(Celsius) and ℉(Fahrenheit) for the UPS |
| SBM = XXXXX XH(M) | Displays the stage of Smart Battery Management with Operation Time |
| Rating = XXK VA | Displays the UPS Rating |
| MCU Ver = XXXX | Displays the MCU Firmware Version |
| Model Name | Displays the UPS Model Name |
| – – – – / – – / – – – -:- – | Displays the present Date & Time |
| Next BATT Change= XXX / XXXX | Displays the next Battery Change Date & Time |
| IP XXXXXX XXX.XXX.XXX.XXX | Display the network IP address |
| Subnet Mask = XXX.XXX.XXX.XXX | Display the network Subnet Mask |
| Gateway = XXX.XXX.XXX.XXX | Display the network Gateway |
| MAC XX-XX-XX-XX-XX-XX | Display the network card MAC address |
LCD SETUP FUNCTIONS
LCD EVENT LOG
5 Event Logs of UPS can be recorded.
1. Press the “ENTER” button to activate the “MAIN MENU”.
2. Press the “▲” and “▼” buttons to scroll to the “Event Log” option.
3. Press the “ENTER” button to select the “Event Log” submenu.
4. Press the “▲” and “▼” buttons to scroll through the “Event Log” submenu in the following table.
5. Press the “ESC” button to return to UPS Status.
| Event Log Submenu | Description |
| (X) | XXDXXHXXM (without PowerPanel® Business or RMCARD) |
| – – / – – – -:- – (with PowerPanel® Business or RMCARD) |
MULTI-LANGUAGE INTERFACE
Users can configure 1 of the 4 available languages for display.
([English], [Español-Spanish], [Français-French], [Deutsch-German])
- Press the “ENTER” button to activate the “MAIN MENU”.
- Press the “▲” and “▼” buttons to scroll to the “Configure” option.
- Press the “ENTER” button to select the “Configure” submenu.
- Press the “▲” and “▼” buttons to scroll through the “Language” options.
- Press the “ENTER” button to select the “Language” submenu.
- Press the “▲” and “▼” buttons to scroll to the language that you want to select. You may be prompted to save the selection, if so press the “ENTER” button to save the setting.
- Press the “ESC” button to cancel or return to the previous LCD menu.
LCD SETTINGS CONFIGURATION
There are 28 UPS settings that can be configured by the user.
- Press the “ENTER” button to activate the “MAIN MENU”.
- Press the “▲” and “▼” buttons to scroll to the “Configure” option.
- Press the “ENTER” button to select the “Configure” submenu.
- Press the “▲” and “▼” buttons to scroll to the “Configure” submenu in the following table.
- Press the “ENTER” button to select the setting you want to configure.
The first configuration parameter will be displayed on the second column of LCD screen. - Press the “▲” and “▼” buttons to scroll through the different parameters.
- Press the “ENTER” button to select the parameter you want to change.
You may be prompted to save the selection, if so press the “ENTER” button to save the setting. Some options are saved and started automatically. (See the following table for additional details.) - Press the “ESC” button to cancel or return to the previous LCD menu.
LCD SETUP FUNCTIONS
| Configure Submenu | Available Settings | Default Setting |
| Output Voltage | = [100V] [110V] [115V] [120V] [125V] = [200V] [208V] [220V] [230V] [240V] | 120V 208V |
| Sync Freq Window | Range= [+/- 1%] [+/- 2%] [+/- 3%] [+/- 4%] [+/- 5%] [+/- 6%] [+/- 7%] [+/- 8%] [+/- 9%] [+/-10%] | +/- 5% |
| Bypass V Window | Range= [+10%/-10%] [+10%/-15%] [+10%/-20%] [+15%/-10%] [+15%/-15%] [+15%/-20%] | +10%/-15% |
| Bypass Condition | [Check Freq/Volt] [Check Volt Only] [No Bypass] | Check Freq/Volt |
| ECO Mode | [Disable] [Enable] | Disable |
| [V Range= +/-15%] [V Range= +/-10%] (for [Enable]) | V Range= +/-10% | |
| Manual Bypass | [Disable] [Enable] | Disable |
| UPS Diagnostic | [Battery Test] [Alarm Test] [Indicator Test] [Fan Test] | [Battery Test] |
| [Activate?] | None | |
| Audible Alarms | [Disable] [Enable] | Enable |
| EBM Number | = [0] [1] [2] [3] [4] [5] [6] [7] [8] [9] [10] | 0 |
| Wiring Fault: Not applicable on OL3000RTXL2UHV model | [Disable] [Enable] | Disable |
| NCL Control | [Outlet On] [Outlet Off] | Outlet On |
| Language | [English] [Español-Spanish] [Français-French] [Deutsch-German] | English |
| Generator Mode3 | [Disable] [Enable] | Disable |
| Communication | [Disable] [Enable] | Enable |
| Dry Relay Set | [I/P Power Fail] [Battery Low] [Summary Alarm] [UPS On Bypass] [UPS Fail] | I/P Power Fail |
| Converter Mode4 | [Converter Off] [O/P Freq = 50Hz] [O/P Freq = 60Hz] | Converter OFF |
| Screen Saver | [Disable] [1 Minutes] [5 Minutes] | 5 minutes |
| Clear Event Log | [Activate?] | None |
| Button OFF LOCK | [Disable] [Enable] | Disable |
| Charger Function | [SBM] [Constant] | SBM |
| Signal Inputs | [Disable] [EPO] [ROO] | Disable |
| Charger Check | [Disable] [Enable] | Disable |
| Reset ReplaceBAT | [Activate?] | None |
| IP Address | [Mode:DHCP] [Mode:Manual] | Mode:DHCP |
| [IP Address] [Subnet Mask] [Gateway] (for [Mode:Manual]) | None | |
| Reset LoadEnergy | [Activate?] | None |
| LowBat Capacity5 | Threshold= [20%][25%] [30%][35%]……[55%][60%][65%] | 20% |
| LowBat Runtime 5 | Threshold= [0min][1min][2min][3min]..….[29min][30min] | 5min |
| Period Battery Test | ][1 Weeks][2 Weeks] [3 Weeks] [4 Weeks] | Disable |
- For OL1500/2200/3000RTXL2U, 100V is derated by 20%, 110/115V is derated by 10% Output voltage default setting varies by country.
- This function can’t be set when Manual Bypass, Generator Mode or Converter Mode is enabled.
- UPS has no bypass when Generator Mode is enabled.
- UPS has no bypass when Converter Mode is enabled. This function can only be set before the UPS is on.
- The Low Battery threshold setting will only affect the warning of Power Management Software(PowerPanel® Business) and the RMCARD interface.
- If the function is disabled, the Smart Battery Management (SBM) carries out battery tests when certain operating conditions are met.
SILENCING AUDIBLE ALARMS
- Press any of four function buttons on the LCD module; Note: the alarm cannot be turned off for a “Battery Low” condition. This condition will still result in an audible alarm.
- Change the ‘Audible Alarms’ option to ‘Disable’ in the LCD screen and it will no longer give an audible alarm for any malfunction.
MANUAL BATTERY TEST
Select ‘Activate’ in the ‘Battery Test’ portion of the LCD screen and the unit will perform a manual battery test.
GRAPHICAL LOAD/BATTERY CAPACITY DISPLAY
- Press the “ESC” button to return to UPS Status.
- Press the “▲” and “▼” buttons to scroll to the “LOAD“ and “BAT“ Capacity.
- Press the “▲” and “▼” buttons to scroll to the “Charging” or “Discharging” Capacity.

LCD MODULE REMOTE CONTROL and WALL-MOUNTING INSTRUCTIONS
REMOTE CONTROL
Step 1: Remove the Multifunction LCD Control Panel
Unscrew the right panel of the UPS. Separate the right panel from the
UPS. Gently lift the LCD module out. Reinstall the right panel.
Step 2: Connect the DB26 Cable
Connect a DB26 cable (not included) from LCD control panel to the
“Remote Control Port” on the front panel as shown below
WALL-MOUNTING INSTRUCTIONS
Step 1: Remove the Multifunction LCD Control Panel Unscrew the right panel of the UPS. Separate the right panel from the UPS. Gently lift the LCD Control Panel out. Reinstall the right panel.
Step 2: Rotate the DB26 Connector of LCD Control Panel
Step 3: Connect the DB26 Cable
Connect a DB26 cable (not included) from LCD Control Panel to the “Remote Control Port” on the front panel as shown in the following figure.
Step 4: Mount LCD Control Panel on the Wall

SAFETY PRECAUTIONS
CAUTION! It must be done by qualified personnel.
CAUTION! To avoid electric shock, turn off and unplug the unit before installing REMOTE CONTROL or WALL-MOUNTING INSTRUCTIONS.
MAINTENANCE
Storage
To store your UPS for an extended period, cover it and store it with the battery fully charged. Recharge the battery every three months to ensure battery life.
Battery Replacement
Please read and follow the Safety Instructions before servicing the battery. Battery replacement should be performed by trained personnel who are familiar with the procedures and safety precautions. Make a note of the replacement Battery tray number.
Safety Precautions
CAUTION! Only use replacement batteries that are certified by Cyber Power Systems. Use of incorrect battery type is an electrical hazard that could lead to an explosion, fire, electric shock, or short circuit.
CAUTION! Batteries contain an electrical charge that can cause severe burns. Before servicing batteries, please remove any conductive materials such as jewelry, chains, wristwatches, and rings.
CAUTION! Do not open or mutilate the batteries. Electrolyte fluid is harmful to the skin/eyes and may be toxic.
CAUTION! To avoid electric shock, turn off and unplug the UPS from the wall receptacle before servicing the battery.
CAUTION! Only use tools with insulated handles. Do not lay tools or metal parts on top of the UPS or battery terminals.
Replacement Batteries
Please refer to the front side of the UPS for the model number of the correct replacement batteries. For battery procurement, log onto
www.cyberpowersystems.com, or contact your local dealer.
Battery Disposal
Batteries are considered hazardous waste and must be disposed of properly. Contact your local government for more information about proper disposal and recycling of batteries. Do not dispose of batteries in fire. Cyber Power Systems encourages environmentally sound methods for disposal and recycling of its UPS products. Please dispose and/or recycle your UPS and batteries in accordance with local regulations.
Battery Replacement
Step 1: Remove the front panels
Step 2: Remove the retaining screws from the cable protection cover and then remove the cover itself
Step 3: Pull the battery tray out slowly and then put the new battery tray back into the compartment
Step 4: Fasten back the connectors on the battery retaining cover. Then insert the battery connectors and tighten the screws of battery retaining cover
Step 5: Install the front panels. Execute a battery test via the LCD control panel, go to the Configuration Menu, then scroll to the UPS Diagnostic then select battery test and Activate, then scroll to ResetReplaceBAT to reset the battery replacement date. This operation can also be done via PowerPanel® Business Edition Agent or RMCARD web interface. Please see their respective User Manuals for detailed instructions.
TECHNICAL SPECIFICATIONS
| Model at NORMA, I OLIPOORTICLEU I OL2200RTELEU I OL3000RTELEU I 01.3000RTEL2t) HP | |||||||||||||||||||
| Configuration | |||||||||||||||||||
| Capacity IVA) | 1000VA | I 1500VA | I 2200VA | I 3000VA | I 3000VA | ||||||||||||||
| Capacity (Warts) | 900N | 1350N | 1800W | 2700N | 2700W | ||||||||||||||
| Form Factor | Rackmount / Toner | ||||||||||||||||||
| Energy-saving Technology | Yes, ECO Mode Efficiency | ||||||||||||||||||
| ≧ 94% | ≧ 95% | ≧ 97% | |||||||||||||||||
| Input | |||||||||||||||||||
| Input Power Plug | NEMA 5-15P | NEMA 5-20P | NEMA L5-30P | NEMA L6-20P | |||||||||||||||
| Input Voltage Range | 100-125Vac | 200-240Vac | |||||||||||||||||
| Input Frequency Range | 50 / 60Hz | ||||||||||||||||||
| Input Power Factor | 0.99 | ||||||||||||||||||
| Cold Start | Yes | ||||||||||||||||||
| Output | |||||||||||||||||||
| Output Waveform | Sine wave | ||||||||||||||||||
| Output Voltage (Configurable) | 100, 110, 115, 120, 125Vac ±2961 | I 200, 208, 220, I 230. 240Vac t.2% | |||||||||||||||||
| Output Frequency | 50 / 60th (Auto-Sensing or Configurable)10.25Hz | ||||||||||||||||||
| Transfer Time (Typical) | Oms | ||||||||||||||||||
| Rated Power Factor | 0.9 | 0.9 | 0.82 | 0.9 | 0.9 | ||||||||||||||
| Harmonic Distortion | THEO < 3% at Linear Load. < 5% at Nonlinear Load | ||||||||||||||||||
| Crest Factor | 3:01 | ||||||||||||||||||
| ECO Wars Bypass Velar Rage | ±10%, ±15% (Configurable) | ||||||||||||||||||
| UPS Outlets | (8) NEMA 5-15R | (6) NEMA 5-20R,(1) L5-20R
| (6) NEMA 5-20R, (1) L5-30R | (2) NEMA L6-20R, (1) NEMA L6-30R | (2) NEMA L6-20R, (1) NEMA L6-30R 30R | ||||||||||||||
| Protection | |||||||||||||||||||
| Surge Protection | IEC 61000-4-5 Level 3 | ||||||||||||||||||
| 1780 Joules | 1335 Joules | ||||||||||||||||||
| Poona i went surge Pressman | RJ11/R145 (One In/One Out) | ||||||||||||||||||
| Overload Protection | Line Mode : 105-125% Load for 1 min. 126-150% Load for 10 sec Battery Mode : 105-130% Load for 10 sec. 131-150% Load for 2 sec | ||||||||||||||||||
| Shod Cloud Protection | UPS Output Cut off Immediately or Input Fuse! Circuit Breaker Protection | ||||||||||||||||||
| Battery | |||||||||||||||||||
| Specifications | (3) 12V9AH | (6) 12V/9AH | |||||||||||||||||
| Recharge Tens 0-90% (Typical) | 4 hours (0-90%) | ||||||||||||||||||
| Sealed. Maintenance Free | Yes | ||||||||||||||||||
| Hot-Swappable | Yes | ||||||||||||||||||
| Status Indicators | |||||||||||||||||||
| LCD Screen | Multi-Function LCD Readout that Supports : Multi-Language Interface. (24) Types of Read Out. (25) Types of Function Setting. (5) Event Logs | ||||||||||||||||||
| LED Indicators | Power On (White). Line Mode (Green), Battery Mode (Yellow). Bypass Mode (Yellow), Fault (Red). Replace Battery (Red) | ||||||||||||||||||
| Audible Alarms | Battery Mode. Battery Low. Overload. UPS Fault | ||||||||||||||||||
| Environment | |||||||||||||||||||
| Operating Temperature | 32°F to 104’F (0% to 40%) | ||||||||||||||||||
| Operating Relative Humidity | 0 to 90% Non-Cordoning | ||||||||||||||||||
| Management | |||||||||||||||||||
| On-Device Features | Startup Self Test. Auto-Charge. Auto-Restart. Auto-Ovedoad Recovery | ||||||||||||||||||
| Connectivity Ports | (1) Serial Port (R5232). (1) USB Port. (1) Retay Out | ||||||||||||||||||
| Expansion Slot | (1) Expansion Slot for optional remote management cards | ||||||||||||||||||
| Software | |||||||||||||||||||
| I Power Management Software PowerPaner Business Edition | |||||||||||||||||||
| Physical | |||||||||||||||||||
| Dimensions | LxWxH. 16.9x 17 x3.5in. (43 x43.3 x 8.8cm) | LxWxH=23.6x 17 x3.5in. (60 x43.3 x 8.8cm) | |||||||||||||||||
| Net Weight | 39.6Ibe(18Kg) | 6821126(311(9) | |||||||||||||||||
| Safety | |||||||||||||||||||
| Conformance Approvals CE. 18111’0. FCC part to Class B CE. ulna. FCC part 15 Class A | |||||||||||||||||||
For OL1500/2200/3000RTXL2U, 100V is derated by 20%, 110/115V is derated by 10%
TROUBLESHOOTING
| Problem | Possible Cause | Solution |
| Warning | ||
| 0/P Overload | Your equipment requires more power than the UPS can provide. If the UPS is in Line Mode then it will transfer to Bypass Mode; if the UPS is in Battery Mode it will shutdown. | Shut off non-essential equipment. If this solves the overload problem, the UPS will transfer to normal operation. |
| Load Over XXX% | Your equipment requires more power than the setting in the Power Management Software (PowerPanel® Business) will allow. | Shut off the non-essential equipment or increase the level in the Power Management Software. |
| Mode | UPS is operating on battery power. | co Save your data and perform a controlled shutdown. shutdown. |
| Battery Low | UPS is operating on battery power and will be shutting down soon due to extremely low battery voltage. | UPS will restart automatically when acceptable utility power returns. |
| BAT Disconnected | Missing battery power. | Check battery connector and battery breaker. |
| Battery Failure | UPS has failed a Battery Test. | 1.Check battery connector and battery breaker. 2.Contact technical support to replace the battery. |
| Replace Battery | Battery will soon need to be replaced due to insufficient runtime. | Contact technical support to replace the battery. |
| EPO OFF | Missing the EPO connection. | Check the EPO connection. |
| Wiring Fault• •Not applicable on model OL300ORTXL2UHV | Line and neutral wires are reversed. | Exchange line and neutral wires. |
| Missing ground wire. | Connect ground wire. | |
| No ground wire. | Disable Wiring Fault alarm on LCD panel. | |
| Line Abnormal | Wrong utility power backed up during UPS auto- restart. | Check whether voltage or frequency of utility power is out of range. |
| Output Short | Output short rt uit. circ | Your attached equipment may have problems, please remove them and check again. |
| Over Temperature | A high-temperature sensor activates protection. | Check the fan for operation and if the ventilation hole has been covered. |
| Cold-start Lock | UPS is locked to prevent consuming battery power during shipping. | . Plug into utility power for the first-time operation. |
| Auto restart Lock | Automatic Restore” is disabled in Power Management Software (PowerPanele Business) | Press “ON/OFF” button to turn on UPS. |
| Replace Battery | Battery will need to be replaced soon due to insufficient runtime. | Install new batteries, execute battery test, and reset the replace battery date. |
| Service Battery | The Battery Replacement Date has reached the recommended 3 year maintenance period. | 1.Perform a runtime calibration to verify battery capacity is sufficient and acceptable. 2.If batteries have been recently replaced, then reset the Battery Replacement Date using PowerPanel® Business Edition-Agent software, RMCARD interface (if installed) or through the LCD control panel on the UPS (see configuration menu on page 11). |
Fault
| Over Charge | Battery is overcharged. | 1. Remove battery connector andcharger voltage. |
| Charger Failure | Charger has failed. | 2. Contact CyberPower for repair. |
| High O/P V | Output voltage is too high. | |
| Low O/P V | Output voltage is too low. | 1. Shut down UPS and turn off input breaker. |
| Bus Fault | Internal DC bus voltage is too high or too low. | 2. Contact CyberPower for repair. |
| Fan Error | Internal Fan has failed. |
Cyber Power Systems Inc.
www.cyberpowersystems.com
Entire contents copyright© 2020 Cyber Power Systems Inc., All rights reserved. Reproduction in whole or in part without permission is prohibited. PowerPanel® Business Edition and PowerPanel® Personal Edition are trademarks of Cyber Power Systems Inc.
PRODUCT REGISTRATION
CyberPower requests that you complete and return the Warranty Registration Card enclosed with the Product or register the Product at its website (www.cyberpowersystems.com/registration) to establish that you are the Initial Customer of the Product, and therefore entitled overage under the Limited Warranty and the Connected Equipment Guarantee. (Registration is not required for coverage, but note: if you do not register your purchase, you will be required to provide proof of purchase.)
LIMITED WARRANTY AND CONNECTED EQUIPMENT GUARNTEE
Read the following terms and conditions carefully before using the CyberPower OL1000RTXL2U / OL1500RTXL2U / OL2200RTXL2U / OL3000RTXL2U / OL3000RTXL2UHV. By using the Product you consent to be bound by and become a party to the terms and conditions of this Limited Warranty and Connected Equipment Guarantee (together referred to as this “Warranty”). If you do not agree to the terms and conditions of this Warranty, you should return the Product for a full refund prior to using it.
Who is Providing this Warranty?
Cyber Power Systems (USA), Inc. (“CyberPower”) provides this Limited Warranty.
What Does This Warranty Cover?
This warranty covers defects in materials and workmanship in the Product under normal use and conditions. It also covers equipment that was connected to the Product and damaged because of the failure of the Product.
What is the Period of Coverage?
This warranty covers the Product for three years and connected equipment for as long as you own the Product.
Who Is Covered?
This warranty only covers the original purchaser. Coverage ends if you sell or otherwise transfer the Product.
How Do You Get Warranty Service?
1. Before contacting CyberPower, identify Your Product model number, the Purchase Date, and each item of Connected Equipment.
2. Email us at [email protected] or Call us at (877) 297-6937.
3. If your product requires warranty service you must provide a copy of your dated purchase receipt or invoice.
How Do You Open A Connected Equipment Claim?
1. Call us at (877) 297-6937 or write to us at Cyber Power Systems (USA), Inc., 4241 12th Ave. E., STE 400, Shakopee, MN 55379, or send us an e-mail message at [email protected] for instructions, within 10 days of the occurrence.
2. When you contact CyberPower, identify the Product, the Purchase Date, and the item(s) of Connected Equipment. Have information on all applicable insurance or other resources of recovery/payment that are available to the Initial Customer and Request a Claim Number.
3. You must provide a dated purchase receipt (or other proof of the original purchase) for the Cyber Power unit and connected equipment. You also need to provide a description of the damage to your connected equipment.
4. Pack and ship the product to CyberPower and, if requested, the item(s) of Connected Equipment, a repair cost estimate for the damage to the Connected Equipment, and all claim forms that CyberPower provides to you. Show the Claim Number on the shipping label or include it with the product. You must prepay all shipping costs, you are responsible for packaging and shipment, and you must pay the cost of the repair estimate.
How Long Do I Have To Make A Claim?
All claims must be made within ten days of the occurrence.
What Will We Do To Correct Problems?
CyberPower will inspect and examine the Product.
If the Product is defective in material or workmanship, CyberPower will repair or replace it at CyberPower’s expense, or, if CyberPower is unable to or decides not to repair or replace the Product (if defective) within a reasonable time, CyberPower will refund to you the full purchase price you paid for the Product (purchase receipt showing price paid is required).
If it appears that our Product failed to protect any equipment plugged into it, we will also send you forms for making your claim for the connected equipment.
We will repair or replace the equipment that was damaged because of the failure of our Product or pay you the fair market value (NOT REPLACEMENT
COST) of the equipment at of the time of the damage. We will use Orion Blue Book, or another third-party valuation guide, or eBay, craigslist, or another source to establish that amount. Our maximum liability is limited to $400,000 for OL1000RTXL2U / OL1500RTXL2U / OL2200RTXL2U / OL3000RTXL2U /OL3000RTXL2UHV.
LIMITED WARRANTY AND CONNECTED EQUIPMENT GUARANTEE
Who Pays For Shipping?
We pay when we send items to you; you pay when you send items to us.
What Are Some Examples Of What This Warranty Does Not Cover?
1. This Warranty does not cover any software that was damaged or needs to be replaced due to the failure of the Product or any data that is lost as a result of the failure or the restoration of data or records, or the reinstallation of software.
2. This Warranty does not cover or apply to: misuse, modification, operation or storage outside environmental limits of the Product or the equipment connected to it, nor for damage while in transit or in storage, nor if there has been improper operation or maintenance, or use with items not designed or intended for use with the Product, such as laser printers, appliances, aquariums, medical or life support devices, etc.
What Other Limitations Apply?
The sole and exclusive remedies of the Initial Customer are those provided by this Warranty.
1. This Warranty does not apply unless the Product and the equipment that was connected to it were connected to properly wired and grounded outlets (including compliance with electrical and safety codes of the most current electrical code), without the use of any adapters or other connectors.
2. The Product must have been plugged directly into the power source and the equipment connected to the Product must be directly connected to the Product and not “daisy-chained” together in serial fashion with any extension cords, another Product or device similar to the Product, surge suppressor, or power tap. Any such installation voids the Limited Warranty.
3. The Product and equipment connected to it must have been used properly in a suitable and proper environment and in conformance with any license, instruction manual, or warnings provided with the Product and the equipment connected to it.
4. The Product must have been used at all times within the limitations on the Product’s VA capacity.
The Product was designed to eliminate disrupting and damaging effects of momentary (less than 1ms) voltage spikes or impulses from lightning or other power transients. If it can be shown that a voltage spike lasting longer than 1ms has occurred, the occurrence will be deemed outside the rated capabilities of the Product and the Limited Warranty is void. CyberPower Does Not Cover or Undertake Any Liability in Any Event for Any of the Following:
1. Loss of or damage to data, records, or software or the restoration of data or records, or the reinstallation of software.
2. Damage from causes other than AC Power Line Transients, spikes, or surges on properly installed, grounded and code-compliant 120 volt power lines in the United States and Canada; transients, surges or spikes on standard telephone land lines, PBX telephone equipment lines or Base 10T Ethernet lines, when properly installed and connected. (This exclusion applies, for example, to fluctuations in data transmission or reception, by CATV or RF transmission or fluctuations, or by transients in such transmission.)
3. Damage from any circumstance described as excluded above with respect to the Product.
4. Damages from fire, flood, wind, rain, rising water, leakage or breakage of plumbing, abuse, misuse or alteration of either the product or the Connected Equipment.
5. CyberPower excludes any liability for personal injury under the Limited Warranty and Connected Equipment Guarantee. CyberPower excludes any liability for direct, indirect, special, incidental or consequential damages, whether for damage to or loss of property [EXCEPT FOR (AND ONLY FOR) the specific
limited agreement of CyberPower to provide certain warranty benefits regarding “Connected Equipment” under this Warranty], loss of profits, business interruption, or loss of information or data. NOTE: Some States or Provinces do not allow the exclusion or limitation of incidental or consequential damages, so the above limitation may not apply to you.
6. The Product is not for use in high-risk activities or with aquariums. The Product is not designed or intended for use in hazardous environments requiring fail-safe performance, or for use in any circumstance in which the failure of the Product could lead directly to death, personal injury, or severe physical or property damage, or that would affect operation or safety of any medical or life support device (collectively, “High-Risk Activities”). CyberPower expressly disclaims any express or implied warranty of fitness for High-Risk Activities or with aquariums. CyberPower does not authorize use of any Product in any High-Risk Activities or with Aquariums. ANY SUCH USE IS IMPROPER AND IS A MISUSE OF THE PRODUCT.
Where Can I Get More Information?
The application of the United Nations Convention of Contracts for the International Sale of Goods is expressly excluded.
CyberPower is the warrantor under this Limited Warranty.
For further information please feel free to contact CyberPower at Cyber Power Systems (USA), Inc. 4241 12th Ave E., STE 400, Shakopee, MN 55379; call us
at (877) 297-6937; or send us an e-mail message at [email protected].
CONFORMANCE APPROVALS
FCC Notice
This device complies with part 15 of the FCC Rules. Operation is subject to the following two conditions: (1) This device may not cause harmful interference, and (2) this device must accept any interference that may cause undesired operation. For 2200 and 3000VA Online UPS Models: WARNING!! This equipment has been tested and found to comply with the limits for a Class A digital device, pursuant to part 15 of the FCC Rules. These limits are designed to provide reasonable protection against harmful interference when the equipment is operated in a commercial environment. This equipment generates, uses, and can radiate radio frequency energy and, if not installed and used in accordance with the instruction manual, may cause harmful interference to radio communications. Operation of this equipment in a residential area is likely to cause harmful interference in which case the user will be required to correct the interference at his own expense. Shielded signal cables must be used with this product to ensure compliance with the Class A FCC limits.
| The Class A digital apparatus meets all requirements of the Canadian Interference-Causing Equipment Regulation. Cet appareil numerique de la class A respecte toutes les exigencies du Reglement sur le materiel brouilleur du Canada. |
For 1000 and 1500VA Online UPS Models:
WARNING!! This equipment has been tested and found to comply with the limits for a Class B Digital Device, pursuant to Part 15 of the FCC Rules. These limits are designed to provide reasonable protection against harmful interference in a residential installation. This equipment generates, uses and can radiate radio frequency energy and, if not installed and used in accordance with the instructions, may cause harmful interference to radio communications. However, there is no guarantee that interference will not occur in a particular installation. If this equipment does cause harmful interference to radio or television reception, which can be determined by turning the equipment off and on, the user is encouraged to try to correct the interference by one or more of the following measures: (1) Reorient or relocate the receiving antenna. (2) Increase the separation between the equipment and receiver. (3) Connect the equipment into an outlet on a circuit different from that to which the receiver is connected. (4) Consult the dealer or an experienced radio/TV technician for help. Any special accessories needed for compliance must be specified in the instruction.
| The Class B digital apparatus meets all requirements of the Canadian Interference-Causing Equipment Regulation. Cet appareil numerique de la class B respecte toutes les exigencies du Reglement sur le materiel brouilleur du Canada |
This document is believed to be accurate, but CyberPower reserves the right to change or correct the contents and does not assume any responsibility for
omissions or errors.
Need Additional Help?
Feel free to contact our Tech Support department with installation, troubleshooting, or general product questions.
CyberPower Technical Support
Phone: 1-877-297-6937
Email: [email protected]
Web: www.cyberpowersystems.com
Address: 4241 12th Avenue E, Suite 400 Shakopee, MN 55379, USA
Hours of Operation:
Monday – Friday, 7:00am – 6:00pm (CST)
Entire contents copyright © 2020 Cyber Power Systems, Inc.
All rights reserved. Reproduction in whole or in part without permission is prohibited.
![]()






















