RELIABILT 07-3043 Black Interior I-strap Barn Door Kit Instruction Manual
PREPARATION
MEASUREMENTS
- A. Overall track length: 78-3/4″- comprised of (2) 39-3/8″ adjoining pieces.
- B. Door Weight Capacity 200Lbs.
- C. Fits Openings Up to 36in.
- D. Hole spacing: 17-3/4″.
- E. Distance from door top side to holes on the wall: 1-5/16″.
- F. Distance from door entrance side to the nearest pre-drilled hole line: 4-3/4″.
- G. Distance from the bottom to the floor: 3/8″.
- H. Door height: H.
- I. Recommended height of the holes: H+1-11/16″.
- J. Recommended door thickness: 1-3/8″ to 1-9/16″.
TOOLS REQUIRED


PACKAGE CONTENTS

HARDWARE CONTENTS

INSTALLATION OVERVIEW
Reminder: If you are installing the track on drywall, do NOT install it directly onto the drywall.
Drywall installation: Install a 1″ x 4″or 1″ x 6″ header board above the door opening directly into studs. Header board must be solid wood and shall measure at least the full length or longer than the track . Use a 3/8″ drill bit to drill holes that are 2″ or more deep.
Concrete/Block/Brick Wall installation: Please make sure hex bolt must be embedded into floor anchor.
- Drywall Installation with header board (not included) Concrete/Block/Brick Wall Installation without header board.
WARNING: DO NOT install track directly in drywall. To ensure stability and security of the door, install a header board above the door opening. Using a 1in(T) x 6in(W) board, place the track on the board and mark the length. Cut the board to match exact length of the track as marked.
- By using level, place the track horizontally against the board, and use a pencil to mark where the hole should be. Recommended height of the pre-holes to the floor is H+1-11/16″.

- Drywall Installation.Secure the plastic anchor into the pre-drilled hole first,then install lag screw to the anchor.

- Insert door stoppers on either side of track.

- When installing floor guide, mortise a groove 1/4″ (114″-3/8″ based on door thickness) wide by 3/4″ deep into the bottom center of door’s edge.

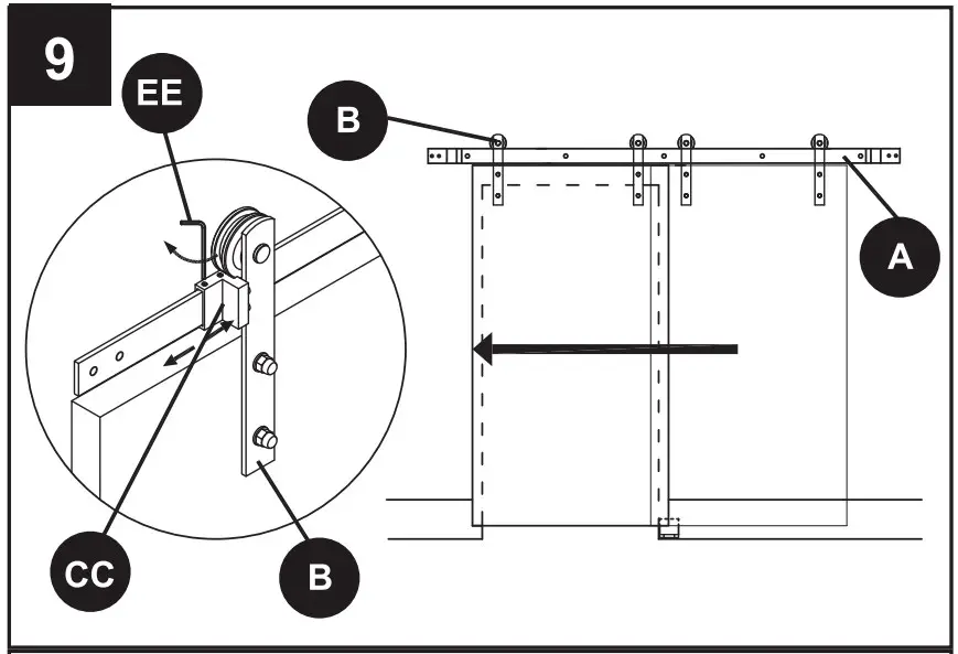
- Secure hangers on the door, ensuring to keep them straight, according to the dimensions show below. The recommended door thickness is 1-3/8″ to 1-9/16″. Use a 3/8″ drill bit to drill holes.

- Position each anti-jump disc 1/2″ from the front edge of the door, but please keep anti-jump disc loose enough for further rotation.

- Adjust the door stopper in desired positions with hex key.

- Swivel the anti-jump disks away from the door (about 180 degrees), hang the door over the track. Slide door from open to close to ensure all parts are operating smoothly.

- Mark holes with a pencil, and make sure the pre-drilled hole spacing around 1″, then install the floor guide.





























