Models:
Rinnai 650 Gas Fire (RDV600ER)
Rinnai 750 Gas Fire (RDV700ER)

Gas Fireplace
Operation Manual
Congratulations on the purchase of your Rinnai 650 or 750 Gas Fire. We trust you will have many years of comfort and enjoyment from your appliance.
BEFORE USING THIS APPLIANCE IMPORTANT
Before proceeding with the operation or installation read this manual thoroughly and gain a full
understanding of the appliance, to ensure safe and correct use. This version of the Operation Manual supersedes and replaces all previous issues of the combined Operation & Installation Manuals Part Number: 12891. For details on how to install this appliance refer to the Installation Manual Part Number: 12903.
- This appliance must be installed in accordance with:
- Manufacturer’s Installation Instructions · Current AS/NZS 3000, AS/NZS 3500 & AS/NZS 5601
- Local Regulations and Municipal Building Codes including local OH&S requirements,
This appliance must be installed, maintained, and removed ONLY by an Authorised Person. For the continued safety of this appliance, it must be installed and maintained in accordance with the manufacturer’s instructions.
![]()
WARNINGS & IMPORTANT INFORMATION
BEFORE USING THIS APPLIANCE
IMPORTANT Before proceeding with the operation or installation read this manual thoroughly and gain a full understanding of the appliance, to ensure safe and correct use.
Failure to carefully read and follow all instructions in this manual can result in equipment malfunction, fire or explosion, property damage, personal injury, and/or death.
DANGER: Indicates an imminently hazardous situation that, if not avoided, will result in personal injury or death.
WARNINGS: Indicates a potentially hazardous situation which, if not avoided, could result in personal injury or death.
CAUTIONS: Indicates a potentially hazardous situation which, if not avoided, could result in minor or moderate injury or damage to the appliance. It may also be used to alert against unsafe practices.
REGULATORY INFORMATION
This appliance shall be installed in accordance with:
Manufacturer’s Installation Instructions.
Current AS/NZS 3000, AS/NZS 3500 & AS/NZS 5601.
Local Regulations and Municipal Building Codes including local OH&S requirements.
This appliance has been certified by the Australian Gas Association. The A.G.A. Certification Number is shown on the data plate.
This appliance MUST be installed, maintained, and removed ONLY by an Authorised Person.
For the continued safety of this appliance, it MUST be installed and maintained in accordance with the manufacturer’s instructions.
NOTICE TO VICTORIAN CONSUMERS
This appliance MUST be installed by a person licensed with the Victorian Building Authority.
ONLY a licensed person will have insurance protecting their workmanship.
So make sure you use a licensed person to install this appliance and ask for your Compliance
Certificate. For further information contact the Victorian Building Authority on 1300 815 127.
DRESS GUARD WARNINGS
The guard is fitted to this appliance to reduce the risk of fire or injury from burns and no part of it should be permanently removed. For the protection of young children or the infirm, a secondary guard is required.
The wire mesh dress guard supplied with this appliance MUST NOT be permanently removed as it fulfills an operational safety function. Additional dress guards including free-standing types may be used in conjunction with, but NOT replace, the dress guard supplied with this appliance.
MANDATORY INSPECTION PRIOR TO INSTALLATION
Unpack the heater and check for damage. Immediately report any damage or discrepancies to the Supplier of the appliance. This appliance was inspected and tested at the time of manufacture and packaging and released for transportation without known damage. Upon receipt, inspect the exterior for evidence of rough handling in shipment. Ensure that the appliance is labeled correctly for the gas and electrical supply, and/or other services it is intended to be connected to.
For safety and warranty purposes, appliances that may be damaged or incorrect must not be installed or operated under any circumstances. Installation of damaged or incorrect appliances may contravene local government regulations. Rinnai disclaims any liability or responsibility whatsoever in relation to the installation or operation of damaged or incorrect appliances.
Take care when opening or unpacking this appliance. Failure to do so may result in serious injury or product failure. Check the label for the correct gas type (refer to rating plate, inside the appliance). Refer to the local gas authority for confirmation of the gas type if you are in doubt.
MODIFICATIONS.
DO NOT MODIFY THIS APPLIANCE.
Modifying from original specifications may create a dangerous situation and will void your warranty. Failure to comply with these instructions could result in a fire or explosion, which could cause serious injury, death or property damage.
DO NOT modify the electrical wiring of this appliance.
If the power cord is damaged or deteriorated it MUST be replaced by an authorised person.
Failure to do so may result in electric shock, fire, serious injury or product failure.
Improper installation, adjustments, service or maintenance can cause serious injury, death or property damage. Such work MUST ONLY be performed by an authorised person.
GENERAL SAFETY WARNINGS
This appliance is HEAVY, during installation the use of a mechanical lifting aid is recommended, noting that improper lifting may result in serious injury.
WARNING: This heater MUST NOT be used if any of the glass panels are damaged.
Flue terminal MUST always vent directly to outdoors. DO NOT extend the flue vertically or horizontally in ways other than prescribed in this appliance manufacturer’s installation instructions. ONLY the flue components specified by Rinnai MUST be used.
When considering installation ensure minimum clearances as follows are adhered to, refer Fig. 1.Heat radiating from the front of this heater may over time affect the appearance of some materials used for flooring such as carpet, vinyl, cork or timber. This effect may be amplified if the air in the room contains cooking vapours, candle vapours and cigarette smoke, etc. To avoid this possibility, it is recommended that a mat or similar protective sheet be placed in front of the appliance, extending at least 750 mm in front of
the dress guard. Refer to the installation manual for mantle clearances, additional installation information and warnings.
This appliance MUST NOT be installed where curtains or other combustible materials could come into contact with it. In some cases curtains may need restraining.
This appliance is NOT intended for use by persons (including children) with reduced physical, sensory or mental capabilities or lack of experience and knowledge, unless they have been given supervision or instruction concerning use of the appliance by a person responsible for their safety.
The appliance is NOT intended for use by young children or infirm persons without supervision. Young children and the infirm SHOULD be supervised at all times when in the vicinity of this heater while it is in operation.
The heater MUST NOT be located immediately below a power socket outlet.
A dedicated 230 V earthed 10 Amp power point must be used with this appliance. Refer to local gas authority for confirmation of the gas type if you are in doubt. Suitable ONLY for indoor installation. DO NOT operate this appliance before leak checking hoses and gas cylinder connection. This heater MUST NOT be used if either of the glass panels are damaged. NOT to be connected to an LP gas cylinder located indoors. Please keep this instruction booklet in a safe place for future reference. All dimensions referred to in these instructions are in millimetres, unless otherwise specified.
OPERATIONAL SAFETY WARNINGS
DO NOT restrict the warm air discharge or place articles on or against this appliance.
This appliance MUST NOT be used for any purpose other than heating.
DO NOT allow anyone to post articles through the louvres.
DO NOT let flammable and combustible materials (such as curtains, etc.), to come into contact with the heater.
DO NOT spray aerosols in the vicinity of this appliance whilst the heater is operating. Most aerosols contain flammable gas, which can be a fire hazard if used near the heater when it is in use.
DO NOT store flammable materials near this appliance.
DO NOT modify this appliance.
Heat emanating from the front of the appliance may over time affect the appearance of some materials used for flooring such as carpet, vinyl, cork or timber. This affect may be amplified if the air in the room contains cooking vapours or cigarette smoke. To avoid this possibility, it is recommended that a mat be placed in front of the appliance, extending at least 750 mm in front of the heater.
When the heater is operated for the first time or after long periods of non use a slight odour may be emitted, this is normal. However if odours persist switch ‘OFF’ the appliance and contact Rinnai.
Young children should be supervised at all times. Hand or body contact with the warm air discharge louvres and glass must be avoided.
DO NOT allow anyone to sit on or lean against the appliance.
DO NOT allow young children or the infirm to sleep directly in front of the heater while in operation.
DO NOT remove the Fascia / Dress Guard. The Fascia / Dress Guard is fitted to this appliance to reduce the risk of fire or injury from burns and no part of it should be permanently removed. For protection of children or the infirm, a secondary guard is recommended.
A dedicated 230V earthed 10 Amp power point MUST BE USED with this appliance.
DO NOT use power boards or double adaptors to operate this appliance. The heater MUST NOT be located below a power socket-outlet.
DO NOT unplug the heater while it is in operation or while the fan is still cycling.
DO NOT place containers of liquid above the heater. Water spillage can cause extensive damage to the appliance and create an electrocution hazard.
DO NOT place articles on or against this appliance.
DO NOT connect to an LPG gas cylinder indoors.
Turn the heater ‘OFF’ after use.
SAFETY DEVICES
Initial start-up
This heater has a one-time start up cycle. Should there be a fault in the heater no more than 3 manual restarts should be attempted. If the heater still fails to operate a service call will be required. Refer to the “CARE AND MAINTENANCE” pages; 12 through 15 for further information.
Over Heat Thermistor
Should the heater get too hot during operation, (for example when the air outlet louvres are blocked), this device will automatically turn the gas off and allow the heater to be manually restarted, (automatic re-start will not occur). Refer to the “CARE AND MAINTENANCE” pages; 12 through 15 for further information.
Over heat Thermal Fuse
In the unlikely event of the Over Heat Thermistor failing or some other fault occurring the Over Heat Thermal fuse will operate completely shutting the appliance down. This device is a ‘one hit’ only function, a service call will be required to reinstate operational ability to your heater. Refer to the “CARE AND MAINTENANCE” pages; 12
through 15 for further information.
Power Failure
Refer to page 10. In the event of power failure or power disruption your heater will shut down completely, manual restarting will be required. Refer to the “CARE AND MAINTENANCE” pages; 12 through 15 for further information.
Electric Fuse
The electrical circuits are protected by a fuse. Refer to the “CARE AND MAINTENANCE” pages; 12 through 15 for further information.
Flame Failure Sensing System
These devices within the appliance automatically cut of the gas supply to the burners in the event of a flame failure. Refer to the “CARE AND MAINTENANCE” pages; 12 through 15 for further information.
Pressure Relief
The burner box glass panel is secured to the burner box via spring loaded pressure relief fasteners.
ABOUT YOUR HEATER
GENERAL OVERVIEW

Note: The three sided fascia and ceramic log set are shown for illustrative purposes
| 1 Push button control panel a ON / OFF button b Standby / ON button: | Controls appliance operation between Standby and ON modes. Controls appliance operation between ON and OFF. See “Remote Control Operation” on page 10 |
| 2 Glass Dress Guard (as part of fascia) | |
| 3 Flame Window | Ceramic log set and burner media or ceramic stone set and burner media |
| 4 Warm air discharge vent | |
| 5 Return Air Vent | |
| 6 Remote (IR) Control Receiver Window | (Green Indicator) Flashes during the pilot ignition and glows solid when pilot is established, going out once heating operation commences. Flashes to acknowledge remote control inputs. |
| 7 Viewing window for error code display | Located behind the fascia. See ERROR CODES on page 12 |
| 8 Remote (IR) Control c Standby / ON button: d Flame Up / Down buttons: e Room temperature display | See “Remote Control Operation” on page 10. See “Remote Control Operation” on page 10. Displays the current temperature of the room in which the control is located. See “Remote Control Operation” on page 10. |
CONTROL PANEL OPERATION
TO TURN ON YOUR HEATER
BEFORE PROCEEDING ENSURE THE GAS AND ELECTRICITY ARE TURNED ON.
When the heater is in the OFF condition (the power supply connected and switched ON but the heater turned OFF) the Red Power Indicator b will be extinguished. This is normal.
Access the ‘Push Button Control Panel’ 1. This is located on the front of the heater at the lower right hand corner.
Step 1. Press ON / OFF button a once. You will be able to hear the ignition sparking.
Step 2. The sparking ignition stops when the pilot flame has been established. The main burner then ignites off the pilot flame and is automatically preset to Stage 5 – High Flame.
FLAME HEIGHT AND FAN SPEED
The relationship between the flame height and fan speed are preset and can not be independently adjusted.

| Flame Height | 1 | 2 | 3 | 4 | 5 |
| Fan Speed (2 speed only | Low | Low | Low | High | High |
TO TURN OFF YOUR HEATER
To turn the heater ‘OFF’ press the Standby / ON button A once, when the heater is in the OFF state the Red Power Indicator will be extinguished.
INTERRUPTION TO ELECTRICITY OR GAS SUPPLY DURING OPERATION
Interruption to the power or gas supply will turn your heater OFF, upon resumption of the services the appliance will need to be restarted. This is a safety feature designed to ensure that un-attended starts do not occur after power or gas interruptions.
RESTART PROCEDURE AFTER INTERRUPTION TO ELECTRICITY SUPPLY
To restart your heater once power has been restored follow the steps for “To Turn ON Your Heater” as above.
FULL CONTROL AND PARTIAL CONTROL
Full operation of the heater is only possible by using the remote control. In the event of a misplaced or broken remote control or if the batteries for the remote control are flat, this appliance may still be operated in a limited capacity by using the power ON/OFF button A of the ‘Push Button Control Panel’ 1 located at the lower right corner of the appliance outer frame.
The heater will automatically modulate between flame settings to maintain the default set temperature of 22°C. No additional control of the flame or heat output is possible via the appliance ON/OFF button.
REMOTE CONTROL OPERATION
REMOTE CONTROL ACTIVATION
The remote is supplied with two Lithium cell CR2450 button batteries already pre-inserted.
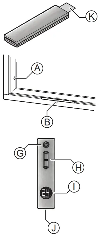
To activate pull the clear tab K, noting that 0H (OK) will briefly be shown on the digital display I, to confirm that the activation was successful.
Noting that this also occurs when ever a fresh set of batteries is installed.
Remove the batteries if the remote is not going to be used for a long time. This will help avoid damage from leaking batteries. If leakage has occurred the remote will need to be replaced as leaking chemicals could be a risk if touched or ingested.
When the controller buttons are pressed the green indicator located in the IR receiver window B will flash and ‘Beeps’ will be emitted to confirm that control inputs are being received, this indicates your remote controlis now working.
When the controller buttons are pressed the green indicator located in the IR receiver window B will flash and ‘Beeps’ will be emitted to confirm that control inputs are being received, this indicates your remote control is now working.
BUTTON FUNCTIONS, DISPLAY & OPERATION
For the remote control to be able to function, the appliance Standby / ON button A must be in the “ON” condition. Using the remote control to turn OFF the heater will place the heater into STANDBY mode.
The Standby / ON button G switches the heater between the Standby and ON modes.
The UP / DOWN buttons H control the height of the flame and heat output in five adjustment levels in fixed combination with two fan speeds.
The relationship between flame levels and fan speeds is factory pre-set and therefore cannot be adjusted, and are as follows:

| Flame Level Fan Speed | 1 Low | 2 Low | 3 High | 4 High | 5 High |
On initial start-up the appliance default flame height setting is 5 – High. The flame height may only be adjusted after at least 30 seconds of operation.
The remote control temperature sensor J (located on the base of the controller) reads the temperature of where the remote control is currently located.
The remote controls digital display I shows the temperature (in degrees Celsius) of the room that the remote control is located in. It has a motion activated back light which will remain illuminated for approximately 5 seconds after a movement is sensed or when a button is pressed. Frequent illumination of the back light greatly reduces the remote control’s operational battery life. To increase battery life, ensure that unnecessary illumination of the display is avoided.
LOST, MISPLACED OR BROKEN REMOTE CONTROL
Breakage of the plastic housing could expose sharp edges, replace the remote if this occurs. Avoid getting the remote wet as water entry will damage the remote.
In the event of a lost, misplaced or broken remote control the appliance may still be operated in a limited capacity. By using the power ON/OFF button, located in the manual control panel, on the front of the heater at the lower right hand corner.
In the event that the remote control operation is not available, this appliance may then still be operated in a limited capacity by using the heater’s control panel.
Refer to “Control Panel Operation” on page 9 for details on how to use the appliance in this mode and the limitations of this form of operation.
BATTERY SAFETY
![]()
- WARNING KEEP BATTERIES OUT OF REACH OF CHILDREN.
- Swallowing may lead to serious injury in as little as 2 hours or death, due to chemical burns and potential perforation of the oesophagus.
- If you suspect your child has swallowed or inserted a button battery immediately call the 24-hour Poisons Information Centre on 13 11 26 for fast, expert advice.
- Examine devices and make sure the battery compartment is correctly secured, e.g. that the screws or other mechanical fasteners are tight. DO NOT use if compartment is not secure.
![]()
- Dispose of used button batteries immediately and safely. Flat batteries can still be dangerous and may be a choking hazard.
- Inform others about the risk associated with button batteries and how to keep their children safe.
- Remove the batteries if the remote is not going to be use for prolonged periods. This will help prevent damage from leaking batteries. If leakage has occurred and corrosion is evident the remote will need to be replaced.
- Leaking chemicals are toxic and MUST NOT be touched or ingested.
- NEVER mix old and new batteries.
- DO NOT immerse the remote control in any liquid, this will damage the remote control, rendering it inoperable and voiding its warranty.
CHANGING THE BATTERIES
When the low power symbol (left) appears at the top of the room temperature display I the batteries are near to being fully discharged and may nolonger able to power the remote control properly. Replacement of batteries is now a priority.
- Using a suitable lever carefully remove the back cover, do this by first prying the cover off using the notch at the temperature sensor L end as a starting point, and continuing until the cover pops off.
When removing the remote control cover some patience may be required as the cover is designed tobe not easily removed, this is to prevent easy access to the batteries, especially by young children. - Once the cover is off remove the two screws M that secure the plastic retaining bridge N, using a small (No.0) Phillips head screw driver or equivalent and then remove the plastic retaining bridge N.
- Remove the old button batteries P by carefully sliding them one at a time out from under the metal battery retainers O, and into the space that was created when the plastic retaining bridge N was removed in the previous step.
- Insert two new button batteries (CR2450) P, under the metal battery retainers O ensuring that the positive “ + ” terminals (the side with the writing and the positive ymbol) are facing upwards.
- Re-fit the plastic retaining bridge N securing it back in place with the two screws M.
- With the batteries secured re-attach the rear cover by carefully clipping it back into place, noting that the end with the notch in it is at the bottom.
Noting that 0X (OK) will briefly be shown on the digital display to confirm that the batteries have been successfully replaced.
Remember to dispose of used button batteries immediately and safely.

CARE & MAINTENANCE
ERROR CODES
In all cases, you should be able to clear the Error Code on display simply by turning the heater ‘OFF’, then ‘ON’ again. If the Error Message still remains or returns on the next operation, contact Rinnai or your nearest service agent and arrange for a service call.
Your Rinnai Gas Fire is also fitted with self diagnostic electronics that monitor the appliance during start-up and operation.
Should a fault occur the appliance will then shut down, the fault that has caused the shut down will be indicated by a pair of flashing digits in the Error Display window 7 , which is located behind the fascia and can be viewed by looking down between the glass of the dress guard and the burner box. Refer to the table below for probable cause and the suggested remedy.

| Code | Possible Cause | Suggested Solution |
| Mains power failure | Reset the heater, press the Standby / ON button on the control panel, remote control, or app twice, to turn the fire back on. |
| Ignition failure | Check that the gas supply is turned on. Switch the heater to STANDBY and then ON again If the error persists, a service call will be required. |
| Incomplete combustion | As above. |
| Inlet Blockage /Overheat | Clean inlet, if the error persists, a service call will be required |
| Room overheat | Lower room temperature to below 40 °C. |
| Room temperature sensor faulty | Service call. |
| Overheat temp. 1 sensor faulty | Service call. |
| Overheat temp. 2 sensor faulty | Service call. |
| Spark sensor faulty | Service call. |
| Combustion fan motor faulty | Service call. |
| Solenoids faulty | Service call. |
| Flame detection circuit fault | Service call. |
| Communication error | Service call. |
The appliance is fitted with an overheat safety switch which will shut off the appliance. If the appliance shuts off repeatedly servicing or inspection of the flue for may be required, contact Rinnai for advice.
CLEANING
Your heater needs very little maintenance, but the following information will help you to keep it looking good and working efficiently.
DO NOT attempt to clean the heater while the appliance is hot or operating. All parts of the heater can be cleaned using a soft, damp cloth.
DO NOT use solvents or abrasives to clean any parts.
DO NOT spray aerosols in the vicinity of the heater whilst in operation.
DO NOT place articles on or against this heater.
DO NOT store flammable materials near this heater.
DO NOT remove any panels or attempt to carry out any service work other than that which is mentioned in the Trouble Shooting Checklist “Trouble Shooting Checklist” on page 14.
NORMAL OPERATIONAL CHARACTERISTICS
During the initial burning in period some fumes and smell may be experienced. This condition may last for a couple of hours, however this is a normal part of the burning in process.
When using the heater for the first time, or after a long period of non use the ignition may not occur the first time it is operated due to air in the gas pipes. If ignition does not occur the unit will switch off automatically. Try operating the heater again if this occurs, if this continues however then contact Rinnai for advice.
The heater may make noises after ignition or switching off. This is due to the expansion and contraction of the internal components and is normal.
As a safety precaution the heater will not ignite if the Standby / ON button is pressed straight after the heater has been turned off. It will take approximately 20 seconds for the unit to reset and switch back on again.
TROUBLE SHOOTING
General Operation Characteristics
Before asking for a service call please check the following table as these characteristics are part of the normal operation of the appliance and do not indicate a fault.
| Characteristic | Explanation | |
| At ignition: | ||
| Warm air does not start when the burner lights. | The fan is started automatically after a short delay. This is to allow the heat exchanger to warm up, helping to avoid cold draughts. This is normal operation. | |
| Smoke or strange smells are produced on the first start up after installation. | This is caused by manufacturing oil or dust on the heat exchanger. This is to be expected and will cease after a short time. | |
| Sharp clicking noises at ignition, or when the unit thermostat modulates to a lower or higher setting, or shuts down. | This is simply expansion and contraction noise from the heat exchanger. This is a normal operation sound | |
| During combustion: | ||
| Dull clunking noise when the thermostat operates. | This is the sound of the solenoid gas valves opening and closing to regulate the gas flow. These are normal operation noises. | |
| When the appliance is turned off: | ||
| Convection fan continues to run after turning ‘OFF’. | This is to remove residual heat from the heat exchanger and stops once the appliance cools sufficiently. |
TROUBLE SHOOTING CHECKLIST
Check the following information to help determine whether a service call is required, however if you are unsure about the way your heater is operating, or if you have any other faults or problems, please refer to your supplier, installer or a Rinnai Customer Care Centre Consultant. See back page for Rinnai contact details.
![]()
SERVICE
This appliance does not contain user serviceable parts and MUST ONLY be serviced and repaired by an authorised person. If the power supply cord or any other component of the heater are damaged, they MUST BE replaced by Rinnai or a suitably qualified person.
Rinnai has a Service and Spare Parts network with personnel who are fully trained and equipped to give the best service on your Rinnai appliance.
Rinnai recommends that this appliance be serviced every 2 years. If your appliance requires service, please call our National Help Line (our contact numbers are on the back cover of this manual).
Service calls for general cleaning, maintenance and wear and tear are not necessarily covered under the warranty. Service calls of this nature may be chargeable.
Faults caused by insufficient gas supply, gas quality, installation errors or operation errors are not covered by the Rinnai warranty. Refer to separate Warranty Manual for details.
ABNORMAL FLAME PATTERN
Each Rinnai Gas Fire has a distinct flame pattern. The flame should look the same every time you operate your heater, after an initial warm up period of approximately 15 minutes.
Abnormal flame performance and/or pattern can indicate a problem with your heater, such as blocked gas injectors, incorrectly installed / inadequate flue system or the Ceramic logs / stones and/or burner media may have shifted from when the heater was first installed.
There are some warning signs that could indicate a problem. If any of the signs below occur, please contact Rinnai.

Key signs of abnormal flame performance:
- Appliance turns ‘OFF’ soon after start up and does not relight.
- Flame appears overly orange-yellow.
- Flame appears either very short or very long.
- Flame only burns part way across the burner.
- Severe soot building up on the inside of the glass or on logs.
- Continuous unusual smell from the appliance.
- Continued difficulty or delay in establishing a flame.
Be advised that appliances incorporating a live fuel effect, and designed to operate with luminous flames, may exhibit slight carbon deposition. This is normal operation.
CR2450 BUTTON BATTERIES
CAUTION KEEP BATTERIES OUT OF REACH OF CHILDREN
- Swallowing button batteries may lead to serious injury in as little as 2 hours or death, due to chemical burns and potential perforation of the oesophagus.
- If you suspect your child has swallowed or inserted a button battery immediately call the 24hr Poisons Information Centre on 13 11 26 for fast, expert advice.
- Regularly examine the remote controller and make sure the battery compartment is completely secured.
- Any used button batteries MUST BE disposed of immediately and safely.
The remote control uses 2x CR2450 3V lithium batteries. When the battery change indicator is displayed, Rinnai recommends fresh replacement batteries will need to be made available, as continued full functionality of the heater is dependent on the use of the remote control.![]()
INSTALLATION CHECKLIST
It is the responsibility of the installer to complete both the “Installation Checklist” below and the
“Installation Record” on the next page at the completion of installation.
Instruct customer on the heater operation and ensure the customer understands the content of the operation manual.
Advise the customer that during the initial burning period of approximately 2 hours, some smoke and odour may be experienced.
During this period the heater should be operated on ‘High’ and the space being heated should be well ventilated. It may take up to 20 minutes of operation for the logs to achieve their full flame pattern and glow.
Complete the “Installation Record” on page 17.
THE GUARD IS FITTED TO THIS APPLIANCE TO REDUCE THE RISK OF FIRE OR INJURY FROM BURNS AND NO PART OF IT SHOULD BE PERMANENTLY REMOVED. FOR PROTECTION OF YOUNG CHILDREN OR THE INFIRM, A SECONDARY GUARD IS REQUIRED.
The guard supplied with this appliance MUST NOT be permanently removed as it fulfils an operational safety function. Additional dress guards including free standing types may be used in conjunction with, but NOT replace, the dress guard supplied with this appliance.
The appliance is not intended for use by young children or infirm persons without supervision.
Young children and the infirm SHOULD be supervised at all times when in the vicinity of this heater while it is in operation.
Ensure the Customer understands that:
- No part of this appliance should be permanently removed.
- Young children and the infirm should be supervised at all times.
- Paper or other material MUST NOT be burnt in this appliance.
The following checklist is to be completed ONLY by a Certified Gas Installer.
- Is the appliance positioned in a suitable location (clearances, combustible clearances, mantels and surrounds etc.)?
- Was a Rinnai approved flue system installed and tested in accordance with the instructions?
- Has the gas pressure been checked and set?
- Has the log set / burn media been installed as per instructions?
- Was the appliance tested for correct operation and to ensure no gas leaks?
- Has combustion product spillage testing been conducted in accordance with AS/NZS5601?
- Has the customer been instructed on operating procedure and safety requirements?
- Is the end-user fully aware of operating procedure?
- Has the Glass Dress Guard been fitted?
- Has the customer been advised not to remove the dress-guard?
- Has the customer been advised to service the heater every two years?
![]()
INSTALLATION RECORD
This appliance MUST be installed, maintained and removed ONLY by an Authorised Person.
For continued safety of this appliance it MUST be installed and maintained in accordance with the manufacturers instructions.
The Installation Record is a reference for the end user, help line staff and service technicians. Ensuring that this information is available here will be helpful in the event that a service enquiry is required.
Installation Details
Installation Company Name:………..
Address:………..
Telephone / Mobile Phone:…………./
Email:………….
Certificate of Compliance / Certification No.:………
Authorised Persons – Licence No.:………
Installers Name:…..
Installers Signature:………..
Installation Date:……..
Model Number *………….
Serial Number *…………..
Installation Address:………..
* This information will need to be copied from the data plate, located on the inside of the appliance.
Ensure this Operation Manual is left with the customer.
NOTES
Rinnai Australia Pty Ltd
ABN 74 005 138 769 | AU45204
100 Atlantic Drive, Keysborough, Victoria 3173
P.O. Box 460, Braeside, Victoria 3195
Tel: (03) 9271 6625
Fax: (03) 9271 6622
National Help Line
Tel: 1300 555 545* Fax: 1300 555 655
Monday to Friday, 8.00 am to 5.00 pm EST.
*Cost of a local call higher from mobile or public phones.
For further information visit www.rinnai.com.au
or email [email protected]
Rinnai has a Service and Spare Parts network with personnel who are fully trained and equipped to give the best service on your Rinnai appliance. If your appliance requires service, please call our National Help Line. Rinnai recommends that this appliance be serviced every 2 years.
With our policy of continuous improvement, we reserve the right to change, or discontinue at any time, specifications or designs without notice.
Rinnai
RDV 600_700ER OM
RNZ 12902_A
SR16-305 RDV 600_700ER OM, Issue 1 – NOV 2021



















