DN460B GreenSpace Mini LED Downlight
Instructions

DN460B GreenSpace Mini LED Downlight
GreenSpace Downlight
DN460B, DN461B, DN462B, DN463B, DN470B, DN471B, DN472B, DN473B


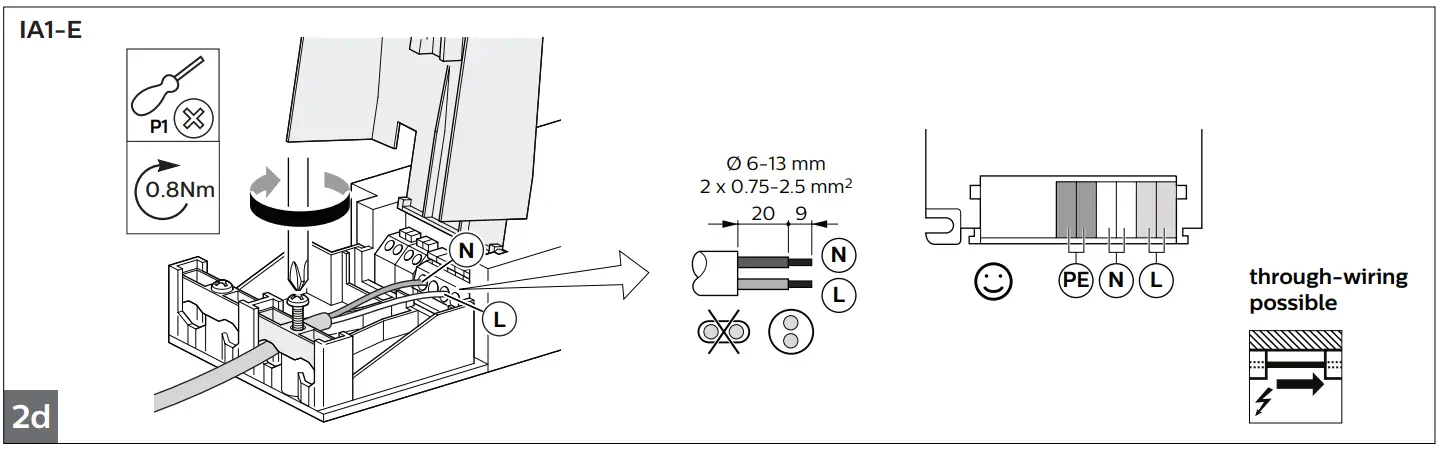
– The luminaire shall be installed by a qual wired in accordance with the latest IEEelectrical regulations or the national requirements.
Only to be installed outside arms reach as recessed ceiling luminair.
“The light source of this luminaire is not replaceable; when the light source reaches its end of life the whole luminaire shall be replaced”.
ATTENTION
OBSERVE PRECAUTIONS FOR HANDLING ELECTROSTATIC SENSITIVE DEVICES
Data subject to change without notice
Keep for future reference: www.lighting.philips.com
The luminaire shall, under no circumstance, be covered with thermal insulation matting or similar material.

Specific PSED-E to PSD-VLC-E/DEIA-VLC-E downlight versions available on request for use in central DC emergency system to meet standard EN60598-2-22.



Disconnect before servicing
Luminaire has basic insulation between Low tage supply and control conductors. The light source and/or control gear and/or the external flexible cable ontained in this luminaire shall only be replaced by the manufacturer or service agent or a similar qualified person.
Storage, installation, use, operation and maintenance of the products needs to be performed exactly according the instructions in this manual and/or other instructions as may be provided by us to guarantee safe use of the product over its entire lifetime. Failure to adhere to these instructions will invalidate your entitlement to warranty. Bolts with indication of torque strength on the drawing need to be tightened using a calibrated torque wrench. Pre-assembled bolts need to be retightened again to the required torque specification to assure maximum strength over lifetime.
This product contains a light source of energy efficiency class: see table or label.
All rights reserved. Reproduction in whole or in part is prohibited without the prior written consent of the copyright owner.
The information presented in this document does not form part of any quotation or contract, is believed to be accurate and reliable and may be changed without notice. No liability will be accepted by the publisher for any consequence of its use.
Publication thereof does not convey nor imply any license under patent- or other industrial or intellectual property rights.
Signify Holding
The Netherlands
28-05-2021
Approved


















