MeTra 99-7395B Hyundai Elantra Touring 2009-2012

Hyundai Elantra Touring 2009-2012
Visit MetraOnline.com for more detailed information about the product and up-to-date vehicle specific applications
KIT FEATURES
- ISO DIN radio provision with pocket
- ISO DDIN radio provision
- Painted scratch resistant matte black
KIT COMPONENTS

- A) Radio trim panel
- B) Cut template
- C) Radio brackets
- D) Pocket
- E) Phillips screws (qty. 4)
WIRING & ANTENNA CONNECTIONS (sold separately)
- Wiring Harness: 70-7303
- Antenna Adapter: 40-KI11
- Steering wheel control interface: ASWC-1
TOOLS REQUIRED
- Panel removal tool
- Phillips screwdriver
- Cutting tool
- Scribe tool or silver marker
Attention! Let the vehicle sit with the key out of the ignition for a few minutes before removing the factory radio. When testing the aftermarket equipment, ensure that all factory equipment is connected before cycling the key to ignition.
DASH DISASSEMBLY
- Open the pocket up top, then remove the storage liner.
- Remove (4) Phillips screws securing the pocket, then unclip and remove. (Figure A)

- Remove (1) Phillips screw securing the top of the radio trim panel. (Figure B)

- Unclip, unplug, and remove the radio trim panel. (Figure C)

- Remove (4) Phillips screws securing the radio. Slide the radio out, then unplug and remove. (Figure D)
Continue to Kit Preparation
KIT PREPARATION
Attention! The factory dash panel will no longer be able to be reused with the factory radio after the following modification has been made.
- Place the cut template over the factory dash panel. (Figure A)

- Using a scribe tool or silver marker, mark the perforated area. (Figure B)

- Remove and discard the cut template.
- Using a cutting tool, cut the marked area on the factory dash panel. (Figure C) Continue to Kit Assembly

KIT ASSEMBLY
ISO DIN radio provision
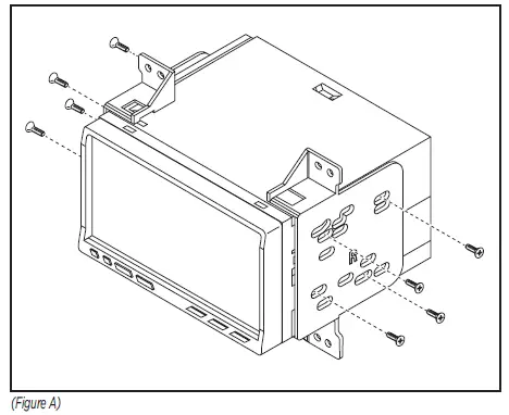
- Secure the radio brackets to the pocket using (4) Phillips screws provided. (Figure A)

- Remove the metal DIN sleeve and trim ring from the aftermarket radio.
- Slide the radio into the bracket/pocket assembly, then secure using screws supplied with the radio. (Figure B)

- Locate the factory wiring harness and antenna connector in the dash and complete all necessary connections to the radio. Metra recommends using the proper mating adapter from Metra and/or Axxess. Test the radio for proper operation.
- Slide the radio assembly into to the dash, then secure using the factory screws.
- Reassemble the dash in reverse order of disassembly to complete the installation.
ISO DDIN radio provision
- Secure the radio brackets to the radio using screws supplied with the radio. (Figure A)

- Locate the factory wiring harness and antenna connector in the dash and complete all necessary connections to the radio. Metra recommends using the proper mating adapter from Metra and/or Axxess. Test the radio for proper operation.
- Slide the radio assembly into to the dash, then secure using the factory screws.
- Reassemble the dash in reverse order of disassembly to complete the installation.
If you are having difficulties with the installation of this product, contact our Tech Support line either by phone at 386-257-1187, or email at [email protected]. Before doing so, look over the instruction booklet a second time and ensure that the installation was performed exactly as the instruction booklet is stated. Have the vehicle apart and ready to perform troubleshooting steps before contacting Metra/Axxess Tech Support.
KNOWLEDGE IS POWER
Enhance your installation and fabrication skills by enrolling in the most recognized and respected mobile electronics school in our industry.
Log onto www.installerinstitute.com or call
800-354-6782 for more information and take steps toward a better tomorrow.
Metra recommends MECP certified technicians
Hyundai Elantra Touring 2009-2012
Visit MetraOnline.com for more detailed information about the product and up-to-date vehicle specific applications.

- ISO DDIN radio provision
- ISO DIN radio provision with pocket
- Painted scratch resistant matte black
KIT COMPONENTS

- Radio trim panel
- Cut template
- Radio brackets
- Pocket (not shown)
- Phillips screws (4)
WIRING & ANTENNA CONNECTIONS (sold separately)
- Wiring Harness: 70-7303
- Antenna Adapter: 40-K11
- Steering wheel control interface: ASWC-1
HARDWARE INCLUDED

Metra. The World’s best kits.® MetraOnline.com
© COPYRIGHT 2019 METRA ELECTRONICS CORPORATION REV. 12/17/19




























